Trechos do Manual do motorista

Nas guias abaixo, você encontrará trechos do Manual do motorista do veículo que podem ser úteis para o encarroçador. 

NOTA! As informações podem variar dependendo da especificação do veículo.

O manual do motorista também está disponível para dispositivos Android e iOS.

Clique no link abaixo em seu dispositivo para baixar o manual do motorista

Arrancada em subida

IMPORTANTE!

Não use a arrancada em subida em condições invernais devido ao risco de derrapagem do veículo com as rodas travadas.

Use a função de arrancada em subida para facilitar as arrancadas em subidas.

Para usar a arrancada em subida:

  • Ligue o veículo
  • Pressione o interruptor, que acende quando a arrancada em subida é ativada.
  • Agora, ao pisar no pedal do freio, você ouvirá um clique. Depois disso, a pressão do freio será mantida para que você possa soltar o pedal do freio. Quanto mais você pressionar o pedal do freio, a arrancada em subida será aplicada com mais intensidade.

A arrancada em subida está disponível até que você desligue a função usando o interruptor. Se a função estava ativada no desligamento do veículo, a arrancada em subida será ativada na próxima vez em que o veículo for ligado.

NOTA!

A arrancada em subida não será ativada se a pressão do freio estiver muito baixa ou se o ABS estava ativo no fim de um acionamento do freio.

Interruptor da arrancada em subida

ADVERTÊNCIA!

Sempre acione o freio de mão antes de sair da área do motorista.

A arrancada em subida será liberada após alguns segundos se você soltar os pedais completamente; o veículo poderá começar a se mover. Um sinal de advertência será ouvido, e um texto de advertência será exibido no visor antes da liberação da arrancada em subida.

A arrancada em subida é liberada diretamente quando você engata uma marcha, solta os freios e acelera um pouco.

Frenagem de emergência automática

AEB é um sistema de frenagem de emergência avançada que, ao usar uma câmera de visão frontal e um sensor de distância, pode reduzir as consequências de acidentes com qualquer veículo à frente.

ADVERTÊNCIA!

A AEB é apenas um sistema auxiliar. A AEB não realiza um auto-ajuste para as condições de direção ou clima. O motorista é sempre responsável por dirigir o veículo com segurança.
Manipular o sinal de velocidade do veículo pode causar mau funcionamento do AEB ou ser ativado incorretamente. 

NOTA!

A câmera de visão frontal deve ser calibrada após a substituição do para-brisa.

Advertência de colisão

Quando a AEB detecta um risco de colisão, o sistema é ativado em três etapas:

  1. Uma advertência na cor vermelha com sinal acústico é exibida no painel de instrumentos.
  2. Se o motorista não reagir e o risco permanecer, a AEB freará levemente o veículo.
  3. Se nenhuma resposta adicional for informada e o risco ainda permanecer, a AEB freará o veículo com força total.

O motorista sempre poderá cancelar a advertência ou a frenagem:

  • Pressionando o interruptor da AEB no painel de instrumentos
  • Pressionando o pedal do acelerador de modo nítido e rápido
  • Pressionando o pedal do acelerador na posição de ponto morto

Em uma etapa inicial, o motorista também pode cancelar a advertência:

  • Pressionando o pedal do freio
  • Ativando as setas

O motorista sempre pode assumir o controle do acionamento do freio pressionando o pedal do freio. Isso cancela a advertência e a frenagem automática. Quanto mais grave for a situação, mais forte o pedal do freio deverá ser pressionado.

Se o controle de velocidade adaptável estiver ativado, ele poderá emitir uma
advertência de colisão e tentar remediar a situação antes da advertência da AEB.

Após o veículo frear com força total e ser parado, os freios deterão o veículo por alguns segundos para evitar que se mova. Os freios serão liberados se o motorista pressionar o pedal do acelerador ou do freio.

Símbolo do risco de colisão

Ativação e disponibilidade

A AEB é ativada automaticamente quando a tensão é ativada. A luz acende em verde.

A AEB pode ser desativada com o interruptor. A luz no interruptor acende em amarelo. O interruptor é provido de mola, e o mesmo interruptor redefine a AEB.

A AEB estará disponível quando:

  • A velocidade do veículo exceder 15 km/h

A AEB pode ser limitada ou desativada quando:

  • O sensor de distância está bloqueado ou com defeito
  • A câmera está bloqueada ou com defeito
  • Há uma falha no sistema de freios do veículo ou do reboque
  • A definição da suspensão a ar do veículo está muito longe da
    posição de direção normal
  • O veículo é dirigido no escuro

Interruptor para AEB, frenagem de emergência avançada

Quando a AEB está limitada, um símbolo amarelo é exibido com uma mensagem no painel de instrumentos. 

As seguintes mensagens podem ser exibidas:

Mau funcionamento do sistema

  • A AEB está desativada devido a uma falha no sensor de distância.

Funcionalidade reduzida

  • A AEB está limitada, mas ainda parcialmente ativa. A AEB pode não frear ou informar uma colisão a tempo. 

Símbolo para AEB limitada

Quando o sensor de distância ou a câmera estão bloqueados (por exemplo, por sujeira, neve ou gelo), o respectivo símbolo é mostrado junto com uma mensagem no painel de instrumentos.

Se o problema não for corrigido, a função de AEB será desativada ou se tornará limitada.

Se a câmera estiver bloqueada, poderá ser o suficiente para ativar os limpadores do para-brisa. Certifique-se de mantê-la limpa, sem sujeira, neve e gelo.

  1. Sensor de distância bloqueado
  2. Câmera bloqueada

ADVERTÊNCIA!

A AEB é apenas um sistema auxiliar e pode, em determinadas condições de tráfego, ter problemas para identificar veículos ou localizá-los corretamente. O AEB pode perder um risco de colisão ou ser ativado sem qualquer risco de colisão.

Condições de tráfego diferentes

Dentro ou fora de curvas, talvez seja difícil para a AEB identificar a estrada à frente. Portanto, a AEB pode não avisar sobre veículos na estrada ou avisar incorretamente.

Curvas

Em saídas ou acessos e quando os veículos se deslocam no acostamento, talvez seja difícil para a AEB identificar veículos à frente.

Em saídas ou acessos escorregadios e no acostamento

Um veículo que muda para sua faixa na frente do seu veículo não pode ser identificado pela AEB até entrar na zona de identificação. 

Troca de faixa

Instrumentos de informações do veículo

Painel de instrumentos

  1. Velocímetro
  2. Seta
  3. Visor
  4. Símbolos gerais de advertência e de indicadores
  5. Tacômetro
  6. Medidor do nível de combustível
  7. Luzes indicadoras e símbolos de advertência
  8. Indicador de temperatura do líquido de arrefecimento do motor
  9. Exibido à direita, mostra o nível do agente redutor, a temperatura externa e o relógio.

Tacômetro

O tacômetro mostra a velocidade de rotação do motor em revoluções por minuto (rpm).

O medidor tem quatro campos:

  • Branco, 0-2.000 rpm e 2.200-2.400 rpm.
  • Azul, 2.000-2.400 rpm. Aqui, o freio auxiliar do motor é
    mais potente.
  • Vermelho, acima de 2.400 rpm. Quando a rotação do motor está no campo vermelho, há risco de danos no motor.

Painel de instrumentos

Visor e símbolos

Mais informações sobre o visor, os símbolos gerais de advertência e indicação e os símbolos especiais da carroceria podem ser encontradas nos seguintes documentos: 

Basculamento da cabina

ADVERTÊNCIA!

A válvula de bombeamento deve estar na posição de abaixamento ao dirigir. Do contrário, o sistema hidráulico poderá bombear a cabina e causar danos.

Antes do basculamento da cabina, você deve desligar o motor, acionar o freio de mão e colocar a alavanca de câmbio no ponto morto.

Não trabalhe embaixo da cabina quando ela estiver na posição intermediária. Sempre incline totalmente a cabina.

Não vá para a frente ou para trás da cabina durante o basculamento.

O veículo deve estar nivelado com o chão durante o basculamento da cabina. Jamais incline a cabina se o veículo estiver em um declive com inclinação superior a 10%.

Dispositivo de basculamento da cabina

Quando a cabina é abaixada de maneira correta, ela é bloqueada por duas travas mecânicas que são abertas hidraulicamente durante o basculamento.   

Basculamento da cabina (alavanca)

IMPORTANTE!

Os painéis laterais do painel da grade frontal devem estar abertos durante o basculamento da cabina.

  1. Aplique o freio de mão.
  2. Coloque a alavanca de câmbio no ponto morto.
  3. Remova da cabina todos os objetos materiais soltos e equipamentos pesados.
  4. Feche as portas.
  5. Coloque a válvula de bombeamento na posição de basculamento. Use o adaptador ou a alavanca.
  6. Encaixe o adaptador no pino da bomba. Posicione a alavanca no adaptador.
  7. Bombeie usando a alavanca, e a trava da cabina será aberta automaticamente.
  8. Bombeie até que a cabina incline para frente pelo próprio peso. Continue bombeando até que uma contrapressão seja sentida na alavanca da bomba e a cabina tenha atingido o ângulo de abertura total.
  1. Bomba de basculamento da cabina
  2. Válvula de bombeamento

Configuração da válvula de bombeamento para elevar ou abaixar a cabina. A ilustração superior mostra a posição da válvula ao realizar o basculamento. A ilustração inferior mostra a posição da válvula ao abaixar. Use o adaptador ou a alavanca para colocar a válvula na posição correta.

Incline a cabina de volta (alavanca)

ADVERTÊNCIA!

Há risco de ferimentos por esmagamento ao abaixar a cabina. A cabina cai livremente na última etapa do abaixamento de volta à posição.

  1. Feche as portas.
  2. Coloque a válvula de bombeamento na posição para inclinar a cabina de volta.
  3. Bombeie a cabina com a alavanca até a cabina descer
    de volta para a zona de movimento da posição de condução.

Deixe a válvula de bombeamento na posição de abaixamento.

Basculamento da cabina (eletronicamente)

IMPORTANTE!

Os painéis laterais do painel da grade frontal devem estar abertos durante o basculamento da cabina.

  1. Aplique o freio de mão.
  2. Coloque a alavanca de câmbio no ponto morto.
  3. Pressione o interruptor de basculamento da cabina.
  4. Remova da cabina todos os objetos materiais soltos e equipamentos pesados.
  5. Feche as portas.
  6. Abra o painel da grade frontal superior e os painéis laterais do painel da grade frontal. 
  7. Retire o controle remoto de basculamento da cabina. O controle remoto está localizado sob o painel da grade frontal. Mantenha pressionado o botão de ativação na parte de trás do controle remoto, pressione o botão de basculamento e os mantenha pressionados até que a cabina seja inclinada para frente pelo próprio peso. Continue pressionando os botões de ativação e basculamento até que a cabina atinja o ângulo de abertura total.  

Interruptor de basculamento da cabina

NOTA!

Certifique-se de que nenhuma pessoa sem autorização tenha acesso ao controle remoto para basculamento da cabina.

Incline a cabina de volta (eletronicamente)

ADVERTÊNCIA!

Há risco de ferimentos por esmagamento ao abaixar a cabina. A cabina cai livremente na última etapa do abaixamento de volta à posição.

Controle remoto para basculamento da cabina

  1. Feche as portas.
  2. Retire o controle remoto de basculamento da cabina. O controle remoto está localizado sob o painel da grade frontal. Mantenha pressionado o botão de ativação na parte de trás do controle remoto, pressione o botão de abaixamento e os mantenha pressionados até que a cabina chegue à zona de movimento da posição de condução.
  3. Restaure o interruptor de basculamento da cabina.
  4. Feche os painéis laterais do painel da grade frontal e o painel da grade frontal superior.

Troca de roda

Advertência!

Desligue a tensão e o interruptor geral da bateria antes de trocar as rodas no eixo de apoio.

Jamais trabalhe sob um veículo que está elevado apenas por um macaco. Para obter o máximo de segurança ao trabalhar sob um veículo içado, o chassi e as suspensões de eixo móveis devem ser presos para que não caiam. Há um grande risco de lesão por esmagamento.

Nunca entre embaixo de um veículo suspenso no ar que não esteja totalmente preso contra queda em caso de haver uma mudança de pressão nas câmaras de ar. Há um grande risco de lesão por esmagamento.

Remoção

1. Engate uma marcha baixa e gire a chave para a posição travada. Coloque o seletor do modo de condução no ponto morto da caixa de câmbio automática.

Advertência!

Você precisa calçar as rodas do veículo para evitar que ele se mova durante o trabalho.

2. Calce a frente e atrás das rodas que permanecem no chão.

3. Libere o freio de mão da roda que será trocada para garantir que a roda e o tambor de freio toquem no cubo da roda durante o aperto.

4. Marque a posição do aro em relação ao cubo da roda.

5. Desaperte as porcas da roda sem removê-las.

6. Levante o veículo.

 

Advertência!

Certifique-se de que o macaco esteja firme em piso nivelado.

IMPORTANTE!

Posicione o macaco apenas nos pontos de levantamento indicados. Colocá-lo em outra posição pode causar graves danos ao veículo.

7. Remova as porcas da roda e a roda.

IMPORTANTE!

Verifique e aperte as porcas das rodas a 600 Nm após percorrer aprox. 100 km.

Calce a frente e atrás das rodas que permanecem no chão.

Marque a posição do aro em relação ao cubo da roda.

Instalação

1. Limpe cuidadosamente as superfícies de contato. Use uma escova de aço.
Há anéis espaçadores em alguns aros. Limpe-os também.

NOTA!

Camadas espessas de tinta, ferrugem e sujeira podem fazer com que as porcas da roda se soltem e que os orifícios para parafusos nos aros e o tambor de freio fiquem ovalados.

2. Limpe as roscas dos parafusos da roda.

NOTA!

Verifique se o freio de mão está liberado no eixo em que você está trabalhando.

3. Reinstale a roda na mesma posição de antes da remoção. Verifique a marcação.

4. Aperte as porcas da roda na sequência de aperto correta, como mostrado na ilustração. Nunca use uma apertadeira do tipo volante. As porcas devem ser apertadas com torque de 600 Nm.

IMPORTANTE!

Uma oficina Scania deve apertar as porcas da roda com o torque correto. Um torque muito alto ou baixo pode fazer com que a roda se solte ou que o tambor de freio fique ovalado.

5. Abaixe o veículo e remova os calços de roda.

Peças que devem ser limpas antes da instalação

Sequência de aperto para as porcas da roda

A Scania recomenda desenhar uma linha ao redor dos prisioneiros da roda e porcas da roda para detectar quaisquer desvios com mais facilidade. Use uma caneta marcadora. Se uma porca da roda tiver um desvio, remova-a completamente e a reinstale.

IMPORTANTE!

Verifique e aperte as porcas das rodas a 600 Nm depois de dirigir por cerca de 100 km.

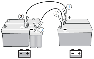
Partida auxiliar

ADVERTÊNCIA!

Não fique perto das baterias ao usar cabos de partida. Uma bateria pode explodir, causando danos enormes.

Não conecte as baterias em um ambiente onde há gases ou fluidos inflamáveis, como gasolina e etanol.

Siga as instruções à risca para evitar ferimentos ou danos aos materiais.

IMPORTANTE!

Os painéis laterais do painel da grade frontal devem estar abertos durante o basculamento da cabina.

Se as baterias do veículo estiverem descarregadas e não tiverem corrente suficiente para dar a partida no motor, você poderá conectá-las a outras baterias.

Os dois sistemas precisam ter a mesma tensão da bateria, que é de 24 V.

Use cabos de partida espessos (pelo menos 25 mm²) com abraçadeiras isoladas.   

Preparações:

  • Ligue o motor do veículo que tem as baterias carregadas.

Prossiga da seguinte maneira (opção 1):

  1. Conecte o polo positivo (+) da bateria auxiliar no veículo com baixa tensão da bateria.
  2. Conecte o polo positivo (+) da bateria no veículo com a bateria totalmente carregada.
  3. Conecte o polo negativo (-) da bateria no veículo com a bateria totalmente carregada.
  4. Conecte o polo negativo (-) da bateria auxiliar no veículo com baixa tensão da bateria. Esse último cabo pode gerar faíscas quando conectado.
  5. Ligue o motor do veículo com baixa tensão da bateria. Não fique perto das baterias.
  6. Quando o motor for ligado, desconecte primeiro o cabo do polo negativo (-) da bateria no veículo com baixa tensão da bateria e, depois, os outros cabos.
  7. Se o motor não ligar. Desconecte os cabos de acordo com a etapa 6 e repita todos os pontos, mas com uma exceção. Na etapa 1, conecte o polo positivo (+) da bateria na bateria interna do veículo com baixa tensão da bateria.

Prossiga da seguinte maneira quando o veículo estiver dando assistência de partida:

  1. Conecte o polo positivo (+) da bateria no veículo com baixa
    tensão da bateria.
  2. Conecte o polo positivo (+) da bateria auxiliar no veículo com a bateria totalmente carregada.
  3. Conecte o polo negativo (-) da bateria auxiliar no veículo com a bateria totalmente carregada.
  4. Conecte o polo negativo (-) da bateria no veículo com baixa tensão da bateria. Esse último cabo pode gerar faíscas quando conectado.
  5. Ligue o motor do veículo com baixa tensão da bateria. Não fique perto das baterias.
  6. Quando o motor for ligado, desconecte primeiro o cabo do polo negativo (-) da bateria no veículo com baixa tensão da bateria e, depois, os outros cabos.

NOTA!

Se a tinta de proteção na estrutura for danificada, ela deverá ser retocada imediatamente.

IMPORTANTE!

Recomendação para quando for difícil dar a partida no motor:
O motor de partida é bloqueado automaticamente após 35 segundos. 
Opere o motor de partida por, no máximo, 30 segundos. Se o motor não ligar na primeira vez, gire a chave de partida de volta para a posição inicial e aguarde aproximadamente 30 segundos para permitir a recuperação do motor de partida.
Se o motor não ligar após duas tentativas, o motor de partida deverá descansar por, pelo menos, cinco minutos antes que duas novas tentativas sejam feitas. Verifique se há algo mais defeituoso, por exemplo, um defeito no sistema de combustível. 

Kit hidráulico

Ajuste da pressão no sistema hidráulico

A pressão no sistema hidráulico pode ser ajustada em 150 ou 220 bar com duas posições fixas. Verifique a pressão necessária para o equipamento hidráulico que será conectado ao sistema e ajuste a pressão com o botão. O botão clica nas posições finais e não pode ser ajustado em uma posição intermediária.

IMPORTANTE!

Sempre verifique se a pressão definida do sistema não excede a pressão máxima indicada no equipamento hidráulico antes da conexão para evitar danos ao equipamento.

Defina a pressão no sistema hidráulico usando o botão.

Tomada de força EG

A tomada de força EG acionada pela caixa de câmbio transfere a potência de uma caixa de câmbio para o equipamento externo. Ela é instalada na caixa de câmbio e acionada pelo eixo de transmissão dessa caixa e normalmente não está engatada. Antes de ativar a tomada de força EG, a chave de partida deve estar na posição de condução, e a pressão do ar, acima de 5 bar.

O encarroçador pode selecionar outros requisitos a serem aplicados.

IMPORTANTE!

Após dirigir, deixe o motor em marcha lenta por aproximadamente um minuto antes de desligá-lo. Caso contrário, haverá risco de danos ao turbocompressor.

O veículo pode ser equipado com várias tomadas de força.

Você pode controlar a rotação do motor para a tomada de força EG pressionando + ou – no interruptor do controle de velocidade.

IMPORTANTE!

Quando você usa a tomada de força EG de alta velocidade, o veículo deve estar o mais nivelado possível. Ele só pode ficar em um declive por curtos períodos de operação.

No caso de caixas de câmbio com engrenagem divisora, duas velocidades diferentes podem ser fornecidas à tomada de força com a mesma rotação do motor, dependendo se a divisão baixa ou alta estiver engatada quando a caixa de câmbio estiver no ponto morto.  

O modo de divisão é trocado manualmente com a alavanca do freio auxiliar movendo a alavanca em sua direção ou na direção oposta. 

Quando a tomada de força EG está engatada, a troca de engrenagens é bloqueada ao dirigir. No entanto, você pode trocar a engrenagem quando estiver parado. Se o veículo for dirigido com uma tomada de força EG ativada, uma mensagem será exibida no painel de instrumentos.

Engate

IMPORTANTE!

Somente engate e desengate a tomada de força quando ela estiver desarmada. Troque de marcha somente quando a tomada de força estiver desarmada; caso contrário, a caixa de câmbio poderá ser danificada.

  1. Certifique-se de que o veículo esteja parado.
  2. Pressione o pedal da embreagem se o motor estiver em funcionamento ou engate o ponto morto.
  3. Pressione o interruptor.
  4. Aguarde até que o símbolo da tomada de força apareça no painel de instrumentos.
  5. Solte lentamente a embreagem (caixa de câmbio manual) se o motor estiver funcionando.

NOTA!

Se nenhum símbolo for exibido após 10 segundos, solte lentamente a embreagem para que as engrenagens possam ir para a posição correta. Não pressione o interruptor novamente.

IMPORTANTE!

Se houver ruído anormal da caixa de câmbio automática, pressione imediatamente o interruptor. A tomada de força é desengatada automaticamente.

NOTA!

Se o símbolo da tomada de força (caixa de câmbio automática) não acender no painel de instrumentos após 20 a 30 segundos, repita as etapas 3 e 4.

Desengate

  1. Pressione o pedal da embreagem se o motor estiver em funcionamento ou engate o ponto morto.
  2. Pressione o interruptor da tomada de força.
  3. Aguarde até que o símbolo da tomada de força seja apagado.
  4. Solte lentamente a embreagem (caixa de câmbio manual) se o motor estiver funcionando.

Interruptor da tomada de força EG

Tomada de força EK

A tomada de força é uma ponta de eixo externa para a transferência de potência do motor para acessórios externos. A tomada de força EK é instalada entre o motor e a caixa de câmbio e é acionada pelo motor. Normalmente, a tomada de força não está engatada.

Você pode controlar a rotação do motor para a tomada de força EK pressionando + ou – no interruptor do controle de velocidade.

IMPORTANTE!

O motor precisa ser desligado antes de engatar a tomada de força.

Engate

  1. Desligue o motor.
  2. Coloque a engrenagem no ponto morto.
  3. Coloque o interruptor na posição de condução.
  4. Ative o interruptor.
  5. Ligue o motor.

Desengate

  1. Certifique-se de que a tomada de força não esteja carregada.
  2. Desative o interruptor.

Interruptor da tomada de força EK

Tomada de força ED

A tomada de força transfere potência do motor para acessórios externos. A tomada de força ED é acionada diretamente pelas engrenagens de distribuição e gira durante a partida do motor. O interruptor ativa a hidráulica e fornece pressão ao sistema.

O encarroçador pode selecionar outros requisitos a serem aplicados.

Você pode controlar a rotação do motor para a tomada de força ED pressionando + ou – no interruptor do controle de velocidade.

Engate

  • Ative o interruptor.

Desengate

  • Desative o interruptor.

Interruptor da tomada de força ED

Interruptor EXT

O interruptor EXT é uma função de segurança que permite controlar algumas funções do veículo pelo lado de fora dele. As funções que podem ser controladas dependem do equipamento do veículo e da lógica criada no sistema da carroceria do veículo. 

Quando você pressiona o interruptor EXT, o símbolo EXT é aceso no painel de instrumentos.

O interruptor EXT. Ative o interruptor quando precisar controlar algumas funções do veículo de fora do veículo.