برگزیده‌هایی از راهنمای راننده

در زبانه‌های زیر، می‌توانید گزیده‌هایی را از راهنمای راننده خودرو بیابید که می‌تواند برای کاربری‌ساز مفید واقع گردد. 

توجه! اطلاعات ممکن است با توجه به مشخصات خودرو متفاوت باشد.

راهنمای راننده برای تلفن‌های هوشمند Android و iOS نیز موجود است.

برای دانلود راهنمای راننده روی لینک زیر در دستگاه خود کلیک کنید

ترمز تپه

مهم!

با توجه به خطر لغزیدن خودرو در اثر قفل شدن چرخ‌ها، از ترمز تپه در شرایط زمستانی جاده استفاده نکنید.

از ترمز تپه برای تسهیل شروع حرکت در سربالایی استفاده کنید.

برای استفاده از ترمز تپه:

  • جریان برق خودرو را روشن کنید
  • کلید را فشار دهید؛ با فعال شدن ترمز تپه، کلید روشن می‌شود.
  • اکنون اگر پدال ترمز را فشار دهید، یک صدای تق شنیده می‌شود و پس از آن فشار ترمز حفظ می‌شود تا بتوانید پدال ترمز را رها کنید. هر چه پدال ترمز را محکم‌تر فشار دهید، ترمز تپه نیز محکم‌تر درگیر می‌شود.

ترمز تپه تا زمانی که عملکرد را با استفاده از کلید آن خاموش کنید در دسترس است. اگر این عملکرد هنگام خاموش شدن خودرو فعال شده باشد، در نوبت بعدی که خودرو روشن می‌شود ترمز تپه فعال خواهد شد.

توجه!

اگر فشار ترمز بیش از حد پایین باشد یا اگر ABS در پایان ترمزگیری فعال بوده باشد، ترمز تپه فعال نمی‌شود.

کلید ترمز تپه

هشدار!

همیشه پیش از ترک کابین راننده ترمزدستی را بکشید.

اگر پدال‌ها را به طور کامل رها کنید، ترمز تپه پس از چند ثانیه آزاد می‌شود و خودرو می‌تواند حرکت کند. پیش از آزاد شدن ترمز تپه، یک بوق هشدار شنیده می‌شود و یک متن هشدار در نمایشگر به نمایش درمی‌آید.

اگر دنده‌ای را درگیر کنید، ترمزها را رها نمایید و کمی گاز بدهید، ترمز تپه به طور مستقیم آزاد می‌شود.

ترمز اضطراری اتوماتیک

AEB یک سیستم ترمز اضطراری پیشرفته است که با استفاده از یک دوربین جلو و یک سنسور تعیین فاصله می‌تواند عواقب تصادف با خودروهای جلو را کاهش دهد.

هشدار!

AEB فقط یک ابزار کمکی است. AEB خود را با شرایط رانندگی یا آب و هوا تطبیق نمی‌دهد.‬ راننده همواره مسئولیت دارد به شیوه‌ای ایمن با خودرو رانندگی کند.‬
دستکاری سیگنال سرعت خودرو ممکن است باعث نقص عملکرد یا فعال‌سازی نادرست AEB شود. 

توجه!

پس از تعویض شیشه جلو، دوربین جلو باید کالیبره شود.

اخطار برخورد با خودروی جلویی

زمانی‌که AEB خطر برخورد با خودروی جلویی را تشخیص می‌دهد، سیستم در سه مرحله فعال می‌شود:

  1. یک هشدار قرمزرنگ همراه با سیگنال صوتی در مجموعه آمپرها به نمایش درمی‌آید.
  2. اگر راننده واکنشی نشان ندهد و خطر همچنان پابرجا باشد، AEB به صورت ملایم ترمز می‌گیرد.
  3. اگر هیچ واکنش دیگری نشان داده نشود و خطر همچنان وجود داشته باشد، AEB با قدرت تمام ترمزگیری خواهد کرد.

راننده همیشه می‌تواند هشدار یا ترمزگیری را با انجام کارهای زیر لغو کند:

  • فشردن کلید AEB در داشبورد
  • فشردن سریع و یک‌باره پدال گاز
  • فشردن پدال گاز تا وضعیت دنده معکوس

اگر راننده زود عمل کند، می‌تواند هشدار را با انجام این کارها نیز لغو کند:

  • فشردن پدال ترمز
  • فعال کردن چراغ‌های راهنما

راننده همیشه می‌تواند با فشردن پدال ترمز، کنترل ترمزگیری را به دست بگیرد. با این کار، هشدار و ترمزگیری اتوماتیک لغو می‌شود. هر چه شرایط بحرانی‌تر باشد، پدال ترمز باید محکم‌تر فشرده شود.

اگر سیستم کنترل سرعت تطبیقی فعال باشد، می‌تواند
اخطار برخورد با خودروی جلویی بدهد و اوضاع را پیش از اعلام هشدار AEB آرام‌تر کند.

پس از اینکه خودرو با تمام قدرت ترمز گرفت و متوقف شد، ترمزها خودرو را تا چند ثانیه نگه می‌دارند تا از حرکت آن جلوگیری شود. اگر راننده پدال گاز یا ترمز را فشار دهد، ترمزها آزاد می‌شود.

نماد خطر برخورد با خودروی جلویی

فعال‌سازی و قابلیت دسترسی

هنگامی‌که ولتاژ روشن می‌شود، AEB به‌صورت اتوماتیک فعال می‌گردد.‬ چراغ داخل کلید به رنگ سبز روشن می‌شود.

غیرفعال‌سازی AEB با استفاده از کلید امکان‌پذیر است. چراغ داخل کلید به رنگ زرد روشن می‌شود. این کلید فنری است و همین کلید، AEB را بازنشانی می‌کند.

AEB در شرایط زیر در دسترس است:

  • اگر سرعت خودرو بیش از 15 کیلومتر در ساعت باشد

محدود یا غیرفعال کردن AEB در شرایط زیر امکان‌پذیر است:

  • اگر سنسور تعیین فاصله مسدود یا معیوب باشد
  • اگر دوربین مسدود یا معیوب باشد
  • اگر سیستم ترمز خودرو یا تریلر دچار نقص شده باشد
  • اگر تعليق بادی خودرو بیش از حد خارج از وضعیت رانندگی نرمال
    تنظیم شده باشد
  • اگر خودرو در تاریکی رانده شود

کلید AEB، ترمز اضطراری پیشرفته

زمانی‌که AEB محدود می‌شود، یک نماد زردرنگ به همراه یک پیام در مجموعه آمپرها به نمایش درمی‌آید. 

پیام‌های زیر ممکن است نمایش داده شود:

نقص در عملکرد سیستم

  • به علت بروز نقص در سنسور تعیین فاصله، AEB غیرفعال شده است.

کاهش قابلیت عملکرد

  • AEB محدود شده و هنوز تا حدودی فعال است. ممکن است AEB به موقع ترمز نگیرد یا هشدار برخورد ندهد. 

نماد AEB محدود

اگر سنسور تعیین فاصله یا دوربین در اثر موانعی چون کثیفی، برف یا یخ مسدود شده باشد، نماد مربوطه به همراه یک پیام در مجموعه آمپرها به نمایش درمی‌آید.

اگر مشکل رفع نشود، عملکرد AEB غیرفعال یا محدود خواهد شد.

اگر دوربین مسدود شده باشد، ممکن است فعال‌سازی برف پاک‌کن‌های شیشه جلو کافی باشد. دقت کنید آن را در برابر آلودگی، برف و یخ تمیز نگه دارید.

  1. سنسور تعیین فاصله مسدود شده
  2. دوربین مسدود شده

هشدار!

AEB فقط یک ابزار کمکی است و امکان دارد در برخی شرایط ترافیکی نتواند به راحتی خودروها را تشخیص دهد یا موقعیت آنها را به شکل صحیح پیدا کند. AEB ممکن است در مواقعی خطر برخورد با خودروی جلویی را تشخیص ندهد یا بدون اینکه چنین خطری وجود داشته باشد فعال شود.

شرایط مختلف ترافیکی

در مسیر ورود به پیچ و خم جاده یا خروج از آن، ممکن است تشخیص جاده پیش رو برای AEB دشوار باشد. بنابراین، ممکن است AEB نتواند نسبت به خودروهای پیش رو هشدار دهد یا به اشتباه نسبت به خودروهای کنار جاده هشدار بدهد.

پیچ و خم جاده

در خروجی یا ورودی جاده‌ها و در مواقعی که خودروها بر روی شانه خاکی جاده حرکت می‌کنند، ممکن است تشخیص خودروهای پیش رو برای AEB دشوار باشد.

در خروجی یا ورودی جاده و شانه خاکی جاده

اگر خودرویی به خط سیر شما تغییر مسیر بدهد و درست جلوی خودروی شما قرار گیرد، تا زمانی که وارد محدوده تشخیص نشده باشد AEB نمی‌تواند آن را تشخیص دهد. 

تغییر خط سیر

نمایشگرهای اطلاعات خودرو

مجموعه آمپرها

  1. سرعت‌سنج
  2. چراغ راهنما
  3. نمایشگر
  4. نمادهای هشدار کلی و نمادهای نشانگر
  5. دورسنج
  6. نشانگر میزان سوخت
  7. چراغ‌های نشانگر و نمادهای هشدار
  8. نشانگر دمای مایع خنک‌کننده موتور
  9. نمایشگر سمت راست، سطح احیاکننده، دمای بیرون و ساعت را نشان می‌دهد.

دورسنج

دورسنج، سرعت چرخشی موتور را بر حسب دور در دقیقه، rpm، نمایش می‌دهد.

این نشانگر دارای 4 قسمت است:

  • سفید، ‎‎0-2,000‎ دور در دقیقه و ‎‎2,200-2,400‎ دور در دقیقه.
  • آبی، ‎‎‎2,000-2,400‎ دور در دقیقه. در اینجا، ترمز کمکی موتور
    بیشترین قدرت را دارد.
  • قرمز، بالاتر از 2,400 دور در دقیقه. اگر دور موتور در قسمت قرمزرنگ قرار گیرد، خطر بروز آسیب به موتور وجود دارد.

مجموعه آمپرها

نحوه نمایش و نمادها

اطلاعات بیشتر درباره نحوه نمایش، نمادهای نشانگر و هشدار کلی و نمادهای خاص کاربری در مدارک زیر موجود است: 

بالا بردن کابین

هشدار!

هنگام رانندگی، سوپاپ تنظیم پمپ باید در وضعیت پایین قرار گیرد. در غیر این‌صورت، ممکن است سیستم هیدرولیک باعث بالا رفتن کابین و بروز آسیب شود.

پیش از بالا بردن کابین، باید موتور را خاموش کنید، ترمزدستی را درگیر نمایید و اهرم تعویض دنده را در وضعیت خلاص قرار دهید.

زمانی که کابین در موقعیت میانی قرار دارد در زیر آن کار نکنید. همیشه کابین را به طور کامل بالا ببرید.

در حین بالا بردن کابین، در جلو یا پشت آن قرار نگیرید.

خودرو باید در زمان بالا بردن کابین در حالت تراز قرار داشته باشد. اگر خودرو بر روی تپه‌ای ایستاده است که شیب آن بیشتر از 10 درصد است، هرگز کابین را بالا نبرید.

دستگاه بالابر کابین

زمانی‌که کابین به درستی پایین می‌آید، با 2 قفل مکانیکی قفل می‌شود که هنگام بالا بردن کابین به‌صورت هیدرولیکی باز می‌شوند.   

بالا بردن کابین (اهرم)

مهم!

هنگام بالا بردن کابین، صفحات جانبی جلوپنجره باید باز باشد.

  1. ترمزدستی را درگیر کنید.
  2. اهرم تعویض دنده را در وضعیت خلاص قرار دهید.
  3. تمام اجسام شل یا آزاد و تجهیزات سنگین را از کابین بیرون ببرید.
  4. درها را ببندید.
  5. سوپاپ تنظیم پمپ را در وضعیت بالا بردن قرار دهید. از آداپتور یا اهرم استفاده کنید.
  6. آداپتور را روی پین پمپ ببندید. اهرم را با آداپتور مونتاژ کنید.
  7. با استفاده از اهرم تلمبه بزنید؛ در این حالت، قفل کابین به‌صورت اتوماتیک باز می‌شود.
  8. آن قدر تلمبه بزنید که کابین به سبب وزن خود به جلو خم شود. همچنان به تلمبه زدن ادامه دهید تا فشار متقابل را در اهرم پمپ احساس کنید و کابین به زاویه کاملاً باز برسد.
  1. پمپ بالابر کابین
  2. سوپاپ تنظیم پمپ

‏‫تنظیم سوپاپ تنظیم پمپ برای بالا بردن یا پایین آوردن کابین.‬ ‏‫تصویر بالایی، موقعیت سوپاپ را هنگام بالا بردن کابین نشان می‌دهد. ‏‫تصویر پایینی، موقعیت سوپاپ را هنگام پایین آوردن کابین نشان می‌دهد.‬ ‏‫از اهرم یا آداپتور برای تنظیم سوپاپ تنظیم پمپ در موقعیت صحیح استفاده کنید.‬

پایین آوردن کابین (اهرم)

هشدار!

خطر له‌شدگی هنگام پایین آوردن کابین وجود دارد. کابین در آخرین مرحله پایین آمدن که دوباره به وضعیت اولیه خود برمی‌گردد، آزادانه سقوط می‌کند.

  1. درها را ببندید.
  2. سوپاپ تنظیم پمپ را در وضعیت پایین آوردن کابین قرار دهید.
  3. با اهرم تلمبه بزنید و کابین را برگردانید تا پایین بیاید و
    به محدوده حرکت در وضعیت رانندگی برسد.

سوپاپ تنظیم پمپ را در وضعیت پایین آوردن باقی بگذارید.

بالا بردن کابین (به‌صورت الکترونیکی)

مهم!

هنگام بالا بردن کابین، صفحات جانبی جلوپنجره باید باز باشد.

  1. ترمزدستی را درگیر کنید.
  2. اهرم تعویض دنده را در وضعیت خلاص قرار دهید.
  3. کلید بالابر کابین را فشار دهید.
  4. تمام اجسام شل یا آزاد و تجهیزات سنگین را از کابین بیرون ببرید.
  5. درها را ببندید.
  6. جلو پنجره بالایی و صفحات جانبی جلو پنجره را باز کنید. 
  7. ریموت کنترل بالابر کابین را بیرون بیاورید. این ریموت کنترل زیر جلوپنجره قرار گرفته است. دکمه فعال‌سازی پشت ریموت کنترل را فشار دهید و نگه دارید، دکمه بالابر را فشار دهید و هر دو دکمه را نگه دارید تا کابین به سبب وزن خود به جلو خم شود. همچنان دکمه‌های فعال‌سازی و بالابر را در حالت فشرده نگه دارید تا کابین به زاویه کاملاً باز برسد.  

کلید بالابر کابین

توجه!

دقت کنید هیچ فرد غیرمجازی به ریموت کنترل بالابر کابین دسترسی نداشته باشد.

پایین آوردن کابین (به‌صورت الکترونیکی)

هشدار!

خطر له‌شدگی هنگام پایین آوردن کابین وجود دارد. کابین در آخرین مرحله پایین آمدن که دوباره به وضعیت اولیه خود برمی‌گردد، آزادانه سقوط می‌کند.

ریموت کنترل بالابر کابین

  1. درها را ببندید.
  2. ریموت کنترل بالابر کابین را بیرون بیاورید. این ریموت کنترل زیر جلوپنجره قرار گرفته است. دکمه فعال‌سازی پشت ریموت کنترل را فشار دهید و نگه دارید، دکمه پایین آوردن را فشار دهید و هر دو دکمه را نگه دارید تا کابین به محدوده حرکت در وضعیت رانندگی سقوط کند.
  3. کلید بالابر کابین را بازنشانی کنید.
  4. صفحات جانبی جلوپنجره و جلوپنجره بالایی را ببندید.

تعویض چرخ

هشدار!

پیش از تعویض چرخ‌ها بر روی محور کمکی، ولتاژ را خاموش کنید و قطع‌کن باتری را خاموش نمایید.

هیچ‌گاه زیر خودرویی که فقط روی جک قرار گرفته است نروید. به منظور دستیابی به حداکثر ایمنی هنگام کار در زیر خودرویی که بالا برده شده است، هم شاسی و هم تعلیق‌های محور متحرک باید در برابر سقوط محافظت شوند. احتمال بروز آسیب جسمی در اثر له‌شدگی بسیار بالاست.

هرگز زیر خودروی مجهز به تعليق بادی که کاملاً در برابر سقوط در صورت بروز تغییر فشار در بالن‌های هوا محافظت نشده است، قرار نگیرید. احتمال بروز آسیب جسمی در اثر له‌شدگی بسیار بالاست.

باز کردن

1. یک دنده سنگین را درگیر کنید و کلید را به وضعیت قفل بچرخانید. در مورد گیربکس اتوماتیک، انتخابگر حالت رانندگی را در وضعیت خلاص قرار دهید.

هشدار!

باید چرخ‌های خودرو را با گوه مهار کنید تا از حرکت خودرو هنگام انجام کار جلوگیری شود.

2. گوه‌ها را جلو و پشت چرخ‌هایی که روی زمین باقی می‌مانند قرار دهید.

3. ترمزدستی مربوط به چرخی که باید تعویض شود را آزاد کنید تا اطمینان حاصل گردد که چرخ و کاسه ترمز هنگام سفت کردن روی توپی قرار می‌گیرند.

4. موقعیت رینگ چرخ را نسبت به توپی علامت بزنید.

5. مهره‌های چرخ را شل کنید ولی آنها را برندارید.

6. خودرو را بالا ببرید.

 

هشدار!

دقت کنید پایه‌های جک، محکم روی زمین مسطح قرار بگیرند.

مهم!

جک را فقط در نقاط بالابر مشخص شده قرار دهید. موقعیت دیگر ممکن است به خودرو آسیب جدی برساند.

7. مهره‌های چرخ را باز کنید و چرخ را بیرون بیاورید.

مهم!

پس‌از رانندگی به مسافت تقریباً ۱۰۰ کیلومتر، مهره‌های چرخ را بررسی و تا ۶۰۰ نیوتن‌متر محکم کنید.

گوه‌ها را جلو و پشت چرخ‌هایی که روی زمین باقی می‌مانند قرار دهید.

موقعیت رینگ چرخ را نسبت به توپی علامت بزنید.

بستن

1. سطوح تماس را به‌طور کامل تمیز کنید. از برس سیمی استفاده کنید.
روی بعضی از رینگ‌های چرخ، رینگ‌های فاصله‌انداز وجود دارد. ‏‫آنها را نیز تمیز کنید.‬

توجه!

وجود لایه‌های ضخیم رنگ، زنگ‌زدگی و آلودگی می‌تواند موجب شل شدن مهره‌های چرخ شود و باعث گردد سوراخ‌های پیچ در رینگ‌های چرخ و کاسه ترمز، بیضوی‌شکل شوند.

2. رزوه‌های پیچ‌های چرخ را تمیز کنید.

توجه!

بررسی کنید ترمزدستی در محوری که کار روی آن انجام می‌گیرد، آزاد باشد.

3. چرخ را در همان موقعیتی که قبل از باز کردن داشت، دوباره ببندید. علامت‌گذاری را بررسی کنید.

4. مهره‌های چرخ را طبق تصویر با ترتیب محکم کردن صحیح، سفت کنید. هرگز از آچار برقی نوع فلایویل استفاده نکنید. مهره‌ها باید تا گشتاور ۶۰۰ نیوتن‌متر محکم شود.

مهم!

تعمیرگاه اسکانیا موظف است مهره‌های چرخ را تا گشتاور صحیح سفت ‌کند. گشتاور بسیار زیاد یا بسیار کم ممکن است موجب شل شدن چرخ شود یا کاسه ترمز را به‌ شکل بیضوی درآورد.

5. خودرو را پایین بیاورید و گوه‌های چرخ را بردارید.

قطعاتی که باید پیش از نصب تمیز شوند

ترتیب محکم کردن برای سفت کردن مهره‌های چرخ

اسکانیا توصیه می‌کند روی پیچ‌های چرخ و مهره‌های چرخ یک خط بکشید تا شناسایی هر گونه انحراف آسان‌تر شود. از ماژیک استفاده کنید. اگر یکی از مهره‌های چرخ انحراف دارد، مهره چرخ را به‌طور کامل باز کنید و آن را دوباره ببندید.

مهم!

پس از رانندگی به مسافت تقریباً ۱۰۰ کیلومتر، مهره‌های چرخ را بررسی و تا ۶۰۰ نیوتن‌متر محکم کنید.

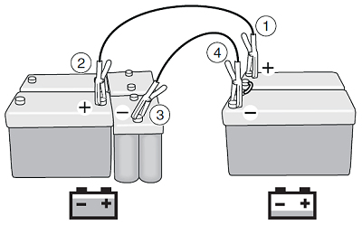
استارت باتری به باتری

هشدار!

هنگام استفاده از کابل‌های استارت، در نزدیکی باتری‌ها نایستید. ممکن است باتری منفجر شود و آسیب زیادی وارد کند.

در محیطی که مایعات یا گازهای قابل اشتعال مانند بنزین یا اتانول وجود دارد، باتری‌ها را به یکدیگر متصل نکنید.

برای جلوگیری از صدمات جانی یا خسارات مالی، دستورالعمل‌های مربوطه را به دقت رعایت کنید.

مهم!

هنگام بالا بردن کابین، صفحات جانبی جلوپنجره باید باز باشد.

اگر باتری‌های خودرو تخلیه شده و از جریان کافی برای راه‌اندازی موتور برخوردار نباشند، می‌توانید آنها را به باتری‌های دیگری متصل کنید.

هر دو سیستم باید ولتاژ باتری یکسان، یعنی 24 ولت، داشته باشند.

از کابل‌های استارت ضخیم (حداقل 25 میلی‌متر مربع) با گیره‌های عایق‌دار استفاده کنید.   

موارد آماده‌سازی‌:

  • موتور خودرویی را که باتری‌های آن شارژ شده است روشن کنید.

طبق شرح زیر عمل کنید (گزینه 1):

  1. در خودرویی که ولتاژ باتری آن پایین است، اتصال به قطب مثبت (+) باتری فرعی را برقرار کنید.
  2. در خودرویی که باتری آن به طور کامل شارژ شده است، اتصال به قطب مثبت (+) باتری را برقرار کنید.
  3. در خودرویی که باتری آن به طور کامل شارژ شده است، اتصال به قطب منفی (-) باتری را برقرار کنید.
  4. در خودرویی که ولتاژ باتری آن پایین است، اتصال به قطب منفی (-) باتری فرعی را برقرار کنید. هنگام اتصال این کابل آخر، ممکن است جرقه ایجاد شود.
  5. موتور خودرویی را که ولتاژ باتری آن کم است روشن کنید. نزدیک باتری‌ها نایستید.
  6. وقتی موتور روشن شد، ابتدا کابل را از قطب منفی (-) باتری خودرویی که ولتاژ باتری آن پایین است جدا کنید و سپس بقیه کابل‌ها را جدا نمایید.
  7. اگر موتور روشن نمی‌شود. کابل‌ها را طبق مرحله 6 جدا کنید و تمام مراحل را به جز یک مورد تکرار نمایید. در مرحله 1، در خودرویی که ولتاژ باتری آن پایین است، اتصال به قطب مثبت (+) باتری درونی را برقرار کنید.

هنگام استفاده از خودرو برای راه‌اندازی یک خودروی دیگر، طبق روش زیر عمل کنید:

  1. در خودرویی که ولتاژ باتری آن پایین است، اتصال به قطب مثبت (+) باتری
    را برقرار کنید.
  2. در خودرویی که باتری آن به طور کامل شارژ شده است، اتصال به قطب مثبت (+) باتری فرعی را برقرار کنید.
  3. در خودرویی که باتری آن به طور کامل شارژ شده است، اتصال به قطب منفی (-) باتری فرعی را برقرار کنید.
  4. در خودرویی که ولتاژ باتری آن پایین است، اتصال به قطب منفی (-) باتری را برقرار کنید. هنگام اتصال این کابل آخر، ممکن است جرقه ایجاد شود.
  5. موتور خودرویی را که ولتاژ باتری آن کم است روشن کنید. نزدیک باتری‌ها نایستید.
  6. وقتی موتور روشن شد، ابتدا کابل را از قطب منفی (-) باتری خودرویی که ولتاژ باتری آن پایین است جدا کنید و سپس بقیه کابل‌ها را جدا نمایید.

توجه!

اگر رنگ محافظ فریم آسیب ببیند، باید بلافاصله ترمیم شود.

مهم!

توصیه‌هایی برای مواقعی که موتور به راحتی روشن نمی‌شود:
استارت پس از 35 ثانیه به صورت اتوماتیک مسدود می‌شود. 
استارت باید حداکثر 30 ثانیه کار کند. اگر موتور در اولین بار روشن نشد: کلید استارت را به وضعیت رادیو برگردانید و حدود 30 ثانیه منتظر بمانید تا استارت بتواند خنک شود.
اگر موتور پس از 2 بار تلاش روشن نشد، استارت باید حداقل 5 دقیقه استراحت کند تا بتوان 2 تلاش دیگر انجام داد. ‏‫بررسی کنید مشکل دیگری، مثلاً نقص در سیستم سوخت‌رسانی، وجود نداشته باشد. 

سيستم انتقال نيروی هيدروليكی

تنظیم فشار سیستم هیدرولیک

فشار سیستم هیدرولیک با 2 وضعیت ثابت بر روی 150 یا 220 بار قابل تنظیم است. بررسی کنید برای تجهیزات هیدرولیکی که قرار است به سیستم متصل شود کدام فشار لازم است و سپس فشار را با کلید ولومی تنظیم کنید. کلید ولومی با صدای تق در وضعیت‌های نهایی ثابت می‌شود و نباید در یک وضعیت میانی تنظیم شود.

مهم!

همواره پیش از اتصال، بررسی کنید فشار تنظیمی سیستم از حداکثر فشار مشخص شده برای تجهیزات هیدرولیک تجاوز نکند تا از بروز آسیب به تجهیزات جلوگیری شود.

فشار سیستم هیدرولیک را با استفاده از کلید ولومی تنظیم کنید.

PTO از گیربکس

‏‫PTO از گیربکس (EG) قدرت را از گیربکس به تجهیزات خارجی منتقل می‌کند.‬ ‏‫این دستگاه بر روی گیربکس نصب می‌شود و توسط شفت زیر گیربکس به حرکت درمی‌آید و معمولاً درگیر نیست.‬ پیش از فعال‌سازی PTO از گیربکس، کلید استارت باید در وضعیت رانندگی قرار گیرد و فشار هوا بالاتر از 5 بار باشد.

کاربری‌ساز می‌تواند الزامات دیگری را نیز انتخاب کند.

مهم!

پس از رانندگی، موتور را حدود 1 دقیقه با دور درجا روشن نگه دارید و سپس آن را خاموش کنید. در غیر این‌صورت، احتمال دارد توربوشارژر آسیب ببیند.

امکان نصب چند PTO بر روی خودرو وجود دارد.

می‌توانید با فشردن دکمه + یا - بر روی کلید سیستم کنترل سرعت، دور موتور اعمال شده به PTO از گیربکس را کنترل کنید.

مهم!

هنگام استفاده از PTO از گیربکس پرسرعت، خودرو باید تا حد امکان در حالت تراز قرار گیرد. قرار گرفتن در سراشیبی فقط برای کارکرد کوتاه‌مدت مجاز است.

در مورد گیربکس‌های مجهز به نیم‌دنده، می‌توان با یک دور موتور ثابت 2 سرعت متفاوت به PTO داد؛ این قابلیت به این امر بستگی دارد که هنگامی‌که گیربکس در وضعیت خلاص قرار دارد، نیم‌دنده سبک درگیر باشد یا نیم‌دنده سنگین.  

حالت نیم‌دنده به‌صورت دستی و با استفاده از اهرم ترمز کمکی و جابجایی اهرم به سمت خودتان و یا در جهت مخالف، تغییر می‌کند. 

هنگامی‌که PTO از گیربکس درگیر است، تمام عملیات تعویض دنده در حین رانندگی مسدود می‌شود. اما می‌توانید هنگام سکون خودرو دنده عوض کنید. اگر خودرو با PTO از گیربکس فعال رانده شود، پیامی در مجموعه آمپرها به نمایش درمی‌آید.

درگیر کردن

مهم!

فقط در زمانی PTO را درگیر و آزاد کنید که زیر بار نباشد. فقط در صورتی دنده را تعویض کنید که PTO زیر بار نباشد؛ در غیر این‌صورت، ممکن است گیربکس آسیب ببیند.

  1. دقت کنید خودرو بی‌حرکت باشد.
  2. اگر موتور روشن است، پدال کلاچ را فشار دهید یا دنده را خلاص کنید.
  3. کلید را فشار دهید.
  4. منتظر بمانید تا نماد PTO در مجموعه آمپرها ظاهر شود.
  5. اگر موتور روشن است، کلاچ را به آرامی رها کنید (گیربکس دستی).

توجه!

اگر پس از 10 ثانیه هیچ نمادی نشان داده نشد، کلاچ را به آرامی رها کنید تا دنده‌ها در موقعیت صحیح قرار گیرند. کلید را دوباره فشار ندهید.

مهم!

اگر صدای غیرعادی از گیربکس اتوماتیک شنیده شد، بلافاصله کلید را فشار دهید. بدین ترتیب PTO به‌صورت اتوماتیک آزاد می‌شود.

توجه!

اگر نماد PTO (گیربکس اتوماتیک) پس از 20 تا 30 ثانیه در مجموعه آمپرها روشن نشد، مراحل 3 و 4 را تکرار کنید.

آزاد کردن

  1. اگر موتور روشن است، پدال کلاچ را فشار دهید یا دنده را خلاص کنید.
  2. کلید PTO را فشار دهید.
  3. منتظر بمانید تا نماد PTO خاموش شود.
  4. اگر موتور روشن است، کلاچ را به آرامی رها کنید (گیربکس دستی).

کلید PTO از گیربکس

PTO از فلایویل

این PTO یک شفت واسطه خارجی برای انتقال قدرت از موتور به لوازم جانبی خارجی است. PTO از فلایویل بین موتور و گیربکس نصب می‌شود و توسط موتور به حرکت درمی‌آید. این PTO معمولاً درگیر نیست.

با فشردن دکمه + یا - بر روی کلید سیستم کنترل سرعت، می‌توانید دور موتور اعمال شده به PTO از فلایویل را کنترل کنید.

مهم!

پیش از درگیر کردن PTO، موتور باید خاموش شود.

درگیر کردن

  1. موتور را خاموش کنيد.
  2. دنده را خلاص کنید.
  3. کلید را در وضعیت رانندگی قرار دهید.
  4. کلید را فعال کنید.
  5. موتور را روشن کنید.

آزاد کردن

  1. دقت کنید PTO زیر بار نباشد.
  2. کلید را غیرفعال کنید.

کلید PTO از فلایویل

PTO از میل‌لنگ

این PTO قدرت را از موتور به لوازم جانبی خارجی منتقل می‌کند. PTO از میل‌لنگ به طور مستقیم توسط دنده تایم به حرکت درمی‌آید و در صورت روشن بودن موتور می‌چرخد. کلید مربوطه، سیستم هیدرولیک را فعال می‌کند و فشار را به سیستم انتقال می‌دهد.

کاربری‌ساز می‌تواند الزامات دیگری را نیز انتخاب کند.

می‌توانید با فشردن دکمه + یا - بر روی کلید سیستم کنترل سرعت، دور موتور اعمال شده به PTO از میل‌لنگ را کنترل کنید.

درگیر کردن

  • کلید را فعال کنید.

آزاد کردن

  • کلید را غیرفعال کنید.

کلید PTO از میل‌لنگ

کلید EXT

کلید EXT یک عملکرد ایمنی است که امکان کنترل برخی از عملکردهای خودرو را از بیرون آن فراهم می‌کند. عملکردهای قابل کنترل به تجهیزات خودرو و منطقی که در سیستم کاربری خودرو ایجاد شده است بستگی دارد. 

زمانی‌که کلید EXT را فشار می‌دهید، نماد EXT در مجموعه آمپرها روشن می‌شود.

کلید EXT. این کلید را زمانی فعال کنید که می‌خواهید برخی عملکردهای خودرو را از بیرون خودرو کنترل نمایید.