節錄自駕駛員手冊

您可以從下方的索引標籤中找到可以幫助車體打造廠的駕駛員手冊摘錄內容。 

注意!此資訊可能因車輛規格而異。

駕駛員手冊也適用於 Android 和 iOS 裝置。

在您的裝置上按一下以下連結,下載駕駛員手冊

上坡起步輔助功能

重要!

如果存在車輪鎖死打滑的風險,請勿在寒冬路況下使用上坡起步輔助功能。

上坡起步輔助功能用於促進爬坡起步。

使用上坡起步輔助功能的方式:

  • 啟動車輛電源
  • 按下開關,開關將於上坡起步輔助功能啟動時亮起。
  • 此時當踩下剎車踏板時會聽到喀嚓聲,之後剎車壓力維持不變,以便您釋放剎車踏板。 踩踏剎車踏板時用力越大,上坡起步輔助功能越難以使用。

在使用開關關閉該功能之前,可以使用上坡起步輔助功能。 如果該功能在車輛引擎關閉時啟動,上坡起步輔助功能將在車輛下次起動時啟動。

注意!

如果剎車壓力過低或者 ABS 在剎車結束時處於啟動狀態,則上坡起步輔助功能將不會啟動。

上坡起步輔助功能開關

警告!

離開駕駛員區之前,請務必拉起手剎車

如果完全釋放踏板且車輛能開始運動,則上坡起步輔助功能將在數秒後釋放。 上坡起步輔助功能釋放之前,您會聽見警告訊號,顯示幕上則會顯示警告文字。

在打檔、釋放剎車踏板並輕輕加速時,上坡起步輔助功能將直接釋放。

自動緊急剎車

AEB 是一種緊急剎車輔助系統,採用了前視攝影機和距離感知器,可減少與前方車輛發生撞擊的事故。

警告!

AEB 僅為輔助功能。 AEB 不會根據駕駛條件或天氣自行進行調節。駕駛員必須全權負責以安全的方式駕駛車輛。
操縱車輛的速度訊號可能導致 AEB 出現故障或發生啟動錯誤。

注意!

更換擋風玻璃之後,前視攝影機必須更換。

撞擊警告

當 AEB 檢測到撞擊風險時,系統將分 3 步驟啟動:

  1. 儀錶板上顯示紅色警告,同時響起聲音訊號。
  2. 如果駕駛員不做出反應並且風險仍然存在,則 AEB 將輕輕剎車。
  3. 如果沒有做出其他反應且風險仍然存在,則 AEB 將全力剎車。

駕駛員可以隨時利用以下方式取消警告或剎車:

  • 按下儀錶面板中的 AEB 開關
  • 用力快速地踩下油門踏板
  • 將油門踏板踩至強制降檔位置

駕駛員還可在警告前期,利用以下方式取消警告:

  • 踩下剎車踏板
  • 啟動方向指示器

駕駛員可以隨時踩下剎車踏板以掌控剎車。 這樣可以取消警告和自動剎車。 越是危急的情況,必須越加用力地踩下剎車踏板。

如果啟動了自動巡航控制系統,則該系統可提供撞擊警告
並嘗試在 AEB 警告之前使情形得以緩和。

全力剎車且車輛處於靜止狀態之後,剎車將保持數秒,以防止車輛移動。 如果駕駛員踩下剎車或油門踏板,剎車將釋放。

撞擊風險符號

啟動和可用性

AEB 將在開啟電壓時自動啟動。開關中亮起綠燈。

可透過開關停用 AEB。 開關中亮起黃燈。 開關為彈簧重定式開關,同時也是 AEB 的重置開關。

AEB 會在以下情況啟用:

  • 車速超過 15 km/h

可在以下情況下限制或停用 AEB:

  • 距離感知器被阻擋或有故障
  • 攝影機被阻擋或有故障
  • 車輛或尾車的剎車系統出現故障
  • 車輛的空氣懸掛設置異常
    駕駛位置
  • 車輛在黑暗中行進

AEB 緊急剎車輔助開關

當 AEB 受限時,儀錶板上將顯示一個黃色符號和一則訊息。 

訊息內容可能如下:

系統故障

  • AEB 因距離感知器故障而停用。

降低性能

  • AEB 受限,但仍然部分啟用。 AEB 無法及時剎車或發出撞擊警告。 

AEB 受限符號

當距離感知器或攝影機被污泥、雪或冰阻擋時,儀錶板上將顯示相應的符號和一則訊息。

如果問題未排除,AEB 功能將停用或受到限制。

如果攝影機被阻擋,可能只需啟動擋風玻璃雨刷即可。 請確保系統的清潔,避免沾染污泥、雪和冰。

  1. 被阻擋的距離感知器
  2. 被阻擋的攝影機

警告!

AEB 只是一種輔助工具,在某些交通環境下可能難以正確識別車輛或確定其位置。 AEB 可能無法偵測某些撞擊風險,或會在沒有任何撞擊風險的情況下啟用。

各種交通狀況

在進彎和出彎時,AEB 可能難以識別前方道路。 因此,AEB 可能遺漏道路車輛警告或發出錯誤的路邊車輛警告。

彎道

在出口或岔道以及當車輛在硬質路肩上行駛時,AEB 可能難以識別前方車輛。

在出口或岔道以及在硬質路肩上

如果車輛變換車道至您正前方,則當該車輛進入識別區域之前,AEB 將無法識別該車輛。 

變換車道

車輛資訊儀錶

儀錶板

  1. 速率表
  2. 方向指示器
  3. 顯示
  4. 一般警告符號和指示符號
  5. 轉速錶
  6. 燃油油位高度計
  7. 指示燈和警告符號
  8. 引擎冷卻水溫度儀錶
  9. 顯示器右側顯示還原劑液位高度、車外溫度和時鐘。

轉速錶

轉速錶顯示引擎的每分鐘轉速 (rpm)。

該儀錶有 4 個區域:

  • 白色:0-2,000 rpm 和 2,200-2,400 rpm。
  • 藍色:2,000-2,400 rpm。 在這一位置,引擎輔助剎車
    最為強勁。
  • 紅色:超過 2,400 rpm。 當引擎轉速在紅色區域時,引擎有損壞的危險。

儀錶板

顯示器和符號

關於顯示器、一般警告和指示符號以及特殊車體符號的更多資訊,請參考以下文件: 

車廂傾掀

警告!

泵浦閥於行駛中必須位在放下位置, 以免液壓機構開始舉升車廂而造成損壞。

在車廂傾掀之前,必須先關閉引擎,然後拉起手剎車並將排檔桿置於空檔位置。

當車廂處於中間位置時,請勿在車廂下方作業。 務必使車廂完全傾掀。

在車廂傾掀時,不要停留在車廂前面或後面。

在車廂傾掀過程中,車輛應該水平停放。 如果車輛位於斜度超過 10% 的坡道上,則切勿傾掀車廂。

車廂傾掀裝置

當車廂正確放下時,會有兩把機械鎖將其鎖定,機械鎖在傾掀時會藉由液壓開啟。   

傾掀車廂(把手)

重要!

傾掀車廂之前,必須打開前飾板側板。

  1. 拉起手剎車。
  2. 將排檔桿置於空檔位置。
  3. 移除車廂中的任何鬆動物件和重型設備。
  4. 關閉車門。
  5. 將泵浦閥設為傾掀位置。 使用轉接件或把手。
  6. 將轉接件裝至泵浦銷上。 使用轉接件裝配把手。
  7. 使用把手和車廂鎖的泵浦將自動打開。
  8. 持續加壓,直至車廂靠自身重量向前傾掀。 繼續加壓,直至能從泵浦桿感受到反壓力,且車廂達到最大打開角度。
  1. 車廂傾掀泵浦
  2. 泵浦閥

根據車廂傾掀或下放操作設置泵浦閥。上圖顯示了傾掀時閥門的位置。下圖顯示的是下放時閥門的位置。使用把手或轉接件將泵浦閥設置至正確的位置。

將車廂降回原位(把手)

警告!

放下車廂時存在壓傷風險。 在將車廂降回原位的最後階段,車廂將自行下降。

  1. 關閉車門。
  2. 將泵浦閥置於將車廂降回原位的位置。
  3. 使用把手將車廂加壓回原位,直到車廂
    回落至駕駛位置的移動區域。

將泵浦閥保留在放下位置。

傾掀車廂(電動)

重要!

傾掀車廂之前,必須打開前飾板側板。

  1. 拉起手剎車。
  2. 將排檔桿置於空檔位置。
  3. 按下車廂傾掀裝置開關。
  4. 移除車廂中的任何鬆動物件和重型設備。
  5. 關閉車門。
  6. 打開上前飾板和前飾板的側板。 
  7. 取出車廂傾掀裝置的遙控器。 遙控器位於前飾板下面。 按住遙控器背面的啟動按鈕,按下傾掀按鈕,直到車廂靠自身重量向前傾掀後放開。 繼續按住啟動和傾掀按鈕,直到車廂達到最大張開角度。  

車廂傾掀裝置開關

注意!

務必遵守只有經授權人士有權使用車廂傾掀裝置遙控器之規定。

將車廂降回原位(電動)

警告!

放下車廂時存在壓傷風險。 在將車廂降回原位的最後階段,車廂將自行下降。

車廂傾掀裝置遙控器

  1. 關閉車門。
  2. 取出車廂傾掀裝置的遙控器。 遙控器位於前飾板下面。 按住遙控器背面的啟動按鈕,按下放下按鈕,直到車廂回落至駕駛位置的移動區域。
  3. 重置車廂傾掀裝置開關。
  4. 關閉前飾板側板和上部前飾板。

更換車輪

警告!

更換驅動軸上的車輪之前,請關閉電壓和電瓶總開關。

切勿在只有千斤頂支撐的車輛底下進行作業。 在升高的車輛下作業時,為符合最高規格的安全條件,必須固定底盤和移動軸懸掛防止其墜落。 此作業有極高的壓傷風險。

如果氣囊壓力發生變化,切勿在未完全做好防墜落固定措施的情況下進入空氣懸吊的車輛下方。 此作業有極高的壓傷風險。

取下

1. 排入低速檔,將鑰匙轉至鎖定位置。 如為自動變速箱,則將駕駛模式選擇器置於空檔位置。

警告!

請務必以物件擋住車輪,防止車輛在作業時發生移動。

2.  將著地的車輪前後用輪檔擋住。

3.  釋放待更換的車輪的手剎車,確保緊固時車輪和剎車鼓頂住輪轂。

4.  標記輪轂的鋼圈位置。

5.  將車輪螺帽鬆開,但不要取下。

6.  升高車輛。

 

警告!

確保千斤頂牢牢直立在水平地面上。

重要!

務必將千斤頂置於指定的舉升點。 如果放置於其他位置,可能會嚴重損壞車輛。

7. 取下車輪螺帽和車輪。

重要!

行駛大約 100 km 後,按 600 Nm 檢查車輪螺帽鎖緊力道。

將著地的車輪前後用輪檔擋住。

將輪轂在鋼圈的位置上標記出來。

安裝

1. 徹底清潔接觸表面。 使用鋼絲刷。
有些鋼圈上有限位環,請一併清潔。

注意!

如果噴漆、銹蝕和髒汙層過厚,可能導致車輪螺帽變鬆,並導致鋼圈螺栓孔和剎車鼓變成橢圓形。

2. 清潔車輪螺栓的螺紋。

注意!

檢查正在進行作業的車軸上的手剎車是否已鬆開。

3.  將車輪重新安裝至之前取下時的位置。 檢查標記。

4.  按圖中所示的正確順序鎖緊車輪螺帽。 切勿使用飛輪型螺帽扳手。 這些螺帽必須達到 600 Nm 的鎖緊扭力。

重要!

Scania 維修廠必須將輪胎螺帽鎖緊至正確的扭力。 扭力過高或過低,可能導致車輪鬆動或者導致剎車鼓變成橢圓形。

5.  放下車輛,取下輪檔。

安裝前必須予以清潔的零件

車輪螺帽的鎖緊順序

Scania 建議在輪胎螺絲和輪胎螺帽上畫一條線,這樣就能更輕易地檢測是否有偏差。 使用記號筆。 如果車輪螺帽出現偏差,將車輪螺帽完全取下,再次重新安裝。

重要!

行駛大約 100 km 後,按 600 Nm 檢查車輪螺帽鎖緊力道。

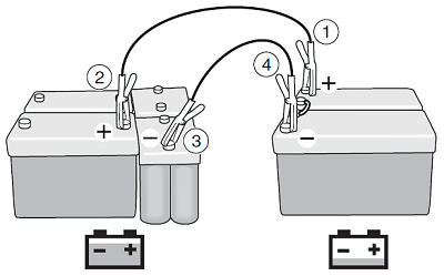
跨接起動

警告!

使用起動馬達電線時,請勿靠近電瓶。 電瓶可能因過度損壞而爆炸。

如果環境中存在汽油和乙醇等易燃氣體或液體,請勿連接電瓶。

嚴格遵照指導說明以防止人身傷害或重大損傷。

重要!

傾掀車廂之前,必須打開前飾板側板。

如果車輛的電瓶已充電但沒有足夠的電流來起動引擎,您可以與其他電瓶相連接。

兩個系統必須有相同的電瓶電壓 (24 V)。

使用帶絕緣夾的粗起動機電線(至少 25 mm²)。   

準備工作:

  • 為車輛電瓶充電後,起動引擎。

繼續按如下描述進行操作(選項 1):

  1. 連接至低電瓶電壓車輛上的電瓶正極 (+)。
  2. 連接至電瓶已充滿的車輛上的電瓶正極 (+)。
  3. 連接至電瓶已充滿的車輛上的電瓶負極 (-)。
  4. 連接至低電瓶電壓車輛上的電瓶負極 (-)。 最後一根電線在連接時可能會產生火花。
  5. 起動低電瓶電壓車輛上的引擎。 切勿靠近電瓶。
  6. 當引擎起動時,首先斷開低電瓶電壓車輛的電瓶負極 (-) 電線,然後再斷開其他電線。
  7. 如果引擎未能起動。 根據步驟 6 斷開電線,重複所有步驟,但有一個步驟例外。 在第 1 步驟中,連接至低電瓶電壓車輛的內置電瓶正極 (+)。

當車輛正在提供起動輔助時,按如下所述繼續操作:

  1. 連接至低電瓶電壓車輛上的電瓶
    正極 (+)。
  2. 連接至電瓶已充滿的車輛上的電瓶正極 (+)。
  3. 連接至電瓶已充滿的車輛上的電瓶負極 (-)。
  4. 連接至低電瓶電壓車輛上的電瓶負極 (-)。 最後一根電線在連接時可能會產生火花。
  5. 起動低電瓶電壓車輛上的引擎。 切勿靠近電瓶。
  6. 當引擎起動時,首先斷開低電瓶電壓車輛的電瓶負極 (-) 電線,然後再斷開其他電線。

注意!

如果大樑上的保護漆受損,則必須立即修補。

重要!

引擎難以起動時的建議:
起動馬達將在 35 秒後自動禁用。 
運轉起動馬達,最長執行時間 30 秒。 如果第一次引擎無法起動:將起動鑰匙轉回收音機位置,請等待大約 30 秒讓起動馬達恢復。
如果引擎在嘗試 2 次之後仍未起動,則在嘗試 2 次之後,起動馬達必須休息至少 5 分鐘。這時請查看是否存在其他故障,例如燃油系統故障。

濕式套件

調節液壓系統中的壓力

液壓系統中的壓力可通過兩個固定位置設置為 150 或 220 bar。 檢查液壓設備與系統的連接需要哪一種壓力,並使用旋轉控制設置該壓力。 旋轉控制卡入終端位置,禁止將其設在中間位置。

重要!

連接之前務必檢查已設定的系統壓力,確保其不超過液壓設備的最大規定壓力,以避免損壞設備。

使用旋轉控制設置液壓系統中的壓力。

EG 動力分導器

變速箱驅動型動力分導器 EG 將動力從變速箱傳輸至外部設備。該動力分導器裝於變速箱上,由變速箱副軸驅動,通常不接合。 啟動 EG 動力分導器之前,起動鑰匙必須處於駕駛位置,氣壓必須高於 5 bar。

車體打造廠可選擇其他適用的要求。

重要!

駕駛之後,怠速運轉引擎約 1 分鐘,然後將其關閉。 否則渦輪增壓機會有損壞風險。

一輛車可配備多台動力分導器。

您可以按下巡航定速控制開關上的 + 或 - 控制 EG 動力分導器的引擎轉速。

重要!

使用高速 EG 動力分導器時,車輛應盡可能置於水平地面。 處於下坡路面時,只可短期運轉。

對於帶半檔式檔位元的變速箱,根據變速箱處於空檔時是否接合低半檔或高半檔,同一引擎轉速下可為動力分導器提供 2 種不同的轉速。  

使用輔助剎車桿可以手動更改半檔模式,方法是將剎車桿朝著靠近您或遠離您的方向移動。 

當 EG 動力分導器接合時,駕駛期間的所有換檔都將停用。 但是您可以在車輛靜止狀態下換檔。如果車輛駕駛時啟動了 EG 動力分導器,則儀錶板上會顯示一則訊息。

接合

重要!

僅能在未負載時接合和脫開動力分導器。 僅能在動力分導器未負載時換檔,否則可能損壞變速箱。

  1. 確保車輛處於靜止狀態。
  2. 如果引擎正在運轉,踩下離合器踏板,或打空檔。
  3. 按下開關。
  4. 等待儀錶板上顯示出動力分導器符號。
  5. 如果引擎正在運轉,慢慢釋放離合器(手動變速箱)。

注意!

如果 10 秒後並未顯示符號,請慢慢釋放離合器,讓齒輪最後到達正確位置。 請勿再按下開關。

重要!

如果自動變速箱發出異常噪音,則立即按下開關。 然後動力分導器會自動脫開。

注意!

如果 20 至 30 秒後動力分導器符號(自動變速箱)仍未顯示在儀錶板上,則重複步驟 3 和 4。

脫開

  1. 如果引擎正在運轉,踩下離合器踏板,或打空檔。
  2. 按下動力分導器開關。
  3. 等待動力分導器符號消失。
  4. 如果引擎正在運轉,慢慢釋放離合器(手動變速箱)。

EG 動力分導器開關

EK 動力分導器

動力分導器是一個外部軸頸,可以將動力從引擎傳輸至外部附件。 EK 動力分導器位於引擎和變速箱之間,由引擎驅動。 動力分導器通常是維持在脫開狀態。

您可以按下巡航定速控制開關上的 + 或 - 控制 EK 動力分導器的引擎轉速。

重要!

接合動力分導器前務必先關閉引擎

接合

  1. 關閉引擎。
  2. 排入空檔。
  3. 將鑰匙轉動至駕駛位置。
  4. 啟動開關。
  5. 發動引擎。

脫開

  1. 確保動力分導器未負載。
  2. 停用開關。

EK 動力分導器開關

ED 動力分導器

動力分導器將動力從引擎傳輸至外部附件。 ED 動力分導器由正時齒輪直接驅動,並在引擎啟動時旋轉。 開關可啟動液壓裝置,並向外部系統輸送壓力。

車體打造廠可選擇其他適用的要求。

您可以按下巡航定速控制開關上的 + 或 - 控制 ED 動力分導器的引擎轉速。

接合

  • 啟動開關。

脫開

  • 停用開關。

ED 動力分導器開關

EXT 開關

EXT 開關是一個安全功能,可讓您從車輛外部控制車輛的部分功能。 車輛的設備和車輛車體系統中建立的邏輯操作,是您可控制功能的依據。 

當您按下 EXT 開關時,儀錶板中的 EXT 符號會亮起。

EXT 開關。 當您需要從車輛外部控制車輛的部分功能時,請按下此開關。