摘自驾驶员手册

您可以通过下面的标签找到驾驶员手册摘录,它们可能会对车身制造商有所帮助。 

注意!此信息可能因车辆规格而异。

还可通过 Android 和 iOS 设备获取该驾驶员手册。

在您的设备上单击下面的链接下载驾驶员手册

坡道控制功能

重要信息!

由于存在车轮锁死打滑的风险,因此请勿在寒冬道路条件下使用坡道控制功能。

坡道控制功能用于促进爬坡起步。

如需使用坡道控制功能:

  • 启动车辆电源
  • 按下开关,其将于坡道控制功能启动时亮起。
  • 此时,当您踩下刹车踏板时会听到咔哒一声,之后刹车压力维持不变,以便您可以释放刹车踏板。 踩踏刹车踏板时用力越大,坡道控制力度就越大。

在使用开关关闭该功能之前,可以使用坡道控制功能。 如果该功能在车辆发动机关闭时激活,坡道控制功能将在车辆下次启动时激活。

注意!

如果刹车压力过低或者 ABS 在刹车结束时处于激活状态,则坡道控制功能将不被激活。

坡道控制功能开关

警告!

离开驾驶区域前一定要应用手刹

如果完全释放踏板且车辆能开始运动,则坡道控制功能将在数秒后释放。 坡道控制功能释放之前,您将听见警告信号,显示屏上将显示警告文字。

当您挂挡,释放刹车踏板并轻轻加速时,坡道控制功能将直接释放。

自动碰撞缓冲系统

AEB 是一种高级碰撞缓冲系统,采用了前视摄像头和距离传感器,可缓解与前方车辆发生的碰撞的严重程度。

警告!

AEB 只是辅助工具。 AEB 不会根据驾驶条件或天气自行进行调节。驾驶员始终负责以安全的方式驾驶车辆。
操纵车辆的速度信号可能导致 AEB 出现故障或发生激活错误。

注意!

更换挡风玻璃之后,前视摄像头必须进行校准。

碰撞警告

当 AEB 检测到碰撞风险时,系统将分三步激活:

  1. 仪表盘上显示红色警告,伴有声音信号。
  2. 如果驾驶员不做出反应并且风险仍然存在,则 AEB 将轻轻制动车辆。
  3. 如果驾驶员仍不做出其他反应且风险仍然存在,则 AEB 将全力制动车辆。

驾驶员始终可以通过以下方式取消警报或制动:

  • 按下仪表板中的 AEB 开关
  • 用力快速地踩下油门踏板
  • 将油门踏板踩至强制降档位置

前期,驾驶员还可通过以下方式取消警告:

  • 踩下刹车踏板
  • 激活转向信号

驾驶员始终可以通过踩下刹车踏板以掌控刹车。 这样可以取消警告和自动刹车。 越是危急的情况,必须越加用力地踩下刹车踏板。

如果激活了自适应巡航控制系统,则该系统可提供碰撞警告
并尝试在 AEB 警告之前使情形得以缓和。

全力制动车辆并且车辆处于静止状态之后,刹车将保持数秒,以防止车辆移动。 如果驾驶员踩下刹车或油门踏板,刹车将释放。

碰撞风险符号

启动和可用性

AEB 将在开启电压时自动启动。开关中亮起绿灯。

可通过开关停用 AEB。 开关中亮起黄灯。 开关为弹簧复位式开关,同时也是 AEB 的重置开关。

AEB 在以下情况下可用:

  • 车速超过 15 公里/小时

可在以下情况下限制或停用 AEB:

  • 距离传感器被阻挡或存在缺陷
  • 摄像头被阻挡或存在缺陷
  • 车辆或挂车的刹车系统存在故障
  • 车辆的空气悬架设置远远超出正常
    驾驶位置
  • 车辆在黑暗中行进

AEB 高级碰撞缓冲系统开关

当 AEB 受限时,仪表盘上将显示一个黄色符号和一条消息。 

可能显示以下消息:

系统故障

  • AEB 因距离传感器故障而被停用。

性能下降

  • AEB 受限,但仍然部分启用。 AEB 无法及时制动或发出碰撞警告。 

AEB 受限符号

当距离传感器或摄像头被泥污、雪或冰阻挡时,仪表盘上将显示相应的符号和一条消息。

如果问题未纠正,AEB 功能将被停用或受到限制。

如果摄像头被阻挡,或许只需启动挡风玻璃雨刮器即可。 确保使之保持清洁,免于沾染泥污、雪和冰。

  1. 被阻挡的距离传感器
  2. 被阻挡的摄像头

警告!

AEB 只是一种辅助工具,在某些交通环境下可能难以正确识别车辆或确定其位置。 AEB 可能无法检测某些碰撞风险,或者在没有任何碰撞风险的情况下被启用。

各种交通状况

在进弯和出弯时,AEB 可能难以识别前方道路。 因此,AEB 可能遗漏道路车辆警告或发出错误的路边车辆警告。

弯道

在出口或岔道以及当车辆在硬质路肩上行驶时,AEB 可能难以识别前方车辆。

出口、岔道和硬质路肩

如果车辆变道至您正前方,则当该车辆进入识别区域之前,AEB 将无法识别该车辆。 

变道

车辆信息仪表

仪表盘

  1. 速度表
  2. 转向信号
  3. 显示
  4. 一般警告符号和指示符号
  5. 转速表
  6. 燃油液位计
  7. 指示灯和警告符号
  8. 发动机冷却液温度表
  9. 显示屏右侧显示还原剂液位、室外温度和时钟。

转速表

转速表显示发动机的每分钟转速 (rpm)。

该仪表有 4 个区域:

  • 白色,0-2,000 rpm 和 2,200-2,400 rpm。
  • 蓝色,2,000-2,400 rpm。 在这一位置,发动机辅助刹车
    最为强劲。
  • 红色,超过 2,400 rpm。 当发动机转速在红色区域时,发动机有损坏的危险。

仪表盘

显示屏和符号

关于显示屏、一般警告和指示符号以及特殊上装符号的更多信息,请参考以下文件: 

驾驶室倾掀装置

警告!

驾驶时必须将泵阀保持在下放位置。 以免液压机构开始举升驾驶室而造成损坏。

在倾掀驾驶室之前,必须先关闭发动机,然后启动手剎车并将排挡杆排入空档。

当驾驶室处于中间位置时,请勿在驾驶室下方作业。 务必使驾驶室完全倾掀。

在驾驶室倾掀时,切不可走到驾驶室前面或后面。

驾驶室倾掀时,车辆应置于水平地面。 如果车辆置于斜度超过 10% 的坡道上,则切不可倾掀驾驶室。

驾驶室倾掀装置

当驾驶室正确下放时,将有两把机械锁将其锁定,机械锁在倾掀时通过液压开启。   

倾掀驾驶室(操纵杆)

重要信息!

倾掀驾驶室之前,必须打开前饰板侧板。

  1. 使用手刹。
  2. 将排挡杆置于空档。
  3. 移除驾驶室中的任何松动物件和重型设备。
  4. 关闭车门。
  5. 将泵阀设为倾掀位置。 使用转接件或操纵杆。
  6. 将转接件装至泵体定位销上。 使用转接件装配操纵杆。
  7. 使用操纵杆和驾驶室锁的泵将自动打开。
  8. 持续泵压,直至驾驶室靠自身重量向前倾掀。 继续泵压,直至能从泵杆感受到反压力,且驾驶室达到最大打开角度。
  1. 驾驶室倾掀泵
  2. 泵阀

根据驾驶室倾掀或下放操作设置泵阀。上图显示了倾掀时阀门的位置。下图显示了下放过程中的阀门位置。使用操纵杆或转接件将泵阀设置至正确的位置。

将驾驶室掀回位(操纵杆)

警告!

下放驾驶室时存在压伤风险。 在将驾驶室下放至原始位置的最后阶段,驾驶室将自由下降。

  1. 关闭车门。
  2. 将泵阀设置到位以将驾驶室掀回位。
  3. 使用操纵杆将驾驶室泵回原位,直到驾驶室
    回落至驾驶位置的移动区域。

将泵阀保留在下放位置。

倾掀驾驶室(电动)

重要信息!

倾掀驾驶室之前,必须打开前饰板侧板。

  1. 使用手刹。
  2. 将排挡杆置于空档。
  3. 按下驾驶室倾掀装置开关。
  4. 移除驾驶室中的任何松动物件和重型设备。
  5. 关闭车门。
  6. 打开上前饰板和前饰板的侧板。 
  7. 取出驾驶室倾掀装置的遥控器。 遥控器位于前饰板下面。 按住遥控器背面的启动按钮,按下倾掀按钮,直到驾驶室靠自身重量向前倾掀后放开。 继续按住启动和倾掀按钮,直到驾驶室达到最大张开角度。  

驾驶室倾掀装置开关

注意!

确保只有经授权人士有权使用驾驶室倾掀装置的遥控器。

将驾驶室掀回位(电动)

警告!

下放驾驶室时存在压伤风险。 在将驾驶室下放至原始位置的最后阶段,驾驶室将自由下降。

驾驶室倾掀装置遥控器

  1. 关闭车门。
  2. 取出驾驶室倾掀装置的遥控器。 遥控器位于前饰板下面。 按住遥控器背面的启动按钮,按下下放按钮,直到驾驶室回落至驾驶位置的移动区域。
  3. 重置驾驶室倾掀装置开关。
  4. 关闭前饰板侧板和上部前饰板。

车轮更换

警告!

更换驱动轴上的车轮之前,请关闭电压和蓄电池总开关。

切勿在只有千斤顶支撑的车辆底下进行作业。 在升高的车辆下作业时,为最大限度地确保安全,必须固定底盘和移动轴悬架,防止其坠落。 此作业有很大的压伤风险。

切勿在未完全做好防坠落固定措施的情况下进入空气悬挂车辆下方,以防气囊压力发生变化。 此作业有很大的压伤风险。

拆卸

1. 挂低速挡,将钥匙转至锁定位置。 如为自动变速箱,则将驾驶模式选择器置于空挡位置。

警告!

必须挡住车轮,防止车辆在作业时发生移动。

2. 将着地的车轮前后用轮档挡住。

3. 释放待更换的车轮的手刹,确保紧固时车轮和刹车鼓顶住轮毂。

4. 标记轮毂的钢圈位置。

5. 拧松车轮螺母,但不要取下。

6. 升高车辆。

 

警告!

确保千斤顶牢牢站立在水平地面上。

重要信息!

务必将千斤顶置于指定的举升点。 置于其他位置可能会严重损坏车辆。

7. 取下车轮螺母和车轮。

重要信息!

检查 - 行驶大约 100 km 后,请将车轮螺母拧紧至 600 Nm。

将着地的车轮前后用轮档挡住。

标记轮毂的钢圈位置。

安装

1. 彻底清洁接触表面。 使用钢丝刷。
有些钢圈上有限位环。请一并清洁。

注意!

如果喷漆、锈蚀和脏污层过厚,可能导致车轮螺母变松,并导致钢圈螺栓孔和刹车鼓变成椭圆形。

2. 清洁车轮螺栓的螺纹。

注意!

确认正在开展作业的轴上的手刹已松开。

3. 将车轮重新安装至之前取下时的位置。 检查标记。

4. 按图中所示的正确顺序拧紧车轮螺母。 切勿使用飞轮型螺母扳手。 这些螺母必须拧紧至扭矩 600 Nm。

重要信息!

Scania 维修厂必须拧紧车轮螺母至正确的扭矩。 如果扭矩过高或过低,可能导致车轮松动或者导致刹车鼓变成椭圆形。

5. 下放车辆,取下轮档。

安装前必须予以清洁的零件

车轮螺母的拧紧顺序

Scania 建议在车轮螺杆和车轮螺母上画一条线,以便于检测到任何偏差。 使用记号笔。 如果车轮螺母发生偏差,将车轮螺母完全取下,再次重新安装。

重要信息!

检查 - 行驶大约 100 km 后,请将车轮螺母拧紧至 600 Nm。

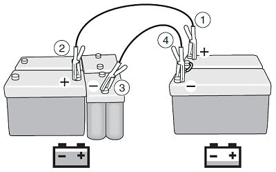
借电启动

警告!

使用启动机导线时,请勿靠近蓄电池。 蓄电池可能爆炸,引起大范围损伤。

如果环境中存在汽油和乙醇等易燃气体或液体,请勿连接蓄电池。

严格遵照指导说明以防止人身伤害或重大损伤。

重要信息!

倾掀驾驶室之前,必须打开前饰板侧板。

如果车辆的蓄电池已充电但没有足够的电流来启动发动机,您可以将其连接至其他蓄电池。

两个系统必须有相同的蓄电池电压 (24 V)。

使用带绝缘夹的粗启动机导线(至少 25 mm²)。   

准备工作:

  • 给车辆蓄电池充电后,启动发动机。

继续按如下描述进行操作(选项 1):

  1. 连接至低蓄电池电压车辆上的伺服蓄电池正极 (+)。
  2. 连接至蓄电池已充满的车辆上的蓄电池正极 (+)。
  3. 连接至蓄电池已充满的车辆上的蓄电池负极 (-)。
  4. 连接至低蓄电池电压车辆上的伺服蓄电池负极 (-)。 最后一根导线在连接时可能会产生火花。
  5. 启动低蓄电池电压车辆上的发动机。 切勿靠近蓄电池。
  6. 当发动机启动时,首先断开低蓄电池电压车辆的蓄电池负极 (-) 导线,然后再断开其他导线。
  7. 如果发动机未能启动, 根据步骤 6 断开导线,重复所有步骤,但有一个步骤例外。 在第 1 步中,连接至低蓄电池电压车辆的内置蓄电池正极 (+)。

当车辆正在提供启动辅助时,按如下所述继续操作:

  1. 连接至低蓄电池电压车辆上的蓄电池
    正极 (+)。
  2. 连接至蓄电池已充满的车辆上的伺服蓄电池正极 (+)。
  3. 连接至蓄电池已充满的车辆上的伺服蓄电池负极 (-)。
  4. 连接至低蓄电池电压车辆上的蓄电池负极 (-)。 最后一根导线在连接时可能会产生火花。
  5. 启动低蓄电池电压车辆上的发动机。 切勿靠近蓄电池。
  6. 当发动机启动时,首先断开低蓄电池电压车辆的蓄电池负极 (-) 导线,然后再断开其他导线。

注意!

如果大梁上的保护漆受损,则必须立即修补。

重要信息!

发动机难以启动时的建议:
启动马达将在 35 秒后自动禁用。 
运行启动马达,最长运行时间 30 秒。 如果发动机首次无法启动:将启动钥匙转回无线电位置,等待大约 30 秒,以使启动马达恢复。
如果发动机在尝试 2 次之后仍未启动,则在尝试下 2 次之前,启动马达必须休息至少 5 分钟。展开调查,看是否存在其他故障,例如,燃油系统故障。

湿式组件

调节液压系统中的压力

液压系统中的压力可通过两个固定位置设置为 150 或 220 bar。 检查液压设备与系统的连接需要哪一种压力,并使用旋转控制设置该压力。 旋转控制卡入终端位置,禁止将其设在中间位置。

重要信息!

连接之前,务必检查已设置的系统压力,确保其不超过液压设备的最大规定压力,以避免损坏设备。

使用旋转控制设置液压系统中的压力。

EG 取力器

变速箱驱动型取力器 EG 将动力从变速箱传输至外部设备。该取力器装于变速箱上,由变速箱副轴驱动,通常不接合。 启动 EG 取力器之前,启动钥匙必须处于驾驶位置,气压必须高于 5 bar。

车身制造商可选择其他适用的要求。

重要信息!

驾驶之后,怠速运行发动机约 1 分钟,然后将其关闭。 否则有损害涡轮增压器的危险。

一辆车可配备多台取力器。

您可以按下巡航定速控制开关上的 + 或 - 控制 EG 取力器的发动机转速。

重要信息!

当您使用高速 EG 取力器时,车辆应尽可能置于水平地面。 处于下坡路面时,只可短期运行。

对于带半档式档位的变速箱,根据变速箱处于空档时是否接合低半档或高半档,同一发动机转速下可为取力器提供 2 种不同的转速。  

将控制杆朝着靠近您或远离您的方向移动,从而使用辅助刹车控制杆手动更改半档模式。 

当 EG 取力器接合时,驾驶期间的所有换挡都将停用。 但是,您可以在车辆静止状态下换挡。如果车辆驾驶时启动了 EG 取力器,则仪表盘上将显示一条消息。

接合

重要信息!

仅在未负载时接合和脱开取力器。 仅在取力器未负载时换挡,否则可能损坏变速箱。

  1. 确保车辆处于静止状态。
  2. 如果发动机正在运行,踩下离合器踏板,或挂空档。
  3. 按下开关。
  4. 等待取力器符号在仪表盘上显示。
  5. 如果发动机正在运行,慢慢释放离合器(手动变速箱)。

注意!

如果 10 秒之后未显示符号,则慢慢释放离合器,以便齿轮到达正确位置。 请勿再次按下开关。

重要信息!

如果自动变速箱发出异常噪音,则立即按下开关。 然后取力器将自动脱开。

注意!

如果取力器符号(自动变速箱)在 20 至 30 秒之后仍未在仪表盘上显示,则重复步骤 3 和 4。

脱开

  1. 如果发动机正在运行,踩下离合器踏板,或挂空档。
  2. 按下取力器开关。
  3. 等待取力器符号消失。
  4. 如果发动机正在运行,慢慢释放离合器(手动变速箱)。

EG 取力器开关

EK 取力器

取力器是一个外部轴颈,用于将动力从发动机传输至外部附件。 EK 取力器位于发动机和变速箱之间,由发动机驱动。 通常,取力器处于脱开状态。

您可以按下巡航定速控制开关上的 + 或 - 控制 EK 取力器的发动机转速。

重要信息!

接合取力器之前,发动机必须关闭

接合

  1. 关闭发动机。
  2. 挂空档。
  3. 将钥匙转动至驾驶位置。
  4. 启动开关。
  5. 启动发动机。

脱开

  1. 确保取力器未负载。
  2. 停用开关。

EK 取力器开关

ED 取力器

取力器将动力从发动机传输至外部附件。 ED 取力器由正时齿轮直接驱动,并在发动机启动时旋转。 开关可激活液压装置,并向外部系统输送压力。

车身制造商可选择其他适用的要求。

您可以按下巡航定速控制开关上的 + 或 - 控制 ED 取力器的发动机转速。

接合

  • 启动开关。

脱开

  • 停用开关。

ED 取力器开关

EXT 开关

EXT 开关是一个安全功能,允许从车辆外部控制车辆的部分功能。 您所能控制的功能取决于车辆的设备和车辆上装系统中创建的逻辑。 

当您按下 EXT 开关时,仪表盘中的 EXT 符号会亮起。

EXT 开关。 当需要从车外控制车辆的某些功能时,请按此开关。