Sürücü El Kitabı'ndan alıntılar

Aşağıdaki sekmelerde, aracın sürücü el kitabından alınan ve üstyapı imalatçısına yardımcı olabilecek bilgileri bulabilirsiniz. 

NOT! Bilgiler aracın teknik özelliklerine bağlı olarak değişiklik gösterebilir.

Sürücü el kitabı, Android ve iOS cihazları için de kullanılabilir.

Sürücü el kitabı dosyasını indirmek için cihazınızda aşağıdaki bağlantıya tıklayın

Yokuş Tutuşu

ÖNEMLİ!

Aracın kilitli tekerleklerle kayma riski olduğundan kış yol koşullarında yokuş tutuşunu kullanmayın.

Yokuşa tırmanmayı kolaylaştırmak için yokuş tutuşunu kullanın.

Yokuş tutuşunu kullanmak için:

  • Araçta gücü açın
  • Yokuş tutuşu etkinleştirildiğinde yanan anahtara basın.
  • Bu noktada fren pedalına bastığınızda bir klik sesi duyulur; sonrasında fren basıncı fren pedalını serbest bırakabileceğiniz şekilde korunur. Fren pedalına ne kadar sert basarsanız yokuş tutuşu o kadar kuvvetle uygulanır.

Yokuş tutuşu anahtar kullanarak fonksiyonu kapatana kadar kullanılabilir. Fonksiyon araç kapatılırken etkinleştirilirse yokuş tutuşu aracın bir sonraki çalıştırılmasında etkinleşir.

NOT!

Fren basıncı çok düşükse veya fren uygulamanın sonunda ABS etkinse yokuş tutuşu etkinleştirilmez.

Yokuş tutuşu anahtarı

UYARI!

Sürücü bölgesini terk etmeden önce daima el frenini çekin.

Pedalları tamamen bırakırsanız birkaç saniye sonra yokuş tutuşu serbest kalır ve araç hareket etmeye başlayabilir. Yokuş tutuşu serbest kalmadan önce uyarı sinyali duyulur ve ekranda bir uyarı metni görüntülenir.

Vitesi attığınızda, freni serbest bıraktığınızda ve hafifçe hızlandığınızda yokuş yutuşu otomatik olarak serbest kalır.

Otomatik Acil Durum Freni

AEB, ileriye bakan bir kamera ve mesafe sensörü kullanarak öndeki herhangi bir araçla meydana gelebilecek kazaların sonuçlarını azaltabilen gelişmiş bir acil durum frenleme sistemidir.

UYARI!

AEB yalnızca yardımcı bir özelliktir. AEB kendini sürüş koşullarına veya havaya göre ayarlamaz. Aracı güvenli bir şekilde sürmek daima sürücünün sorumluluğundadır.
Aracın hız sinyalinin değiştirilmesi, AEB’nin arızalanmasına veya hatalı biçimde çalışmasına neden olabilir. 

NOT!

Ön cam değiştirildikten sonra ileri bakan kameranın kalibre edilmesi gerekir.

Çarpışma uyarısı

AEB bir çarpışma riski tespit ettiğinde sistem üç adımda etkinleştirilir:

  1. Gösterge grubunda sesli sinyali olan kırmızı bir uyarı görüntülenir.
  2. Sürücü tepki vermezse ve risk devam ederse AEB aracı hafifçe frenler.
  3. Başka bir hamle yapılmazsa ve risk hala devam ediyorsa AEB tüm gücüyle aracı frenler.

Sürücü uyarıyı veya frenlemeyi her zaman şu şekilde iptal edebilir:

  • Gösterge panelindeki AEB anahtarına basarak
  • Gaz pedalına sağlam ve hızlı bir şekilde basarak
  • Gaz pedalına vites düşürme konumuna kadar basarak

Erken bir aşamada sürücü uyarıyı şu şekilde de iptal edebilir:

  • Fren pedalına basarak
  • Sinyal lambalarını etkinleştirerek

Sürücü fren uygulamasının kontrolünü istediği zaman fren pedalına basarak alabilir. Bu, uyarıyı ve otomatik frenlemeyi iptal eder. Durum ne kadar kritikse fren pedalına o kadar sert basılmalıdır.

Etkinleştirilirse Uyarlanabilir seyir kontrolü bir
çarpışma uyarısı verebilir ve AEB uyarmadan önce sorunu gidermeyi deneyebilir.

Araç tüm kuvvetle frenlenip durduktan sonra frenler aracın hareket etmesini önlemek için aracı birkaç saniye tutar. Sürücü fren veya gaz pedalına basarsa frenler serbest bırakılır.

Çarpışma riski sembolü

Etkinleştirme ve kullanılabilirlik

Voltaj açıldığında AEB otomatik olarak etkinleştirilir. Anahtardaki lamba yeşil yanar.

AEB, anahtar kullanılarak devre dışı bırakılabilir. Anahtardaki lamba sarı yanar. Anahtar yay yüklüdür ve aynı anahtar AEB’yi sıfırlar.

AEB şu durumda kullanılabilir:

  • Araç hızı 15 km/saat'i geçtiğinde

AEB şu durumlarda sınırlanabilir veya devre dışı bırakılabilir:

  • Mesafe sensörü engellendiğinde veya bozuk olduğunda
  • Kamera engellendiğinde veya bozuk olduğunda
  • Aracın veya römorkun fren sisteminde arıza olduğunda
  • Aracın hava süspansiyonu normal sürüş konumunun
    çok dışına ayarlandığında
  • Araç karanlıkta sürüldüğünde

AEB; gelişmiş acil durum frenlemesi için anahtar

AEB sınırlandığında, gösterge grubunda bir mesajla birlikte sarı bir sembol görüntülenir. 

Aşağıdaki mesajlar görüntülenebilir:

Sistem arızası

  • AEB, mesafe sensöründeki bir arıza nedeniyle devre dışı bırakıldı.

Sınırlı fonksiyon

  • AEB sınırlandı ve hala kısmen etkin. AEB olası bir çarpışma durumunda zamanında frenlemeyebilir veya uyarı vermeyebilir. 

Sınırlı AEB sembolü

Mesafe sensörü veya kamera; mesela kir, kar veya buz ile engellendiğinde, ilgili sembol, bir mesaj ile birlikte gösterge grubunda görüntülenir.

Sorun düzeltilmezse AEB fonksiyonu devre dışı kalır veya sınırlanır.

Kamera engellenirse, ön cam sileceklerini etkinleştirmek yeterli olabilir. Kamerayı kirden, kardan ve buzdan koruyun.

  1. Engellenmiş Mesafe Sensörü
  2. Engellenmiş Kamera

UYARI!

AEB yalnızca yardımcı bir özelliktir ve bazı trafik durumlarında araçları tespit edemeyebilir veya konumlarını doğru olarak belirleyemeyebilir. AEB, bir çarpışma riskini gözden kaçırabilir veya böyle bir risk olmadığı halde devreye girebilir.

Farklı trafik koşulları

Viraja girerken veya virajdan çıkarken AEB için yaklaşan yolu tespit etmek zor olabilir. Bu nedenle AEB yoldaki araçları ıskalayarak uyarı vermeyebilir veya yol kenarındaki araçlar için hatalı uyarı verebilir.

Virajlar

Çıkışlarda veya kaygan yollarda araçlar emniyet şeridinde hareket ederken AEB için öndeki araçları tanımak zor olabilir.

Çıkışlarda veya kaygan yollarda ve emniyet şeridinde

Aracınızın hemen önünden sizin şeridinize geçen bir araç, tanınma bölgesine girene kadar AEB tarafından tanınmayabilir. 

Şerit değiştirme

Araç bilgilerine yönelik gereçler

Gösterge grubu

  1. Kilometre saati
  2. Sinyal lambası
  3. Ekran
  4. Genel uyarı sembolleri ve gösterge sembolleri
  5. Takometre
  6. Yakıt seviyesi göstergesi
  7. Gösterge lambaları ve uyarı sembolleri
  8. Motor soğutma suyu sıcaklığı
  9. Sağ ekran; indirgeyici seviyesini, dış sıcaklığı ve saati gösterir.

Takometre

Takometre, dakika başına devir (dev/dak) olarak motorun dönüş hızını gösterir.

Göstergede 4 alan vardır:

  • Beyaz, 0-2.000 dev/dak ve 2.200-2.400 dev/dak.
  • Mavi, 2.000-2.400 dev/dak. Bu aralıkta motorun yardımcı freni
    en güçlüdür.
  • Kırmızı, 2.400 dev/dak'nın üzeri. Motor devri kırmızı alandayken motorda hasar oluşması riski vardır.

Gösterge Grubu

Ekran ve semboller

Ekran, genel uyarı ve gösterge sembolleri ve özel üstyapı sembolleri hakkında daha fazla bilgi aşağıdaki belgelerde verilmiştir: 

Kabin Yatırma

UYARI!

Pompa valfi sürüş sırasında indirme konumunda olmalıdır. Aksi takdirde, hidrolik sistem kabini yukarı kaldırmaya çalışarak hasar görmesine neden olabilir.

Kabini kaldırmadan önce motoru durdurmanız, el frenini çekmeniz ve vites kolunu boş konumuna getirmeniz gerekir.

Ara konumdayken kabinin altında çalışmayın. Her zaman için kabini öne doğru tamamen eğin.

Eğme işlemi sırasında, kabinin önünde veya arkasında durmayın.

Kabin eğme işlemi sırasında araç düz konumda bulunmalıdır. Araç yüzde 10’dan daha eğimli bir yokuştayken kabini asla eğmeye çalışmayın.

Kabin eğme cihazı

Kabin doğru bir şekilde indirildiğinde, kaldırma sırasında hidrolik olarak açılmış olan 2 mekanik kilit ile kilitlenir.   

Kabinin kaldırılması (tutma çubuğu)

ÖNEMLİ!

Ön ızgaranın yan panellerinin kabini eğerken açık olması gerekir.

  1. El frenini çekin.
  2. Vites kolunu boş konuma getirin.
  3. Tüm sabitlenmemiş nesneleri ve ağır donanımı kabinden sökün.
  4. Kapıları kapatın.
  5. Pompa valfini eğme konumuna getirin. Adaptörü veya tutma çubuğunu kullanın.
  6. Adaptörü pompa pimine uydurun. Tutma çubuğunu adaptöre monte edin.
  7. Tutma çubuğunu kullanarak pompalarsanız kabin kilidi otomatik olarak açılır.
  8. Kabin kendi ağırlığıyla öne doğru eğilene kadar pompalayın. Pompa kolunda ters basınç hissedilene ve kabin tamamen açık açısına ulaşana kadar pompalamaya devam edin.
  1. Kabin eğme pompası
  2. Pompa valfi

Pompa valfinin kabini eğmek veya indirme için ayarlanması. Yukarıdaki çizimde valfin eğme sırasındaki konumu gösterilmektedir. Aşağıdaki çizimde valfin indirme sırasındaki konumu gösterilmektedir. Pompa valfini doğru konuma ayarlamak için tutma çubuğunu veya adaptörü kullanın.

Kabini geri kaldırın (tutma çubuğu)

UYARI!

Kabin indirilirken ezilme nedeniyle yaralanma riski vardır. Kabin, normal durumuna tekrar indirilirken son aşamada yerine düşerek oturur.

  1. Kapıları kapatın.
  2. Kabini geri kaldırmak için pompa valfini gerekli konuma getirin.
  3. Sürüş konumunun hareket bölgesine geri düşene kadar
    kabini tutma çubuğuyla geri pompalayın.

Pompa valfini indirme konumunda bırakın.

Kabini eğme (elektronik olarak)

ÖNEMLİ!

Ön ızgaranın yan panellerinin kabini eğerken açık olması gerekir.

  1. El frenini çekin.
  2. Vites kolunu boş konuma getirin.
  3. Kabin eğme anahtarına basın.
  4. Tüm sabitlenmemiş nesneleri ve ağır donanımı kabinden sökün.
  5. Kapıları kapatın.
  6. Üst ön ızgara panelini ve ön ızgara panelinin yan panellerini açın. 
  7. Kabin eğme uzaktan kumandasını çıkarın. Uzaktan kumanda ön ızgara panelinin altındadır. Uzaktan kumandanın arkasındaki etkinleştirme düğmesini basılı tutun, eğme düğmesine basın ve kabin kendi ağırlığı ile öne eğilene kadar basılı tutun. Kabin tamamen açık açısına ulaşana kadar etkinleştirme ve eğme düğmelerine basmaya devam edin.  

Kabin eğme anahtarı

NOT!

Kabini eğme uzaktan kumandasına yetkisi olmayan hiç kimsenin erişimi olmadığından emin olun.

Kabini geri kaldırın (elektronik olarak)

UYARI!

Kabin indirilirken ezilme nedeniyle yaralanma riski vardır. Kabin, normal durumuna tekrar indirilirken son aşamada yerine düşerek oturur.

Kabin eğme uzaktan kumandası

  1. Kapıları kapatın.
  2. Kabin eğme uzaktan kumandasını çıkarın. Uzaktan kumanda ön ızgara panelinin altındadır. Uzaktan kumandanın arkasındaki etkinleştirme düğmesini basılı tutun, indirme düğmesine basın ve kabin sürüş konumunun hareket bölgesine geri gelene kadar bu düğmeleri basılı tutun.
  3. Kabin eğme anahtarını sıfırlayın.
  4. Ön ızgara panelinin yan panellerini ve üst ön ızgara panelini kapatın.

Tekerlek değiştirilmesi

Uyarı!

İlave akstaki tekerlekleri değiştirmeden önce voltajı ve akü ana anahtarını kapatın.

Sadece tek krikoyla kaldırılan aracın altına asla girmeyin. Havaya kaldırılmış bir araç altında çalışırken maksimum güvenliği sağlamak için hem şasinin hem de hareket eden aks süspansiyonlarının düşmeyecek biçimde sabitlenmesi gerekir. Ezilme sonucu oluşabilecek ciddi fiziksel yaralanma riski vardır.

Hava körüklerindeki basıncın değişmesi durumunda düşme riski söz konusu olduğundan; tamamen sabitlenmemiş, havada asılı bir aracın altından asla geçmeyin. Ezilme sonucu oluşabilecek ciddi fiziksel yaralanma riski vardır.

Tekerleğin Sökülmesi

1. Aracı düşük bir vitese geçirin ve anahtarı kilitli konumuna getirin. Otomatik şanzıman için sürüş modu seçicisini boş konumuna getirin.

Uyarı!

İşlem sırasında aracın hareket etmesini önlemek için tekerlekleri desteklemeniz gerekir.

2. Tekerleklerin zeminde kalacak olan kısımlarını ön ve arka taraflardan destekleyin.

3. Tekerleğin ve fren davlumbazının sıkma sırasında poyraya karşı durmasını sağlamak üzere tekerlek değiştirirken el frenini indirin.

4. Poyra için jant konumunu işaretleyin.

5. Bijon somunlarını sökmeden gevşetin.

6. Aracı kaldırın.

 

Uyarı!

Krikonun zeminde sağlam bir şekilde durduğundan emin olun.

ÖNEMLİ!

Krikoyu yalnızca belirtilen kaldırma noktalarına yerleştirin. Krikonun farklı bir noktaya yerleştirilmesi, aracın ciddi biçimde hasar görmesine neden olabilir.

7. Bijon somunlarını ve tekerleği sökün.

ÖNEMLİ!

Yaklaşık 100 km'lik sürüş sonrasında bijon somunlarını kontrol edin ve gerekirse 600 Nm torkla sıkın.

Tekerleklerin zeminde kalacak olan kısımlarını ön ve arka taraflardan destekleyin.

Poyraya göre jant konumunu işaretleyin.

Takma

1. Temas yüzeylerini iyice temizleyin. Bu işlem için tel fırça kullanın.
Bazı jantlarda aralık bileziği bulunur, bunları da temizlemeyi unutmayın.

NOT!

Zamanla kalınlaşan boya katmanı, toz ve kir; bijon somunlarının gevşemesine ve jant ve fren davlumbazı üzerindeki cıvata deliklerinin oval hale gelmesine neden olabilir.

2. Bijon somunlarının dişlerini temizleyin.

NOT!

Üzerinde çalıştığınız aksa bağlı el freninin indirilmiş olduğundan emin olun.

3. Tekerleği sökülmeden önceki konumunda olacak şekilde yerine geri takın. İşareti kontrol edin.

4. Bijon somunlarını resimde gösterildiği gibi doğru sıkma sırası ile sıkın. Asla kardan tipi döküm somun başı kullanmayın. Somunlar 600 Nm torkla sıkılmalıdır.

ÖNEMLİ!

Bijon somunlarının bir Scania servisinde doğru torkla sıkılmasını sağlayın. Çok yüksek veya düşük tork, tekerleğin gevşemesine veya fren kampanasının oval hale gelmesine neden olabilir.

5. Aracı indirin ve tekerlek desteklerini çıkarın.

Takılmadan önce temizlenmesi gereken parçalar

Bijon somunlarını sıkarken izlenmesi gereken sıra

Scania, olası bir sapmanın daha kolay tespit edilebilmesi için bijon ve bijon somunları üzerine çizgi çizilmesini önerir. Bu işlemde bir işaretleme kalemi kullanın. Bijon somununun tam olarak oturmaması durumunda, somunu tamamen söküp çıkarın ve yeniden takın.

ÖNEMLİ!

Yaklaşık 100 km'lik sürüş sonrasında bijon somunlarını kontrol edin ve gerekirse 600 Nm torkla sıkın.

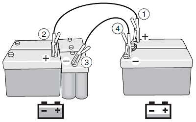
Takviye kablosuyla çalıştırma

UYARI!

Marş kablolarını kullanırken akülere yakın durmayın. Akü patlaması, ciddi biçimde hasara yol açabilir.

Petrol ve etanol gibi yanıcı gazların veya sıvıların olduğu bir ortamda aküleri birbirine bağlamayın.

Kişisel yaralanmayı ve malzemenin hasar görmesini önlemek için talimatlara kesin olarak uyun.

ÖNEMLİ!

Ön ızgaranın yan panellerinin kabini eğerken açık olması gerekir.

Aracın aküleri boşalırsa ve motoru çalıştıracak kadar akıma sahip değilse aküleri başka akülere bağlayabilirsiniz.

İki sistemin de 24 V’lik aynı akü voltajına sahip olması gerekir.

Yalıtımlı kelepçeleri olan kalın (en az 25 mm²) takviye kablosu kullanın.   

Hazırlıklar:

  • Aküleri dolu olan araçtaki motoru çalıştırın.

Aşağıdaki şekilde ilerleyin (seçenek 1):

  1. Akü voltajı düşük olan araçtaki servis aküsünün artı ucuna (+) bağlantı yapın.
  2. Aküsü tamamen dolu olan araçtaki akünün artı ucuna (+) bağlantı yapın.
  3. Aküsü tamamen dolu olan araçtaki akünün eksi ucuna (-) bağlantı yapın.
  4. Akü voltajı düşük olan araçtaki servis aküsünün eksi ucuna (-) bağlantı yapın. Bu son kablo bağlanırken kıvılcım çıkarabilir.
  5. Akü voltajı düşük olan araçtaki motoru çalıştırın. Akülere yakın durmayın.
  6. Motor çalıştığında ilk olarak akü voltajı düşük olan araçtaki akünün eksi ucundaki (-) kablo bağlantısını ve daha sonra diğer kabloların bağlantılarını kesin.
  7. Motor çalışmazsa. Kabloların bağlantısını adım 6’ya göre kesin ve biri hariç tüm adımları tekrarlayın. Adım 1’de akü voltajı düşük olan aracın iç aküsünün artı ucuna (+) bağlantı yapın.

Araç çalıştırma yardımı verdiğinde aşağıdaki şekilde ilerleyin:

  1. Akü voltajı düşük olan araçtaki akünün artı ucuna (+)
    bağlantı yapın.
  2. Aküsü tamamen dolu olan araçtaki servis aküsünün artı ucuna (+) bağlantı yapın.
  3. Aküsü tamamen dolu olan araçtaki servis aküsünün eksi ucuna (-) bağlantı yapın.
  4. Akü voltajı düşük olan akünün eksi ucuna (-) bağlantı yapın. Bu son kablo bağlanırken kıvılcım çıkarabilir.
  5. Akü voltajı düşük olan araçtaki motoru çalıştırın. Akülere yakın durmayın.
  6. Motor çalıştığında ilk olarak akü voltajı düşük olan araçtaki akünün eksi ucundaki (-) kablo bağlantısını ve daha sonra diğer kabloların bağlantılarını kesin.

NOT!

Şasideki koruyucu boya zarar görürse derhal rötuş yapılmalıdır.

ÖNEMLİ!

Motor çalıştırma güçlüğü yaşarsanız şunları yapmayı deneyin:
35 saniye sonra marş motoru otomatik olarak bloke olur. 
Marş motorunu maks. 30 saniye çalıştırın. Motor ilk denemede çalışmazsa anahtarı radyo konumuna geri döndürün ve marş motorunun düzelmesi için yaklaşık 30 saniye bekleyin.
Motor 2 denemeden sonra çalışmazsa, marş motoru en az 5 dakika dinlendirildikten sonra 2 yeni deneme daha yapılabilir.   Böyle bir durumda; yakıt sistemi gibi farklı bir bileşenin arızalı olup olmadığını araştırın. 

Islak Kit

Hidrolik sistemdeki basıncı ayarlama

Hidrolik sistemdeki basınç 2 sabit konumla 150 veya 220 bara ayarlanabilir. Sisteme bağlanacak hidrolik ekipman için gerekli basıncı kontrol edin ve döner kontrol ile basıncı ayarlayın. Döner kontrol uç konumlara oturur ve ara bir konuma ayarlanmaması gerekir.

ÖNEMLİ!

Donanımın hasar görmesinin önlenmesi için bağlamadan önce ayarlı sistem basıncının hidrolik donanım için belirtilen maksimum basıncı aşıp aşmadığını daima kontrol edin.

Döner düğmeli kumandayı kullanarak hidrolik sistemdeki basıncı ayarlayın.

EG PTO

Vites kutusu tahrikli PTO, EG, vites kutusundan harici ekipmana güç aktarır. Vites kutusuna takılıdır ve vites dişli mili tarafından tahrik edilir ve normal olarak devrede değildir. EG PTO’yu etkinleştirmeden önce marş anahtarının sürüş konumunda ve hava basıncının 5 barın üzerinde olması gerekir.

Üstyapı imalatçısı uygulanması gereken başka koşullar belirleyebilir.

ÖNEMLİ!

Sürüş sonrasında kapatmadan önce motoru 1 dakika kadar rölantide çalıştırın. Aksi takdirde turbo şarjın hasar görmesi riski vardır.

Araç birkaç PTO ile donatılmış olabilir.

Seyir kontrolü üzerindeki + veya - işaretine basarak EG PTO için motor devrini kontrol edebilirsiniz.

ÖNEMLİ!

Yüksek devirli EG PTO kullandığınızda aracın mümkün olduğunca düz durması gerekir. Yokuş aşağı giderken yalnızca kısa bir süre için kullanılabilir.

Buçuk vitesli şanzımanlar için şanzıman boş konumdayken düşük veya yüksek buçuk oranın hangisinin devreye alınacağına bağlı olarak aynı motor devriyle 2 farklı devir PTO’ya verilebilir.  

Kolu kendinize veya ileriye doğru hareket ettirerek yardımcı fren kolunu kullanıp buçuk vites modunu manuel olarak değiştirebilirsiniz. 

EG PTO devreye alındığında sürüş sırasında tüm vites değiştirmeler engellenir. Ancak sabit durumdayken vites değiştirebilirsiniz. Araç EG PTO etkinken sürülürse, gösterge grubunda bir mesaj görüntülenir.

Devreye alma

ÖNEMLİ!

PTO'yu yalnızca araç yüksüz durumdayken devreye alın ve devreden çıkarın. Vitesi yalnızca PTO yüksüz durumdayken değiştirin; aksi takdirde şanzıman hasar görebilir.

  1. Aracın sabit konumda olduğundan emin olun.
  2. Motor çalışıyorsa debriyaj pedalına basın veya vitesi boşa alın.
  3. Anahtara basın.
  4. PTO sembolü gösterge grubunda görünene kadar bekleyin.
  5. Motor çalışıyorsa debriyajı yavaşça bırakın (manuel şanzıman).

NOT!

10 saniye sonra herhangi bir sembol görüntülenmediği takdirde, dişliler doğru konuma gelecek şekilde debriyajı yavaşça bırakın. Anahtara tekrar basmayın.

ÖNEMLİ!

Otomatik şanzımanın anormal gürültülü çalışması durumunda derhal anahtara basın. PTO otomatik olarak devre dışı kalacaktır.

NOT!

PTO sembolü (otomatik şanzıman) 20 ila 30 saniye sonra gösterge grubunda görünmezse, 3. ve 4. adımları tekrarlayın.

Devreden çıkarma

  1. Motor çalışıyorsa debriyaj pedalına basın veya vitesi boşa alın.
  2. PTO anahtarına basın.
  3. PTO sembolü sönene kadar bekleyin.
  4. Motor çalışıyorsa debriyajı yavaşça bırakın (manuel şanzıman).

EG PTO anahtarı

EK PTO

PTO, motordan harici aksesuarlara güç taşımak için harici bir şaft muylusudur. EK PTO motor ve şanzıman arasına takılır ve motor tarafından çalıştırılır. Normalde PTO devrede değildir.

Seyir kontrolü üzerindeki + veya - işaretine basarak EK PTO motor devrini kontrol edebilirsiniz.

ÖNEMLİ!

PTO'yu devreye almadan önce motorun kapatılması gerekir.

Devreye alma

  1. Motoru durdurun.
  2. Vitesi boşa alın.
  3. Anahtarı sürüş konumuna getirin.
  4. Anahtarı etkinleştirin.
  5. Motoru çalıştırın.

Devreden çıkarma

  1. PTO’nun yüklenmemiş olduğundan emin olun.
  2. Anahtarı devre dışı bırakın.

EK PTO anahtarı

ED PTO

PTO, motordan harici aksesuarlara güç aktarır. ED PTO doğrudan zamanlama dişlisi ile tahrik edilir ve motor çalıştırıldığında döner. Anahtar hidroliği etkinleştirir ve sisteme basınç sağlar.

Üstyapı imalatçısı uygulanması gereken başka koşullar belirleyebilir.

Seyir kontrolü üzerindeki + veya - işaretine basarak ED PTO için motor devrini kontrol edebilirsiniz.

Devreye alma

  • Anahtarı etkinleştirin.

Devreden çıkarma

  • Anahtarı devre dışı bırakın.

ED PTO anahtarı

EXT anahtarı

EXT anahtarı, aracın bazı özelliklerini aracın dışından kontrol etmeyi sağlayan bir emniyet fonksiyonudur. Kontrol edebileceğiniz fonksiyonlar aracın donanımına ve üstyapı sisteminde oluşturulmuş olan mantıklara bağlıdır. 

EXT anahtarına bastığınızda gösterge grubunda EXT sembolü yanar.

EXT anahtarı. Aracın fonksiyonlarından bazılarını aracın dışından kontrol etmeniz gerektiğinde anahtara basın.