Utdrag ur förarmanualen

På flikarna nedan finns utdrag ur fordonets förarmanual som kan vara användbara för påbyggaren. 

Obs! Informationen kan variera beroende på fordonsspecifikationen.

Förarhandboken finns även tillgänglig för Android- och iOS-enheter.

Klicka på länken nedan för din enhet för att ladda ned förarhandboken:

Backhållare

VIKTIGT!

Använd inte backhållaren vid vinterväglag eftersom det då finns risk för att fordonet slirar med låsta hjul.

Använd backhållaren för att förenkla start i backe.

För att använda backhållaren:

  • Slå på strömmen i fordonet
  • Tryck på knappen, som lyser när backhållaren är aktiverad.
  • När du sedan trycker ned bromspedalen hörs ett klickljud och därefter hålls bromstrycket kvar så att du kan släppa upp bromspedalen. Ju hårdare du trycker ned bromspedalen desto hårdare appliceras backhållaren.

Backhållaren är tillgänglig tills du stänger av funktionen med hjälp av strömställaren. Om funktionen var aktiverad när fordonet stängdes av kommer backhållaren att vara aktiverad nästa gång fordonet startas.

Obs!

Backhållaren aktiveras inte om bromstrycket är för lågt eller om ABS var aktivt i slutet av en bromstillämpning.

Backhållarreglage

VARNING!

Lägg alltid i parkeringsbromsen innan du lämnar förarplatsen.

Backhållaren lossas efter några sekunder om du släpper upp pedalerna helt och hållet. Då kan fordonet börja röra sig. En varningssignal ljuder och en varningstext visas i displayen innan backhållaren lossas.

Backhållaren lossas direkt när du lägger i en växel. Släpp bromsarna och accelerera försiktigt.

Automatisk nödbromsning (AEB)

AEB är ett avancerat nödbromsningssystem som, med hjälp av en framåtvänd kamera och en avståndssensor, kan reducera konsekvenserna av olyckor med mötande fordon.

VARNING!

AEB är endast ett hjälpmedel. AEB anpassar sig inte efter olika kör- och väderförhållanden. Föraren ansvarar alltid för att fordonet körs på ett säkert sätt.
Manipulering av fordonets hastighetssignal kan orsaka funktionsfel i AEB eller göra att AEB aktiveras på ett felaktigt sätt. 

Obs!

Den framåtvända kameran måste kalibreras efter att vindrutan har bytts ut.

Kollisionsvarning

När AEB upptäcker en kollisionsrisk aktiveras systemet i tre steg:

  1. En röd varning med akustisk signal visas i kombinationsinstrumentet.
  2. Om föraren inte reagerar och risken kvarstår, bromsar AEB försiktigt fordonet.
  3. Om ingen ytterligare respons ges och risken fortfarande kvarstår bromsar AEB fordonet med full kraft.

Föraren kan alltid avbryta varningen eller inbromsningen genom att:

  • Trycka på AEB-knappen på instrumentpanelen
  • Distinkt och snabbt trycka på gaspedalen
  • Trycka ned gaspedalen till kickdownläge

I ett tidigt stadium kan föraren också avbryta varningen genom att:

  • Trampa på bromspedalen
  • Aktivera körriktningsvisarna

Föraren kan alltid ta kontrollen över bromsningen genom att trycka ned bromspedalen. Detta avbryter varningen och den automatiska inbromsningen. Ju mer kritisk situationen är, desto hårdare måste bromspedalen tryckas ned.

Om den adaptiva farthållaren är aktiverad kan denna utfärda en
kollisionsvarning och försöka lösa situationen innan AEB varnar.

Efter att fordonet har bromsats med full kraft och står stilla, kommer bromsarna att hålla kvar fordonet i några sekunder för att förhindra att det rör sig. Bromsarna släpps om föraren trycker på broms- eller gaspedalen.

Symbol för kollisionsrisk

Aktivering och tillgänglighet

AEB aktiveras automatiskt när spänningen slås på. Lampan i reglaget tänds och lyser med ett grönt sken.

AEB kan inaktiveras med hjälp av reglaget. Lampan i reglaget lyser då med ett gult sken. Reglaget är fjäderbelastat och samma reglage återställer AEB.

AEB är tillgängligt när:

  • Fordonet kör fortare än 15 km/h

AEB kan begränsas eller inaktiveras när:

  • Avståndssensorn är blockerad eller defekt
  • Kameran är blockerad eller defekt
  • Det är något fel på fordonets eller släpets bromssystem
  • Fordonets luftfjädring är inställd långt bortom den normala
    körpositionen
  • Fordonet körs i mörker

Reglage för AEB, avancerad nödbromsning

När AEB har begränsats visas en gul symbol tillsammans med ett meddelande i kombinationsinstrumentet. 

Följande meddelanden kan visas:

Systemfel

  • AEB har inaktiverats på grund av ett fel i avståndssensorn.

Försämrad funktionalitet

  • AEB har begränsats men är fortfarande delvis aktivt. AEB kanske inte bromsar eller varnar för en kollision i tid. 

Symbol för begränsad AEB

Om avståndssensorn eller kameran är blockerad av exempelvis smuts, snö eller is visas respektive symbol tillsammans med ett meddelande i kombinationsinstrumentet.

Om problemet inte åtgärdas kommer AEB-funktionen att inaktiveras eller begränsas.

Om kameran är blockerad kan det räcka med att sätta på vindrutetorkarna. Se till att hålla den fri från smuts, snö och is.

  1. Blockerad avståndssensor
  2. Blockerad kamera

VARNING!

AEB är endast ett hjälpmedel och kan i vissa trafikförhållanden ha problem med att identifiera fordon eller lokalisera dem rätt. AEB kan missa en kollisionsrisk eller aktiveras utan att det föreligger någon risk för kollision.

Olika trafikförhållanden

På väg in i eller ut ur kurvor kan det vara svårt för AEB att identifiera vägen framför. AEB kan därför missa att varna för fordon på vägen eller felaktigt varna för fordon i vägkanten.

Kurvor

Vid av- och påfarter och när fordon är i rörelse i vägrenen kan det vara svårt för AEB att identifiera framförvarande fordon.

Vid av- och påfarter och i vägrenen

Ett fordon som byter till din fil precis framför ditt fordon kan inte identifieras av AEB förrän det kommer in i identifieringszonen. 

Filbyte

Instrument för fordonsinformation

Kombinationsinstrument

  1. Hastighetsmätare
  2. Körriktningsvisare
  3. Visa
  4. Allmänna varningssymboler och indikatorsymboler
  5. Färdskrivare
  6. Bränslemätare
  7. Indikatorlampor och varningssymboler
  8. Mätare för motorns kylvätsketemperatur
  9. Höger display visar reduktionsmedelsnivå, utomhustemperatur och klocka.

Färdskrivare

Färdskrivaren visar motorns rotationshastighet i varv per minut, v/min.

Mätaren har 4 fält:

  • Vitt, 0–2 000 v/min och 2 200–2 400 v/min.
  • Blått, 2 000–2 400 v/min. Här är motorns tillsatsbroms som
    mest kraftfull.
  • Rött, över 2 400 v/min. När motorvarvtalet är i det röda fältet finns det risk för skador på motorn.

Kombinationsinstrument

Display och symboler

Mer information om displayen, allmänna varnings- och indikationssymboler samt särskilda påbyggnadssymboler finns i följande dokument: 

Hyttippning

VARNING!

Pumpventilen måste vara i sänkt läge under körning. Annars kan hydraulsystemet pumpa upp hytten och orsaka skador.

Innan hytten tippas måste du stänga av motorn, lägga i parkeringsbromsen och lägga växelspaken i neutralläge.

Arbeta inte under hytten när den är i ett mellanläge. Tippa alltid hytten helt och hållet.

Gå inte framför eller bakom hytten vid tippning.

Fordonet ska stå plant vid hyttippning. Tippa aldrig hytten om fordonet står i en backe med över 10 procents lutning.

Hyttippningsanordning

När hytten är korrekt nedsänkt låses den med hjälp av två mekaniska lås som öppnas hydrauliskt vid tippning.   

Tippa hytten (spak)

VIKTIGT!

Frontluckans sidopaneler måste vara öppna när hytten tippas.

  1. Lägg i parkeringsbromsen.
  2. Sätt växelspaken i neutralläge.
  3. Ta bort alla lösa föremål och all tung utrustning från hytten.
  4. Stäng dörrarna.
  5. Ställ pumpventilen på tippläget. Använd adaptern eller spaken.
  6. Sätt adaptern på pumppluggen. Montera spaken med hjälp av adaptern.
  7. Pumpa med hjälp av spaken, så öppnas hyttlåset automatiskt.
  8. Pumpa tills hytten tippas framåt av sin egen vikt. Fortsätt pumpa tills ett mottryck känns i pumpspaken och hytten har nått en helt öppen vinkel.
  1. Hyttippningspump
  2. Pumpventil

Ställa in pumpventilen för tippning eller sänkning av hytten: Den övre bilden visar ventilpositionen vid tippning, och den undre bilden visar ventilens position vid sänkning av hytten. Använd spaken eller adaptern för att försätta pumpventilen i rätt läge.

Tippa hytten bakåt (spak)

VARNING!

Risk för krosskador när hytten sänks. Hytten faller fritt under det sista etappen av nedsänkningen av hytten till normalläge.

  1. Stäng dörrarna.
  2. Ställ pumpventilen i läget för att tippa hytten bakåt.
  3. Pumpa hytten bakåt med spaken tills hytten faller
    bakåt till körlägets rörelsezon.

Lämna pumpventilen i nedsänkningsläget.

Tippa hytten (elektroniskt)

VIKTIGT!

Frontluckans sidopaneler måste vara öppna när hytten tippas.

  1. Lägg i parkeringsbromsen.
  2. Sätt växelspaken i neutralläge.
  3. Tryck på knappen för hyttippning.
  4. Ta bort alla lösa föremål och all tung utrustning från hytten.
  5. Stäng dörrarna.
  6. Öppna den övre frontluckan och frontluckans sidopaneler. 
  7. Ta ut fjärrkontrollen för hyttippning. Fjärrkontrollen ligger under frontluckan. Håll aktiveringsknappen på baksidan av fjärrkontrollen intryckt, tryck på tippningsknappen och håll dessa intryckta tills hytten har tippats framåt av sin egen vikt. Fortsätt hålla aktiverings- och tippningsknapparna intryckta tills hytten nått en helt öppen vinkel.  

Hyttippningsreglage

Obs!

Se till att inga obehöriga personer har tillgång till fjärrkontrollen för hyttippning.

Tippa hytten bakåt (elektroniskt)

VARNING!

Risk för krosskador när hytten sänks. Hytten faller fritt under det sista etappen av nedsänkningen av hytten till normalläge.

Fjärrkontroll för hyttippning

  1. Stäng dörrarna.
  2. Ta ut fjärrkontrollen för hyttippning. Fjärrkontrollen ligger under frontluckan. Håll aktiveringsknappen på baksidan av fjärrkontrollen intryckt, tryck på sänkningsknappen och håll dessa intryckta tills hytten har fallit bakåt till körlägets rörelsezon.
  3. Återställ hyttippningsreglaget.
  4. Stäng frontluckans sidopaneler och den övre frontluckan.

Hjulbyte

Varning!

Stäng av spänningen och slå av batteriets huvudströmbrytare innan du byter hjul på löpaxeln.

Gå aldrig under ett fordon som endast hålls uppe av en domkraft. För att uppnå full säkerhet vid arbeten under ett lyft fordon måste både chassi och rörliga axelupphängningar vara fallsäkrade. Annars finns stor risk för svåra krosskador.

Gå aldrig under ett upplyft fordon som inte är helt och hållet fallsäkrat eftersom det kan uppstå en tryckförändring i domkraftens luftbälgar. Annars finns stor risk för svåra krosskador.

Avlägsnande

1. Lägg i en låg växel och vrid nyckeln till låst läge. Lägg körlägesväljaren i neutralläget för automatiska växellådor.

Varning!

Under arbetet måste fordonet säkras med hjälp av stoppklossar så att det inte kan rulla åt något håll.

2. Lägg stoppklossar bakom och framför de hjul som ska vara kvar på marken.

3. Lossa parkeringsbromsen för det hjul som ska bytas, för att säkerställa att hjulet och bromstrumman ligger mot navet vid åtdragning.

4. Markera fälgens position på navet.

5. Lossa hjulmuttrarna utan att ta bort dem.

6. Höj upp fordonet.

 

Varning!

Se till att domkraften står stadigt på jämn mark.

VIKTIGT!

Domkraften får endast användas på de angivna lyftpunkterna. Placering i andra lägen kan orsaka allvarliga skador på fordonet.

7. Ta bort hjulmuttrarna och hjulet.

VIKTIGT!

Kontrollera/dra åt hjulmuttrarna till 600 Nm efter cirka 100 kilometers körning.

Lägg stoppklossar bakom och framför de hjul som ska vara kvar på marken.

Markera fälgens position på navet.

Montering

1. Rengör kontaktytorna noggrant. Använd en stålborste.
På vissa fälgar finns distansringar. Rengör även dessa.

Obs!

Tjocka lager av lackering, rost och smuts kan göra att hjulmuttrarna lossnar och att bulthålen i fälgarna och bromstrumman blir ovala.

2. Rengör hjulbultsgängorna.

Obs!

Kontrollera att parkeringsbromsen har lossats för den axel som du arbetar på.

3. Sätt tillbaka hjulet på samma plats som det hade innan du tog bort det. Kontrollera markeringen.

4. Dra åt hjulmuttrarna i den ordning som visas på bilden. Använd aldrig en mutterdragare av svänghjulstyp. Muttrarna måste dras åt med ett vridmoment på 600 Nm.

VIKTIGT!

En Scaniaverkstad måste dra åt hjulmuttrarna till rätt moment. Alltför högt eller alltför lågt moment kan göra att hjulet lossnar eller att bromstrumman blir oval.

5. Sänk fordonet och ta bort bromsklossarna för hjulet.

Delar som måste rengöras innan montering

Ordningsföljd för åtdragning av hjulmuttrarna

Scania rekommenderar att man ritar en linje över hjulbultarna och hjulmuttrarna så att det blir enklare att upptäcka eventuella avvikelser. Använd en markeringspenna. Om en hjulmutter avviker tar du bort hjulmuttern och sätter sedan tillbaka den igen.

VIKTIGT!

Kontrollera/dra åt hjulmuttrarna till 600 Nm efter cirka 100 kilometers körning.

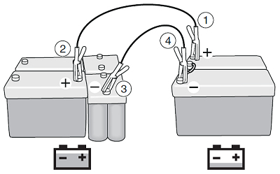
Starthjälp

VARNING!

Stå inte nära batterierna när du använder startkablar. Ett batteri kan explodera, vilket kan orsaka omfattande skador.

Koppla inte ihop batterier i en miljö där det finns brandfarliga gaser eller vätskor, som bensin och etanol.

Följ instruktionerna noggrant, för att förhindra person- och materialskador.

VIKTIGT!

Frontluckans sidopaneler måste vara öppna när hytten tippas.

Om fordonsbatterierna är urladdade och inte har tillräckligt med ström för att starta motorn kan du ansluta dem till andra batterier.

Båda systemen måste ha samma batterispänning, det vill säga 24 V.

Använd tjocka startkablar (minst 25 mm²) med isolerade klämmor.   

Förberedelser:

  • Starta motorn i fordonet som har laddade batterier.

Gör så här (alternativ 1):

  1. Anslut till servicebatteriets positiva pol (+) i fordonet med låg batterispänning.
  2. Anslut till batteriets positiva pol (+) i fordonet med fulladdat batteri.
  3. Anslut till batteriets negativa pol (-) i fordonet med fulladdat batteri.
  4. Anslut till servicebatteriets negativa pol (-) i fordonet med låg batterispänning. Denna sista kabel kan orsaka en gnista när den ansluts.
  5. Starta motorn i fordonet med låg batterispänning. Stå inte nära batterierna.
  6. När motorn har startats kopplar du först loss kabeln från batteriets minuspol (-) i fordonet med låg batterispänning och därefter övriga kablar.
  7. Om motorn inte startar: Koppla loss kablarna i enlighet med steg 6 och upprepa alla punkter med ett undantag. I steg 1 ansluter du till batteriets pluspol (+) på det inre batteriet i fordonet med låg batterispänning.

Gör följande när fordonet ger starthjälp:

  1. Anslut till batteriets positiva pol (+) i fordonet med låg
    batterispänning.
  2. Anslut till servicebatteriets positiva pol (+) i fordonet med fulladdat batteri.
  3. Anslut till servicebatteriets negativa pol (-) i fordonet med fulladdat batteri.
  4. Anslut till batteriets negativa pol (-) i fordonet med låg batterispänning. Denna sista kabel kan orsaka en gnista när den ansluts.
  5. Starta motorn i fordonet med låg batterispänning. Stå inte nära batterierna.
  6. När motorn har startats kopplar du först loss kabeln från batteriets minuspol (-) i fordonet med låg batterispänning och därefter övriga kablar.

Obs!

Om skyddsfärgen på ramen blir skadad måste skadan bättringsmålas omedelbart.

VIKTIGT!

Råd när motorn är svårstartad:
Startmotorn blockeras automatiskt efter 35 sekunder. 
Kör startmotorn i högst 30 sekunder. Om motorn inte startar första gången: Vrid startnyckeln tillbaka till radioläget och vänta cirka 30 sekunder för att startmotorn ska hinna återställas.
Om motorn inte har startat efter två försök måste startmotorn vila i minst fem minuter innan två nya försök görs. Undersök om det är något annat fel på fordonet, till exempel på bränslesystemet. 

Hydraulpaket

Justera trycket i hydraulsystemet

Trycket i hydraulsystemet kan ställas in på 150 eller 220 bar med hjälp av två fasta lägen. Kontrollera vilket tryck som krävs för den hydraulutrustning som ska kopplas till systemet och ställ sedan in rätt tryck med hjälp av vridreglaget. Reglaget ska vridas till slutlägena tills ett klickljud hörs och får inte stå i ett mellanläge.

VIKTIGT!

Kontrollera alltid att det inställda systemtrycket inte överskrider det angivna maximitrycket för hydraulutrustningen innan du ansluter, för att undvika skador på utrustningen.

Ställ in trycket i hydraulsystemet med hjälp av vridreglaget.

EG-kraftuttag

Det växellådsdrivna kraftuttaget, EG, överför kraft från växellådan till extern utrustning. Det är monterat på växellådan och drivs av växellådans mellanaxel. Normalt sett är det inte aktiverat. Innan du aktiverar EG-kraftuttaget måste startnyckeln vara i körläge och lufttrycket måste överstiga 5 bar.

Påbyggaren kan välja andra krav som ska gälla.

VIKTIGT!

Efter körning ska du köra motorn på tomgång i ungefär 1 minut innan du stänger av den. Annars finns det risk för att turboladdaren skadas.

Fordonet kan vara utrustat med flera kraftuttag.

Du kan styra motorvarvtalet till EG-kraftuttaget genom att trycka på + eller - på farthållarreglaget.

VIKTIGT!

När du använder höghastighetskraftuttaget EG måste fordonet stå på ett så plant underlag som möjligt. Det kan endast stå i nedförssluttningar under kortare driftperioder.

För växellådor med splitväxel kan 2 olika hastigheter ges till kraftuttaget med samma motorvarvtal, beroende på om låg eller hög split är aktiverat när växellådan är i neutralläge.  

Splitläget ändras manuellt med hjälp av tillsatsbromsspaken, genom att du för spaken mot dig eller bort från dig. 

När EG-kraftuttaget är aktiverat är all växling blockerad under körning. Du kan dock byta växel när du står stilla. Om fordonet körs iväg med EG-kraftuttaget aktiverat visas ett meddelande i kombinationsinstrumentet.

Aktivering

VIKTIGT!

Aktivera och inaktivera endast kraftuttaget när det är obelastat. Byt bara växel när kraftuttaget är obelastat. Annars kan växellådan skadas.

  1. Se till att fordonet står stilla.
  2. Tryck ned kopplingspedalen om motorn körs, eller lägg i neutralläge.
  3. Tryck på knappen.
  4. Vänta tills kraftuttagssymbolen visas i kombinationsinstrumentet.
  5. Släpp kopplingen långsamt (manuell växellåda) om motorn är igång.

Obs!

Om ingen symbol visas efter tio sekunder släpper du långsamt upp kopplingen så att växlarna hamnar i rätt läge. Tryck inte på omkopplaren igen.

VIKTIGT!

Om något konstigt ljud hörs från den automatiska växellådan trycker du omedelbart på knappen. Kraftuttaget inaktiveras då automatiskt.

Obs!

Om kraftuttagssymbolen (automatisk växellåda) inte har tänts i kombinationsinstrumentet efter 20 till 30 sekunder upprepar du stegen 3 och 4.

Inaktivering

  1. Tryck ned kopplingspedalen om motorn körs, eller lägg i neutralläge.
  2. Tryck på kraftuttagsknappen.
  3. Vänta tills kraftuttagssymbolen slocknar.
  4. Släpp kopplingen långsamt (manuell växellåda) om motorn är igång.

EG-kraftuttagsknapp

EK-kraftuttag

Kraftuttaget är en extern axeltapp för att överföra kraft från motorn till externa tillbehör. EK-kraftuttaget sitter mellan motorn och växellådan och drivs av motorn. Normalt sett är kraftuttaget inte aktiverat.

Du kan styra motorvarvtalet till EK-kraftuttaget genom att trycka på + eller - på farthållarreglaget.

VIKTIGT!

Motorn måste vara avstängd innan du aktiverar kraftuttaget.

Aktivering

  1. Stäng av motorn.
  2. Lägg växeln i neutralläge.
  3. Vrid nyckeln till körläge.
  4. Aktivera reglaget.
  5. Starta motorn.

Inaktivering

  1. Se till att kraftuttaget inte är belastat.
  2. Inaktivera reglaget.

EK-kraftuttagsknapp

ED-kraftuttag

Kraftuttaget överför kraft från motorn till externa tillbehör. ED-kraftuttaget drivs direkt av motortransmissionen och roterar när motorn har startats. Knappen aktiverar hydrauliken och ger tryck ut till systemet.

Påbyggaren kan välja andra krav som ska gälla.

Du kan styra motorvarvtalet till ED-kraftuttaget genom att trycka på + eller - på farthållarreglaget.

Aktivering

  • Aktivera reglaget.

Inaktivering

  • Inaktivera reglaget.

ED-kraftuttagsknapp

EXT-reglage

EXT-reglaget är en säkerhetsfunktion som gör det möjligt att styra vissa av fordonets funktioner utanför fordonet. Vilka funktioner du kan styra beror på fordonets utrustning och den logik som har skapats i fordonets påbyggnadssystem. 

När du trycker på EXT-knappen tänds EXT-symbolen i kombinationsinstrumentet.

EXT-knappen. Aktivera knappen när du behöver styra några av fordonets funktioner från utsidan.