Выдержки из инструкции по эксплуатации автомобиля

На вкладках ниже вы можете найти выдержки из инструкции по эксплуатации автомобиля, которые могут помочь изготовителю кузовного оборудования. 

ПРИМЕЧАНИЕ! Информация может различаться в зависимости от технических характеристик автомобиля.

Инструкция по эксплуатации автомобиля также доступна для устройств с Android и iOS.

Щелкните показанную ниже ссылку на своем устройстве, чтобы загрузить инструкцию по эксплуатации автомобиля.

Система удержания на склоне

ВАЖНО!

Не используйте систему удержания на склоне в зимних дорожных условиях из-за риска заноса автомобиля с заблокированными колесами.

Используйте систему удержания на склоне для облегчения трогания в гору.

Для использования системы удержания на склоне:

  • включите электропитание в автомобиле;
  • нажмите на выключатель, который горит, когда активирована система удержания на склоне.
  • Теперь, при нажатии на педаль тормоза вы услышите щелчок, после чего система начнет поддерживать определенный уровень тормозного давления. После этого можно отпускать педаль тормоза. Чем сильнее вы нажимаете на педаль тормоза, тем сильнее будет действие системы удержания на склоне.

Система удержания на склоне работает до тех пор, пока вы не отключите эту функцию с помощью выключателя. Если данная функция была активирована при выключении двигателя автомобиля, то система удержания на склоне будет активирована при следующем пуске двигателя.

ПРИМЕЧАНИЕ!

Система удержания на склоне не активируется в том случае, если тормозное давление является слишком низким или если система ABS была активирована в конце приведения в действие тормозной системы.

Выключатель системы удержания на склоне

ВНИМАНИЕ!

Выходя из кабины автомобиля, обязательно включайте стояночный тормоз.

Система удержания на склоне отключается по прошествии нескольких секунд, если вы полностью отпускаете педали, после чего автомобиль может начать движение. Перед отключением системы удержания на склоне выдается предупреждающий сигнал и на дисплее отображается соответствующее сообщение.

Система удержания на склоне сразу отключается, когда вы включаете передачу, отпускаете тормоза и слегка разгоняете автомобиль.

Автоматическое экстренное торможение

AEB — это система активного предотвращения столкновений, которая использует переднюю камеру и датчик расстояния для уменьшения последствия столкновений с движущимися впереди автомобилями.

ВНИМАНИЕ!

Система AEB — исключительно вспомогательная функция. AEB не может самостоятельно подстраиваться под погоду или условия вождения. Водитель продолжает нести ответственность за безопасное управление автомобилем.
Воздействие на сигнал скорости автомобиля может привести к сбою или неправильной активации системы AEB. 

ПРИМЕЧАНИЕ!

После замены ветрового стекла следует откалибровать переднюю камеру.

Предупреждение о риске столкновения

Когда система AEB обнаруживает риск столкновения, она активируется в три этапа.

  1. На приборной панели отображается предупреждающее сообщение красного цвета, сопровождаемое звуковым сигналом.
  2. Если водитель не реагирует, а риск столкновения сохраняется, система AEB слегка притормаживает автомобиль.
  3. Если водитель по-прежнему не реагирует на ситуацию, а риск столкновения все еще сохраняется, система AEB полностью затормаживает автомобиль.

Водитель всегда может отменить выдачу предупреждающего сообщение и автоматическое торможение. Для этого необходимо выполнить следующие действия:

  • нажать на выключатель AEB на приборной панели;
  • четко и быстро выжать педаль акселератора;
  • выжать педаль акселератора в положение kickdown.

Водитель также может отменить выдачу предупреждающего сообщения на ранней стадии. Для этого необходимо выполнить следующие действия:

  • выжать педаль тормоза;
  • включить указатели поворота.

Водитель всегда может взять на себя управление активацией тормозов нажатием на педаль тормоза. При этом отменяется выдача предупреждающего сообщения и автоматическое торможение. Чем более критической является ситуация, тем сильнее следует выжать педаль тормоза.

Если активирована функция адаптивного круиз-контроля, она может выдать
предупреждение о риске столкновения и попытаться облегчить ситуацию до срабатывания предупреждения системы AEB.

После того как автомобиль будет полностью заторможен и переведен в неподвижное состояние, тормоза будут удерживать автомобиль в течение нескольких секунд, предотвращая его движение. Тормоза прекращают свое действие, когда водитель выжимает педаль тормоза или педаль акселератора.

Символ риска столкновения

Активация и готовность

Система AEB включается автоматически при подаче напряжения. При этом загорается зеленый индикатор переключателя.

Систему AEB можно отключить, используя соответствующий выключатель. При этом индикатор переключателя загорится желтым цветом. Выключатель подпружинен, и с его помощью можно выполнить сброс системы AEB.

Система AEB находится в состоянии готовности, если:

  • скорость автомобиля превышает 15 км/ч.

Действие системы AEB может быть ограничено или она может быть отключена в том случае, если:

  • датчик расстояния заблокирован или неисправен;
  • камера заблокирована или неисправна;
  • в тормозной системе автомобиля или прицепа имеется неисправность;
  • пневматическая подвеска автомобиля имеет параметры настройки, ​​далекие от нормального
    положения для движения;
  • автомобиль движется в темноте.

Выключатель для системы AEB (активного предотвращения столкновений)

Когда действие системы AEB ограничено, на приборной панели отображается желтый символ вместе с соответствующим сообщением. 

При этом могут отображаться следующие сообщения:

Неисправность системы

  • Система AEB была отключена вследствие неисправности датчика расстояния.

Уменьшенная функциональность

  • Действие системы AEB ограничено, и она по-прежнему частично активна. Система AEB не может вовремя выполнять торможение или предупреждать о столкновении. 

Символ ограничения действия системы AEB

Когда датчик расстояния или камера заблокированы, например, грязью, снегом или льдом, на приборной панели отображается соответствующий символ вместе с сообщением.

Если проблема не будет устранена, система AEB будет отключена или ее действие будет ограничено.

Если камера заблокирована, может быть достаточно активировать стеклоочистители. Обязательно очистите камеру от грязи, снега и льда.

  1. Заблокированный датчик расстояния
  2. Заблокированная камера

ВНИМАНИЕ!

AEB является исключительно вспомогательной системой, и в определенных режимах движения идентификация автомобилей и их расположения на дороге может быть затруднена. Система AEB может пропустить риск столкновения или активироваться в условиях отсутствия какого-либо риска столкновения.

Различные условия движения

При входе в поворот или выходе из него система AEB может с затруднениями идентифицировать подъездную дорогу. Поэтому система AEB может не выдать предупреждение об автомобилях, находящихся на этой дороге, или выдать неверное предупреждение об автомобилях, стоящих на обочине.

Повороты

На съездах с автомагистралей или примыкающих дорогах, а также при движении автомобилей по обочине идентификация автомобилей, движущихся впереди, может быть затруднена для системы AEB.

На съездах с автомагистралей или примыкающих дорогах, а также движении по обочине

Автомобиль, который перестраивается на вашу полосу непосредственно перед вашим автомобилем, не может быть идентифицирован системой AEB, пока он не попадет в зону идентификации. 

Смена полосы

Приборы, предоставляющие информацию об автомобиле

Приборная панель

  1. Спидометр
  2. Указатель поворота
  3. Дисплей
  4. Общие символы предупреждения и символы индикаторов
  5. Тахометр
  6. Указатель уровня топлива
  7. Световые индикаторы и символы предупреждения
  8. Датчик температуры охлаждающей жидкости двигателя
  9. На правом дисплее отображается уровень реагента, температура наружного воздуха и часы.

Тахометр

Тахометр показывает частоту вращения двигателя в оборотах в минуту, об/мин.

Указатель прибора имеет четыре зоны:

  • белая зона, соответствует частоте вращения двигателя от 0 до 2000 об/мин и от 2200 до 2400 об/мин;
  • синяя зона, соответствует частоте вращения двигателя от 2000 до 2400 об/мин; При нахождении в этой зоне вспомогательная тормозная система
    является наиболее эффективной;
  • красная зона, соответствует частоте вращения двигателя более 2400 об/мин. Когда частота вращения двигателя находится в красной зоне, существует опасность повреждения двигателя.

Приборная панель

Дисплей и символы

Более подробная информация о дисплее, общих предупреждающих и информационных символах, а также специальных символах кузовного оборудования приведена в следующих документах: 

Подъем кабины

ВНИМАНИЕ!

Во время движения автомобиля клапан насоса должен находиться в положении опускания. В противном случае гидравлическая система может начать подъем кабины, что приведет к повреждению автомобиля.

Прежде чем поднимать кабину, необходимо выключить двигатель, включить стояночный тормоз и перевести рычаг переключения передач в нейтральное положение.

Не работайте под кабиной, которая находится в среднем положении. Обязательно поднимайте кабину полностью.

При подъеме кабины не стойте перед кабиной или за ней.

Во время подъема кабины автомобиль должен находиться на ровной поверхности. Ни в коем случае не поднимайте кабину, если автомобиль стоит на склоне с уклоном более 10%.

Устройство подъема кабины

Когда опускание кабины выполняется должным образом, она блокируется двумя механическими замками, которые открываются при подъеме с помощью гидропривода.   

Подъем кабины (с помощью рукоятки)

ВАЖНО!

Боковые панели решетки радиатора должны быть открыты при подъеме кабины.

  1. Активируйте стояночный тормоз.
  2. Переведите рычаг коробки передач в нейтральное положение.
  3. Уберите все незакрепленные предметы и тяжелое оборудование из кабины.
  4. Закройте двери.
  5. Установите регулировочный клапан насоса в положение подъема. Используйте переходник или рукоятку.
  6. Установите переходник на палец насоса. Соберите рукоятку с переходником.
  7. Поработайте насосом, используя рукоятку, и замок кабины откроется автоматически.
  8. Работайте насосом до тех пор, пока кабина не наклонится вперед под действием собственного веса. Продолжайте работать насосом до тех пор, пока не почувствуете сопротивление на рукоятке насоса и кабина не достигнет угла полного открытия.
  1. Насос подъемника кабины
  2. Регулировочный клапан насоса

Настройка клапана насоса для подъема или опускания кабины. На верхнем рисунке приведено положение клапана при подъеме. На нижнем рисунке приведено положение клапана при опускании. Используйте рукоятку или переходник для перевода клапана насоса в надлежащее положение.

Опускание кабины (с помощью рукоятки)

ВНИМАНИЕ!

При опускании кабины существует опасность получения дробящей травмы. На последней стадии опускания кабины в исходное положение кабина движется свободно.

  1. Закройте двери.
  2. Установите клапан насоса в положение для опускания кабины.
  3. Работайте рукояткой насоса до тех пор, пока кабина не вернется
    обратно в зону перемещения для положения движения.

Оставьте регулировочный клапан насоса в положении опускания.

Подъем кабины (с помощью электроники)

ВАЖНО!

Боковые панели решетки радиатора должны быть открыты при подъеме кабины.

  1. Активируйте стояночный тормоз.
  2. Переведите рычаг коробки передач в нейтральное положение.
  3. Нажмите выключатель подъема кабины.
  4. Уберите все незакрепленные предметы и тяжелое оборудование из кабины.
  5. Закройте двери.
  6. Откройте верхнюю решетку радиатора и боковые панели решетки радиатора. 
  7. Достаньте пульт дистанционного управления для наклона кабины. Пульт дистанционного управления расположен под решеткой радиатора. Нажмите кнопку активации на задней стороне пульта дистанционного управления, затем нажмите кнопку подъема и удерживайте эти кнопки нажатыми до тех пор, пока кабина не наклонится вперед под действием собственного веса. Продолжайте удерживать кнопки активации и подъема нажатыми до тех пор, пока кабина не достигнет угла полного открытия.  

Выключатель подъема кабины

ПРИМЕЧАНИЕ!

Позаботьтесь о том, чтобы посторонние лица не имели доступа к пульту дистанционного управления для подъема кабины.

Опускание кабины (с помощью электроники)

ВНИМАНИЕ!

При опускании кабины существует опасность получения дробящей травмы. На последней стадии опускания кабины в исходное положение кабина движется свободно.

Пульт дистанционного управления для подъема кабины

  1. Закройте двери.
  2. Достаньте пульт дистанционного управления для наклона кабины. Пульт дистанционного управления расположен под решеткой радиатора. Нажмите кнопку активации на задней стороне пульта дистанционного управления, затем нажмите кнопку опускания и удерживайте эти кнопки нажатыми до тех пор, пока кабина не вернется обратно в зону перемещения для положения движения.
  3. Верните выключатель подъема кабины в исходное положение.
  4. Закройте боковые панели и верхнюю панель решетки радиатора.

Замена колес

Внимание!

Перед заменой колеса на дополнительном мосту выключите напряжение и отключите главный выключатель батареи аккумуляторов.

Ни в коем случае не находитесь под автомобилем, который поддерживается только домкратом. Для обеспечения максимальной безопасности при работе под поднятым автомобилем следует позаботиться о предотвращении падения подвески шасси и подвески подвижного моста. При падении этих компонентов существует большой риск получения травмы.

Ни в коем случае не работайте под автомобилем с пневматической подвеской, который полностью не защищен от падения в случае изменения давления в пневмобаллонах. При падении этих компонентов существует большой риск получения травмы.

Снятие

1. Включите низкую передачу и поверните ключ в положение блокировки. Установите селектор режимов в нейтральное положение для автоматической коробки передач.

Внимание!

Обязательно установите противооткатные упоры под колеса автомобиля, чтобы автомобиль не сдвинулся с места во время работы.

2. Установите противооткатные упоры спереди и сзади колес, которые должны оставаться на земле.

3. Отпустите стояночный тормоз для колеса, которое должно быть заменено, чтобы колесо и тормозной барабан оказались прижаты к ступице при затягивании.

4. Отметьте положение обода относительно ступицы.

5. Ослабьте колесные гайки, не снимая их.

6. Поднимите автомобиль.

 

Внимание!

Проследите за тем, чтобы домкрат опирался на ровную поверхность.

ВАЖНО!

Располагайте домкрат только в указанных точках подъема. Иное положение домкрата может привести к серьезному повреждению автомобиля.

7. Снимите колесные гайки и колесо.

ВАЖНО!

Проехав примерно 100 км, подтяните колесные гайки колеса с моментом затяжки в 600 Н·м.

Установите противооткатные упоры спереди и сзади колес, которые должны оставаться на земле.

Отметьте положение обода относительно ступицы.

Установка

1. Тщательно очистите сопрягаемые поверхности. Используйте проволочную щетку.
На некоторых колесах имеются разделяющие кольца. Очистите и их тоже.

ПРИМЕЧАНИЕ!

Толстый слой краски, ржавчины и грязи может привести к отсоединению колесных гаек и приданию овальной формы отверстиям под болты в колесных дисках и тормозном барабане.

2. Очистите резьбу колесных болтов.

ПРИМЕЧАНИЕ!

Убедитесь в том, что стояночный тормоз на мосту, с которым вы работаете, отпущен.

3. Установите колесо в том же положении, в котором оно находилось перед снятием. Проверьте маркировку.

4. Затяните колесные гайки, используя надлежащую последовательность их затяжки, как показано на рисунке. Ни в коем случае не используйте гайковерт ударного типа. Гайки следует затянуть с моментом в 600 Н·м.

ВАЖНО!

В сервисном центре Scania колесные гайки должны быть затянуты с надлежащим моментом. Слишком высокий или слишком низкий момент затяжки может привести к отсоединению колеса или приданию овальной формы тормозному барабану.

5. Опустите автомобиль и уберите противооткатные упоры из-под колес.

Детали, которые требуется очистить перед установкой

Последовательность затягивания колесных гаек

Компания Scania рекомендует прочертить линию через колесные шпильки и гайки, чтобы было легче обнаружить какие-либо отклонения. Используйте маркер. Если положение колесной гайки отклоняется от исходного, полностью снимите ее и установите снова.

ВАЖНО!

Проехав примерно 100 км, подтяните колесные гайки колеса с моментом затяжки в 600 Н·м.

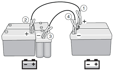
Пуск двигателя от дополнительной аккумуляторной батареи

ВНИМАНИЕ!

Не стойте рядом с аккумуляторной батареей при использовании проводов для пуска от дополнительной аккумуляторной батареи. Аккумуляторная батарея может взорваться с причинением больших повреждений.

Не соединяйте аккумуляторы вместе в среде, в которой присутствуют легковоспламеняющиеся газы или жидкости, такие как бензин и этанол.

Точно следуйте инструкциям, чтобы предотвратить травмы или материальный ущерб.

ВАЖНО!

Боковые панели решетки радиатора должны быть открыты при подъеме кабины.

Если аккумуляторные батареи автомобиля разряжены и не создают ток, достаточный для пуска двигателя, вы можете подключать их к другим аккумуляторам.

Обе системы должны иметь одинаковое напряжение аккумуляторов, т. е. 24 В.

Используйте толстые пусковые кабели (сечением не менее 25 мм²) с изолированными зажимами.   

Подготовка

  • Запустите двигатель на автомобиле с заряженными аккумуляторами.

Выполните следующие действия (вариант 1):

  1. Подсоедините провод к положительной клемме (+) аккумуляторной батареи для потребительских нагрузок на автомобиле с разряженной аккумуляторной батареей.
  2. Подсоедините провод к положительной клемме (+) полностью заряженного аккумулятора.
  3. Подсоедините провод к отрицательной клемме (–) полностью заряженного аккумулятора.
  4. Подсоедините провод к отрицательной клемме (–) аккумуляторной батареи для потребительских нагрузок на автомобиле с разряженной аккумуляторной батареей. При подсоединении этого последнего провода возможно искрение.
  5. Запустите двигатель на автомобиле с разряженным аккумулятором. Не стойте рядом с аккумуляторными батареями.
  6. После пуска двигателя сначала отсоедините провод от отрицательной клеммы (–) разряженной аккумуляторной батареи, а затем все остальные провода.
  7. Если двигатель не запускается, отсоедините провода в соответствии с п. 6 и повторите действия по всем пунктам, но за одним исключением. При выполнении действий по пункту 1 подсоедините провод к положительной клемме (+) внутреннего аккумулятора на автомобиле с разряженной аккумуляторной батареей.

Когда автомобиль оказывает помощь при пуске, действуйте, как описано ниже.

  1. Подсоедините провод к положительной клемме (+) разряженного
    аккумулятора.
  2. Подсоедините провод к положительной клемме (+) аккумуляторной батареи для потребительских нагрузок на автомобиле с полностью заряженной аккумуляторной батареей.
  3. Подсоедините провод к отрицательной клемме (–) аккумуляторной батареи для потребительских нагрузок на автомобиле с полностью заряженной аккумуляторной батареей.
  4. Подсоедините провод к отрицательной клемме (–) разряженного аккумулятора. При подсоединении этого последнего провода возможно искрение.
  5. Запустите двигатель на автомобиле с разряженным аккумулятором. Не стойте рядом с аккумуляторными батареями.
  6. После пуска двигателя сначала отсоедините провод от отрицательной клеммы (–) разряженной аккумуляторной батареи, а затем все остальные провода.

ПРИМЕЧАНИЕ!

Если защитная краска на раме повреждена, это место следует незамедлительно подкрасить.

ВАЖНО!

Рекомендация на случай затруднений при пуске двигателя:
Стартер автоматически блокируется через 35 секунд. 
Используйте стартер не дольше 30 секунд. Если двигатель не запускается с первой попытки, поверните ключ зажигания обратно в положение «Радио» и подождите около 30 секунд для восстановления электропитания стартера.
Если двигатель не запустился после двух попыток, перед следующими двумя попытками следует подождать как минимум пять минут. Выясните, имеются ли какие-либо другие неисправности, например неисправность топливной системы. 

Гидравлическая система

Регулировка давления в гидравлической системе

Давление в гидравлической системе может быть настроено на 150 или 220 бар с помощью двух фиксированных положений регулятора. Уточните, какое давление требуется для подключения гидравлического оборудования к системе, и настройте давление с помощью поворотного регулятора. Регулятор фиксируется в конечных положениях и не должен переводиться в промежуточное положение.

ВАЖНО!

Чтобы избежать повреждения оборудования, перед подсоединением обязательно убедитесь, что заданное давление в системе не превышает максимальное заданное давление в гидравлическом оборудовании.

С помощью поворотного регулятора настройте давление в гидравлической системе.

Коробка отбора мощности типа EG

Коробка отбора мощности типа EG с приводом от коробки передач передает мощность от коробки передач к внешнему оборудованию. Она устанавливается на коробке передач и приводится в действие с помощью промежуточного вала коробки передач, в обычном состоянии она не включена. Перед активацией коробки отбора мощности типа EG ключ зажигания должен находиться в положении движения, при этом давление воздуха должно быть выше 5 бар.

Изготовитель кузовного оборудования также может установить другие необходимые требования.

ВАЖНО!

После движения дайте двигателю возможность поработать на холостом ходу в течение около 1 минуты, прежде чем выключать его. В противном случае имеется риск повреждения турбокомпрессора.

Автомобиль может быть оснащен несколькими коробками отбора мощности.

Вы можете регулировать частоту вращения двигателя для работы коробки отбора мощности типа EG нажатием кнопок «+» или «–» на переключателе круиз-контроля.

ВАЖНО!

При использовании высокооборотной коробки отбора мощности типа EG автомобиль должен находиться на как можно более ровной поверхности. Нахождение на склоне допускается только в течение коротких периодов времени.

В случае коробок передач с делителем коробке отбора мощности могут быть выделены два разных значения частоты вращения при одной и той же частоте вращения двигателя. Используемая частота зависит от того, включена ли нижняя или верхняя ступень делителя, когда коробка передач находится в нейтральном положении.  

Используя рычаг вспомогательного тормоза и перемещая его на себя или от себя, вы переключаете режим делителя вручную. 

При включении коробки отбора мощности типа EG переключение передач при движении полностью блокируется. Однако вы можете выполнять переключение передач на неподвижном автомобиле. Если автомобиль трогается при включенной коробке отбора мощности типа EG, на приборной панели отображается соответствующее сообщение.

Включение

ВАЖНО!

Включайте и выключайте коробку отбора мощности только тогда, когда она не нагружена. Выполняйте переключение передач только при ненагруженной коробке отбора мощности, в противном случае коробка передач может быть повреждена.

  1. Позаботьтесь о том, чтобы автомобиль был неподвижен.
  2. Выжмите педаль сцепления, если двигатель работает, или включите нейтральное положение.
  3. Нажмите на выключатель.
  4. Подождите, пока на приборной панели не появится символ коробки отбора мощности.
  5. Медленно отпустите сцепление (механическая коробка передач), если двигатель работает.

ПРИМЕЧАНИЕ!

Если по истечении 10 секунд указанный символ не появляется, медленно отпустите сцепление, чтобы шестерни коробки передач оказались в правильном положении. Не нажимайте на переключатель снова.

ВАЖНО!

Если из автоматической коробки передач исходит необычный шум, немедленно нажмите на выключатель. При этом коробка отбора мощности будет автоматически отключена.

ПРИМЕЧАНИЕ!

Если символ коробки отбора мощности (автоматическая коробка передач) не появляется на приборной панели по прошествии 20‑30 секунд, повторите действия в соответствии с пп. 3 и 4.

Отключение

  1. Выжмите педаль сцепления, если двигатель работает, или включите нейтральное положение.
  2. Нажмите на выключатель коробки отбора мощности.
  3. Подождите, пока символ коробки отбора мощности не погаснет.
  4. Медленно отпустите сцепление (механическая коробка передач), если двигатель работает.

Выключатель коробки отбора мощности типа EG

Коробка отбора мощности типа EK

Коробка отбора мощности представляет собой внешнюю шейку вала для передачи мощности от двигателя к внешнему дополнительному оборудованию. Коробка отбора мощности типа EK устанавливается между двигателем и коробкой передач и приводится в действие двигателем. Обычно коробка отбора мощности не включена.

Вы можете регулировать частоту вращения двигателя для работы коробки отбора мощности типа EK нажатием кнопок «+» или «–» на переключателе круиз-контроля.

ВАЖНО!

Перед включением коробки отбора мощности двигатель должен быть выключен.

Включение

  1. Заглушите двигатель.
  2. Переведите коробку передач в нейтральное положение.
  3. Переведите ключ зажигания в положение движения.
  4. Активируйте выключатель.
  5. Запустите двигатель.

Отключение

  1. Убедитесь в том, что коробка отбора мощности не нагружена.
  2. Отключите выключатель.

Выключатель коробки отбора мощности типа EK

Коробка отбора мощности типа ED

Коробка отбора мощности передает мощность от двигателя к внешнему дополнительному оборудованию. Коробка отбора мощности типа ED приводится в действие непосредственно шестерней распределительного вала и приводится в действие при пуске двигателя. Выключатель активирует гидравлику и подает давление в систему.

Изготовитель кузовного оборудования также может установить другие необходимые требования.

Вы можете регулировать частоту вращения двигателя для работы коробки отбора мощности типа ED нажатием кнопок «+» или «–» на переключателе круиз-контроля.

Включение

  • Активируйте выключатель.

Отключение

  • Отключите выключатель.

Выключатель коробки отбора мощности типа ED

Выключатель EXT

Выключатель EXT представляет собой функцию безопасности, которая дает возможность управлять снаружи некоторыми функциями автомобиля. Набор функций для управления зависит от оборудования автомобиля и логики системы кузовного оборудования. 

Когда вы нажимаете на выключатель EXT, на приборной панели загорается символ EXT.

Выключатель EXT. Активируйте выключатель, чтобы воспользоваться какими-либо функциями автомобиля, когда вы находитесь снаружи.