Fragment Podręcznika kierowcy

Na kartach poniżej znajdują się fragmenty z podręcznika kierowcy pojazdu, które mogą być przydatne dla producenta nadwozia. 

UWAGA! Treść może się różnić zależnie od specyfikacji pojazdu.

Instrukcja obsługi jest również dostępna dla urządzeń z systemem Android i iOS.

Kliknij poniższy link na swoim urządzeniu, aby pobrać instrukcję obsługi

Hill Hold

WAŻNE!

Nie wolno korzystać z funkcji hill hold w warunkach zimowych ze względu na ryzyko ześliźnięcia się pojazdu z zablokowanymi kołami.

Funkcja hill hold ułatwia ruszanie pod górę.

W celu użycia funkcji hill hold:

  • Włącz zasilanie pojazdu.
  • Naciśnij przełącznik, który jest podświetlony, gdy funkcja hill hold jest aktywna.
  • Teraz naciśnij pedał hamulca. Usłyszysz kliknięcie, oznaczające, że ciśnienie hamowania zostanie utrzymane, możesz więc zwolnić pedał hamulca. Im mocniej naciśnięty zostanie pedał hamulca tym silniej będzie działała funkcja hill hold.

Funkcja hill hold jest aktywna do czasu wyłączenia jej włącznikiem. Jeżeli funkcja była aktywna w czasie wyłączania pojazdu, to zostanie aktywowana przy kolejnym uruchomieniu.

UWAGA!

Funkcja hill hold nie zostanie uaktywniona, jeżeli ciśnienie hamowania jest za niskie lub jeżeli system ABS zadziałał na końcu hamowania.

Włącznik funkcji Hill hold

OSTRZEŻENIE!

Przed opuszczeniem miejsca kierowcy należy zawsze zaciągnąć hamulec postojowy.

Funkcja hill hold zwalniana jest po kilku sekundach w przypadku całkowitego puszczenia pedałów, po czym pojazd będzie mógł się poruszać. Przed zwolnieniem funkcji hill hold emitowany jest dźwiękowy sygnał ostrzegawczy, a na wyświetlaczu pojawia się komunikat ostrzegawczy.

Funkcja hill hold jest zwalniana bezpośrednio po włączeniu biegu, puszczeniu hamulca i nieznacznym przyspieszeniu.

System hamowania awaryjnego

AEB (Advanced Emergency Braking) to skrót oznaczający zaawansowany system hamowania awaryjnego, który z wykorzystaniem kamery przedniej i czujnika odległości może zminimalizować konsekwencje zderzeń z pojazdami z przodu.

OSTRZEŻENIE!

Układ AEB stanowi wyłącznie pomoc. Układ AEB nie uwzględnia warunków na drodze ani warunków atmosferycznych. Kierowca jest zawsze odpowiedzialny za bezpieczne prowadzenie pojazdu.
Manipulowanie sygnałem prędkości pojazdu może spowodować usterkę systemu AEB lub jego nieprawidłową aktywację. 

UWAGA!

Przednia kamera wymaga kalibracji po wymianie szyby przedniej.

Ostrzeżenie o możliwości kolizji

Po wykryciu możliwości kolizji przez układ AEB jest on aktywowany w trzech etapach:

  1. Na zestawie wskaźników pojawia się czerwone ostrzeżenie i emitowany jest sygnał dźwiękowy.
  2. Jeżeli kierowca nie zareaguje, a ryzyko nie zniknie, system AEB rozpocznie lekkie hamowanie pojazdu.
  3. Jeżeli kierowca nadal nie zareaguje, a ryzyko nie zniknie, system AEB zahamuje pojazdem z pełną siłą.

Kierowca może w każdej chwili anulować ostrzeżenie lub hamowanie poprzez:

  • Naciśnięcie włącznika systemu AEB na tablicy rozdzielczej
  • Szybkie i wyraźne naciśnięcie pedału przyspieszenia
  • Naciśnięcie pedału przyspieszenia do położenia wymuszonej redukcji biegów

Na wczesnym etapie kierowca może również anulować ostrzeżenie poprzez:

  • Naciśnięcie pedału hamulca
  • Włączenie kierunkowskazów

Kierowca może zawsze przejąć kontrolę nad działaniem hamulca poprzez naciśnięcie pedału hamulca. Powoduje to anulowanie ostrzeżenia i przerwanie automatycznego hamowania. Im większe zagrożenie stwarza dana sytuacja, tym silniej trzeba wcisnąć pedał hamulca.

Jeżeli tempomat adaptacyjny jest aktywny, to może on wygenerować
ostrzeżenie o możliwości kolizji i podjąć działania w celu jej uniknięcia przed wygenerowaniem ostrzeżenia systemu AEB.

Po zahamowaniu pojazdu z pełną siłą i jego zatrzymaniu hamulce będą nadal przez kilka sekund załączone, aby zapobiec poruszeniu pojazdu. Hamulce zostaną zwolnione, jeżeli kierowca naciśnie pedał hamulca lub przyspieszenia.

Symbol możliwości kolizji

Aktywacja i dostępność

Układ AEB jest aktywowany automatycznie po włączeniu zasilania. Lampka wewnątrz przełącznika świeci na zielono.

System AEB można wyłączyć za pomocą przełącznika. Lampka wewnątrz przełącznika świeci na żółto. Włącznik jest typu samopowrotnego i służy również do resetowania systemu AEB.

System AEB jest dostępny gdy:

  • Prędkość pojazdu przekracza 15 km/h

Działanie systemu AEB można być ograniczone lub system może zostać wyłączony, gdy:

  • Czujnik odległości jest zasłonięty lub uszkodzony
  • Kamera jest zasłonięta lub uszkodzona
  • Wystąpiła usterka w układzie hamulcowym pojazdu lub przyczepy
  • Zawieszenie pneumatyczne pojazdu jest ustawione na wartość znacznie przekraczającą normalne
    położenie w czasie jazdy
  • Pojazd jest użytkowany w warunkach słabego oświetlenia

Włącznik systemu AEB, zaawansowanego systemu hamowania awaryjnego

Gdy działanie układu AEB jest ograniczone, wyświetlany jest żółty symbol z komunikatem w zestawie wskaźników. 

Wyświetlone mogą być następujące komunikaty:

Usterka układu

  • Układ AEB jest wyłączony ze względu na usterkę czujnika odległości.

Ograniczona funkcjonalność

  • Działanie układu AEB jest ograniczone, ale jest on nadal częściowo aktywny. Układ AEB może nie rozpoczynać hamowania lub dawać ostrzeżenia w odpowiednim czasie. 

Symbol ograniczonego działania układu AEB

Gdy czujnik odległości lub kamera są zasłonięte, na przykład są zabrudzone, zaśnieżone lub oblodzone, to odpowiedni symbol jest wyświetlany razem z komunikatem w zestawie wskaźników.

Jeżeli przyczyna problemu nie zostanie usunięta, to układ AEB zostanie wyłączony lub jego działanie zostanie ograniczone.

W przypadku zasłoniętej kamery wystarczyć może włączenie wycieraczek szyby przedniej. Należy pamiętać, aby usuwać z kamery zabrudzenia, śnieg i lód.

  1. Zasłonięty czujnik odległości
  2. Zasłonięta kamera

OSTRZEŻENIE!

Układ AEB jest układem wyłącznie pomocniczym i w określonych warunkach drogowych może mieć trudności z identyfikowaniem pojazdów lub ich prawidłowej lokalizacji. Układ AEB może nie zgłosić możliwej kolizji lub może uaktywnić się, gdy ryzyko kolizji nie występuje.

Różne warunki drogowe

Przy zbliżaniu się do zakrętu lub wyjeżdżaniu z niego układ AEB może mieć problemy z wykryciem drogi. Układ AEB może więc nie ostrzec o pojeździe na drodze lub nieprawidłowo ostrzegać o pojazdach zaparkowanych na poboczu.

Zakręty

Na zjazdach lub łącznicach lub gdy pojazdy poruszają się na pasie awaryjnym układ AEB może mieć trudności z wykrywaniem pojazdów z przodu.

Na zjazdach, łącznicach lub pasach awaryjnych

W przypadku, gdy pojazd z przodu zmieni pas na pas, po którym porusza się pojazd, układ AEB nie zidentyfikuje pojazdu, do czasu gdy ten wjedzie w strefę identyfikacji. 

Zmiana pasa

Przyrządy dostarczające informacji o pojeździe

Zestaw wskaźników

  1. Prędkościomierz
  2. Kierunkowskaz
  3. Wyświetlacz
  4. Ogólne symbole ostrzegawcze i informacyjne
  5. Obrotomierz
  6. Wskaźnik poziomu paliwa
  7. Lampki kontrolne i symbole ostrzegawcze
  8. Wskaźnik temperatury chłodziwa silnika
  9. Po prawej stronie wyświetlacza pokazany jest poziom płynu AdBlue, temperatura zewnętrzna i zegar.

Obrotomierz

Obrotomierz wyświetla prędkość obrotową silnika w obrotach na minutę (obr./min).

Na wskaźniku znajdują się 4 pola:

  • Białe, 0-2000 obr/min i 2200-2400 obr/min.
  • Niebieskie, 2000-2400 obr/min. W tym obszarze hamulec pomocniczy silnika
    działa z największa siłą.
  • Czerwone, powyżej 2400 obr/min. Gdy prędkość obrotowa silnika znajdzie się w czerwonym polu, zachodzi ryzyko uszkodzenia silnika.

Zestaw wskaźników

Wskazania i symbole

Więcej informacji na temat wyświetlacza, ogólnych ostrzeżeń i symboli informacyjnych oraz symboli specjalnych zabudowy znaleźć można w następujących dokumentach: 

Odchylanie kabiny

OSTRZEŻENIE!

Podczas jazdy zawór pompy powinien znajdować się w położeniu opuszczania. W przeciwnym wypadku układ hydrauliczny może podnieść kabinę i spowodować uszkodzenia.

Przed odchyleniem kabiny trzeba wyłączyć silnik, włączyć hamulec postojowy i ustawić dźwignię zmiany biegów w położeniu neutralnym.

Nie wolno wykonywać robót pod kabiną ustawioną w położeniu pośrednim. Zawsze należy odchylać kabinę całkowicie.

Nie stój przed kabiną ani za kabiną podczas odchylania.

Pojazd powinien stać poziomo podczas odchylania kabiny. Nigdy nie odchylaj kabiny, gdy pojazd znajduje się na zboczu o nachyleniu większym niż 10 procent.

Mechanizm odchylania kabiny

Prawidłowo opuszczona kabina jest blokowana dwoma mechanicznymi blokadami, które są otwierane hydraulicznie przy odchylaniu.   

Odchylanie kabiny (dźwignia)

WAŻNE!

Panele boczne atrapy przedniej muszą być otwarte w czasie odchylania kabiny.

  1. Włącz hamulec postojowy.
  2. Ustaw dźwignię zmiany biegów w położeniu neutralnym.
  3. Wyjmij wszelkie luźne przedmioty i ciężkie wyposażenie z kabiny.
  4. Zamknij drzwi.
  5. Ustaw zawór pompy w położeniu odchylania. Użyj elementu pośredniego lub dźwigni.
  6. Załóż element pośredni na sworzeń pompy. Zmontuj dźwignię z elementem pośrednim.
  7. Pompuj za pomocą dźwigni, a blokada kabiny otworzy się automatycznie.
  8. Pompuj, aż kabina odchyli się w przód pod własnym ciężarem. Kontynuuj pompowanie, aż na dźwigni pompy wyczuwalny będzie opór, a kabina osiągnie maksymalny kąt otwarcia.
  1. Pompa odchylania kabiny
  2. Zawór pompy

Ustawianie zaworu pompy w położenie odchylania lub opuszczania kabiny. Górny rysunek przedstawia położenie zaworu w czasie odchylania.   Dolny rysunek przedstawia położenie zaworu w czasie opuszczania. Za pomocą dźwigni lub elementu pośredniego ustaw zawór pompy w prawidłowym położeniu.

Przechylanie kabiny z powrotem (dźwignia)

OSTRZEŻENIE!

Zagrożenie obrażeniami ciała przy opuszczaniu kabiny. Kabina opada swobodnie w ostatniej fazie przechylania jej z powrotem do położenia początkowego.

  1. Zamknij drzwi.
  2. Ustaw zawór pompy w położeniu przechylania kabiny z powrotem.
  3. Pompuj dźwignią, aż kabina opadnie
    w strefę ruchu położenia jazdy.

Pozostaw zawór pompy w położeniu opuszczania.

Odchylanie kabiny (elektroniczne)

WAŻNE!

Panele boczne atrapy przedniej muszą być otwarte w czasie odchylania kabiny.

  1. Włącz hamulec postojowy.
  2. Ustaw dźwignię zmiany biegów w położeniu neutralnym.
  3. Naciśnij włącznik odchylania kabiny.
  4. Wyjmij wszelkie luźne przedmioty i ciężkie wyposażenie z kabiny.
  5. Zamknij drzwi.
  6. Otwórz górną atrapę przednią i panele boczne atrapy przedniej. 
  7. Wyciągnij pilota zdalnego sterowania do odchylania kabiny. Pilot znajduje się pod atrapą przednią. Przytrzymaj przycisk aktywacji z tyłu pilota zdalnego sterowania, naciśnij przycisk odchylenia i trzymaj oba przyciski wciśnięte, aż kabina odchyli się w przód pod własnym ciężarem. Trzymaj przyciski aktywacji i odchylenia wciśnięte, aż kabina osiągnie kąt pełnego otwarcia.  

Włącznik odchylania kabiny

UWAGA!

Upewnij się, że osoby nieupoważnione nie mają dostępu do pilota zdalnego sterowania odchyleniem kabiny.

Przechylanie kabiny z powrotem (elektroniczne)

OSTRZEŻENIE!

Zagrożenie obrażeniami ciała przy opuszczaniu kabiny. Kabina opada swobodnie w ostatniej fazie przechylania jej z powrotem do położenia początkowego.

Pilot zdalnego sterowania do odchylania kabiny

  1. Zamknij drzwi.
  2. Wyciągnij pilota zdalnego sterowania do odchylania kabiny. Pilot znajduje się pod atrapą przednią. Przytrzymaj przycisk aktywacji z tyłu pilota zdalnego sterowania, naciśnij przycisk opuszczania i trzymaj je wciśnięte, aż kabina powróci do strefy ruchu położenia jazdy.
  3. Zresetuj włącznik odchylania kabiny.
  4. Zamknij panele boczne atrapy przedniej i górną atrapę przednią.

Wymiana koła

Ostrzeżenie!

Wyłącz napięcie i główny wyłącznik zasilania przed wymianą kół na osi wleczonej.

Nigdy nie wchodź pod pojazd uniesiony jedynie na podnośniku. Aby zapewnić maksymalne bezpieczeństwo podczas pracy pod podniesionym pojazdem, zarówno podwozie, jak i poruszające się zawieszenia osi muszą być zabezpieczone przez upadkiem. Istnieje poważne ryzyko odniesienia obrażeń cielesnych w wyniku przygniecenia.

Nigdy nie wchodź pod pojazd z zawieszeniem pneumatycznym, który nie jest w pełni zabezpieczony przed upadkiem w razie zmiany ciśnienia w miechach powietrznych. Istnieje poważne ryzyko odniesienia obrażeń cielesnych w wyniku przygniecenia.

Demontaż

1. Włącz niski bieg i przekręć kluczyk do położenia wyłączenia. Umieść wybierak trybu pracy w położeniu neutralnym dla automatycznej skrzyni biegów.

Ostrzeżenie!

Musisz zaklinować koła pojazdu, aby nie poruszał się on podczas pracy.

2. Włóż klin przed i za kołami, które mają pozostać na podłożu.

3. Zwolnij hamulec postojowy wymienianego koła, aby mieć pewność, że koło i bęben hamulcowy są położone naprzeciwko piasty podczas dokręcania.

4. Oznacz położenie obręczy koła wobec piasty.

5. Poluzuj nakrętki koła, ale ich nie zdejmuj.

6. Podnieś pojazd.

 

Ostrzeżenie!

Upewnij się, że podnośnik stoi stabilnie na równym podłożu.

WAŻNE!

Umieszczaj podnośnik wyłącznie we wskazanych punktach podnoszenia. Inne położenie może doprowadzić do poważnego uszkodzenia pojazdu.

7. Zdejmij nakrętki i koło.

WAŻNE!

Sprawdź nakrętki kół i dokręć je momentem 600 Nm po przejechaniu około 100 km.

Włóż klin przed i za kołami, które mają pozostać na podłożu.

Oznaczanie położenia obręczy kół w stosunku do piasty.

Montaż

1. Dokładnie oczyść powierzchnie styku. Użyj szczotki drucianej.
Na niektórych obręczach kół znajdują się pierścienie odległościowe. Należy je także wyczyścić.

UWAGA!

Grube warstwy farby, rdzy i brudu mogą spowodować obluzowanie nakrętek koła oraz przybranie owalnego kształtu przez otwory na śruby w obręczach i przez bęben hamulcowy.

2. Oczyść gwinty śrub koła.

UWAGA!

Sprawdź, czy hamulec postojowy osi, na której pracujesz, jest zwolniony.

3. Zamontuj ponownie koło w tym samym położeniu, w którym się znajdowało. Sprawdź oznaczenie.

4. Dokręć nakrętki koła we właściwej kolejności zgodnie z ilustracją. Nigdy nie używaj klucza mechanicznego z kołem zamachowym. Nakrętki należy dokręcić momentem 600 Nm.

WAŻNE!

Warsztat firmy Scania musi dokręcać nakrętki koła odpowiednim momentem. Zbyt wysoki lub zbyt niski moment obrotowy może spowodować obluzowanie koła lub przybranie przez bęben hamulcowy owalnego kształtu.

5. Opuść pojazd i usuń blokady klinowe koła.

Części, które muszą zostać oczyszczone przed montażem

Kolejność dokręcania nakrętek koła

Firma Scania zaleca rysowanie linii nad śrubami i nakrętkami koła, aby łatwiej było wykryć ewentualne odchylenia. Użyj markera. Jeśli nakrętka koła odbiega od właściwego położenia, zdejmij ją całkowicie i zamontuj ponownie.

WAŻNE!

Sprawdź nakrętki koła momentem 600 Nm po przejechaniu ok. 100 km.

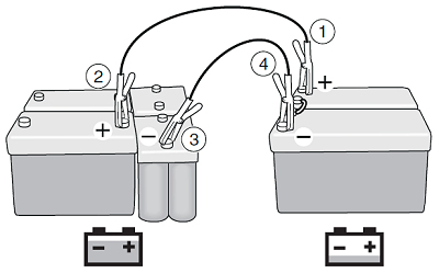
Uruchamianie z zewnętrznego źródła zasilania

OSTRZEŻENIE!

Nie stój blisko akumulatorów w czasie stosowania przewodów rozrusznika. Akumulator może eksplodować, powodując poważne szkody.

Nie łącz akumulatorów w otoczeniu palnych gazów lub cieczy, takich jak benzyna lub etanol.

Dokładnie przestrzegaj instrukcji, aby zapobiec obrażeniom ciała lub szkodom mienia.

WAŻNE!

Panele boczne atrapy przedniej muszą być otwarte w czasie odchylania kabiny.

Jeżeli akumulatory pojazdu są rozładowane i nie zapewniają prądu wystarczającego do uruchomienia silnika, można je podłączyć do innych akumulatorów.

Oba układy muszą mieć akumulatory o takim samym napięciu, to znaczy 24 V.

Używaj grubych przewodów rozrusznika (co najmniej 25 mm²) z izolowanymi zaciskami.   

Przygotowanie:

  • Uruchom silnik pojazdu z naładowanymi akumulatorami.

Wykonaj następujące czynności (opcja 1):

  1. Połącz z biegunem dodatnim (+) dodatkowego akumulatora w pojeździe z rozładowanym akumulatorem.
  2. Połącz z biegunem dodatnim (+) akumulatora w pojeździe z całkowicie naładowanym akumulatorem.
  3. Połącz z biegunem ujemnym (-) akumulatora w pojeździe z całkowicie naładowanym akumulatorem.
  4. Połącz z biegunem ujemnym (-) dodatkowego akumulatora w pojeździe z rozładowanym akumulatorem. Ten odstani przewód może powodować iskrzenie przy podłączaniu.
  5. Uruchom silnik pojazdu z rozładowanym akumulatorem. Nie stój blisko akumulatorów.
  6. Gdy silnik się uruchomi, najpierw odłącz przewód od bieguna ujemnego (-) akumulatora w pojeździe z rozładowanym akumulatorem, a potem pozostałe przewody.
  7. Jeżeli silnik nie uruchamia się. Odłącz przewody zgodnie z opisem w kroku 6 i powtórz wszystkie kroki z jednym wyjątkiem. W kroku 1 połącz z biegunem dodatnim (+) na akumulatorze wewnętrznym w pojeździe z rozładowanym akumulatorem.

Wykonaj następujące czynności, gdy pojazd wykorzystany jest do wspomagania rozruchu:

  1. Połącz z biegunem dodatnim (+) akumulatora w pojeździe z rozładowanym
    akumulatorem.
  2. Połącz z biegunem dodatnim (+) dodatkowego akumulatora w pojeździe z całkowicie naładowanym akumulatorem.
  3. Połącz z biegunem ujemnym (-) dodatkowego akumulatora w pojeździe z całkowicie naładowanym akumulatorem.
  4. Połącz z biegunem ujemnym (-) akumulatora w pojeździe z rozładowanym akumulatorem. Ten odstani przewód może powodować iskrzenie przy podłączaniu.
  5. Uruchom silnik pojazdu z rozładowanym akumulatorem. Nie stój blisko akumulatorów.
  6. Gdy silnik się uruchomi, najpierw odłącz przewód od bieguna ujemnego (-) akumulatora w pojeździe z rozładowanym akumulatorem, a potem pozostałe przewody.

UWAGA!

Jeżeli lakier ochronny na ramie ulegnie uszkodzeniu, należy go niezwłocznie uzupełnić.

WAŻNE!

Porady, gdy występują problemy z rozruchem:
Rozrusznik jest blokowany automatycznie po 35 sekundach. 
Kręć rozrusznikiem nie dłużej niż przez 30 sekund. Jeżeli silnik nie uruchomi się po pierwszej próbie, przestaw kluczyk w położenie radia i odczekaj około 30 sekund, aż rozrusznik odzyska sprawność.
Jeżeli silnik nie uruchomi się po 2. próbie, należy odczekać co najmniej 5 minut przed wykonaniem kolejnych 2 prób. Sprawdź, czy usterce nie uległ inny podzespół, na przykład element układu paliwowego. 

Hydrauliczny układ przeniesienia napędu

Regulacja ciśnienia w układzie hydraulicznym

Ciśnienie w układzie hydraulicznym można ustawić na 150 lub 220 barów poprzez ustawienie w jednej z 2 stałych pozycji. Sprawdź, jakiego ciśnienia wymaga podłączone do układu wyposażenie hydrauliczne i ustaw ciśnienie za pomocą pokrętła. Pokrętło klika po osiągnięciu pozycji końcowej. Nie wolno pozostawiać pokrętła w położeniu pośrednim.

WAŻNE!

Zawsze sprawdzaj, czy ustawione ciśnienie w układzie nie przekracza maksymalnego ciśnienia wyposażenia hydraulicznego przed podłączeniem, aby uniknąć uszkodzenia sprzętu.

Ustaw ciśnienie w układzie hydraulicznym za pomocą pokrętła.

Przystawka odbioru mocy EG

Napędzana ze skrzyni biegów przystawka odbioru mocy EG przenosi moc ze skrzyni biegów na wyposażenie zewnętrzne. Przystawka mocowana jest na skrzyni biegów i napędzana wałkiem pośrednim skrzyni. Normalnie przystawka nie jest załączona. Przed uruchomieniem przystawki odbioru mocy EG kluczyk zapłonu musi być w położeniu jazdy, a ciśnienie powietrza powyżej 5 barów.

Producent nadwozia może ustalić inne wymagania.

WAŻNE!

Po zakończeniu jazdy należy pozostawić silnik na biegu jałowym przez około 1 minutę przed wyłączeniem. W przeciwnym razie istnieje ryzyko uszkodzenia turbosprężarki.

Pojazd może być wyposażony w kilka przystawek odbioru mocy.

Prędkość obrotową silnika można regulować na potrzeby napędzania przystawki odbioru mocy EG za pomocą przycisków + lub - na włączniku tempomatu.

WAŻNE!

W przypadku wysokoobrotowych przystawek odbioru mocy EG pojazd powinien stać możliwie poziomo. Napędzanie przystawki pojazdu stojącego na pochyłości możliwe jest tylko przez krótki czas.

W skrzyniach biegów z przekładnią zdwajacza przystawki odbioru mocy mogą pracować z dwiema różnymi prędkościami przy tej samej prędkości obrotowej silnika zależnie od tego, czy wybrany jest niski czy wysoki półbieg, gdy skrzynia biegów znajduje się w położeniu neutralnym.  

Tryb zdwajacza zmieniany jest ręcznie za pomocą dźwigni hamulca pomocniczego poprzez przestawienie jej do siebie lub w przeciwną stroną. 

Gdy przystawka odbioru mocy EG jest załączona, zmiana biegu jest zablokowana w czasie jazdy. Można jednak zmienić bieg, gdy pojazd stoi Po ruszeniu pojazdem z załączoną przystawką odbioru mocy EG, w zestawie wskaźników wyświetlany jest komunikat.

Załączanie

WAŻNE!

Przystawkę odbioru mocy można załączać i odłączać tylko bez obciążenia. Bieg można zmieniać tylko wtedy, gdy przystawka odbioru mocy jest nieobciążona, w przeciwnym razie skrzynia biegów może ulec uszkodzeniu.

  1. Upewnij się, że pojazd stoi nieruchomo.
  2. Naciśnij pedał sprzęgła, jeżeli silnik pracuje, lub zmień bieg na jałowy.
  3. Naciśnij włącznik.
  4. Poczekaj, aż w zestawie wskaźników pojawi się symbol przystawki odbioru mocy.
  5. Powoli puszczaj sprzęgło (ręczna skrzynia biegów), jeżeli silnik pracuje.

UWAGA!

Jeżeli po 10 sekundach nie pojawi się symbol, powoli zwalniaj sprzęgło, tak aby umożliwić prawidłowe ustawienie kół przekładniowych. Nie naciskaj ponownie włącznika.

WAŻNE!

W przypadku nietypowych dźwięków dobiegających z automatycznej skrzyni biegów, natychmiast naciśnij włącznik. Przystawka odbioru mocy zostanie automatycznie odłączona.

UWAGA!

Jeżeli symbol przystawki odbioru mocy (automatyczna skrzynia biegów) nie pojawi się w zestawie wskaźników po 20–30 sekundach, powtórz kroki 3 i 4.

Rozłączanie

  1. Naciśnij pedał sprzęgła, jeżeli silnik pracuje, lub zmień bieg na jałowy.
  2. Naciśnij włącznik przystawki odbioru mocy.
  3. Poczekaj, aż na zestawie wskaźników zgaśnie symbol przystawki odbioru mocy.
  4. Powoli puszczaj sprzęgło (ręczna skrzynia biegów), jeżeli silnik pracuje.

Włącznik przystawki odbioru mocy EG

Przystawka odbioru mocy EK

Przystawka odbioru mocy to zewnętrzny czop zwrotnicy do przenoszenia mocy z silnika na wyposażenie zewnętrzne. Przystawka odbioru mocy EK montowana jest między silnikiem a skrzynią biegów i jest napędzana przez silnik. Normalnie przystawka odbioru mocy nie jest załączona.

Prędkość obrotową silnika można regulować na potrzeby napędzania przystawki odbioru mocy EK za pomocą przycisków + lub - na włączniku tempomatu.

WAŻNE!

Silnik musi być wyłączony przed załączeniem przystawki odbioru mocy.

Załączanie

  1. Wyłącz silnik.
  2. Ustaw biegi w położeniu neutralnym.
  3. Ustaw kluczyk w położeniu jazdy.
  4. Aktywuj włącznik.
  5. Uruchom silnik.

Rozłączanie

  1. Upewnij się, że przystawka odbioru mocy nie jest obciążona.
  2. Wyłącz włącznik.

Przystawka odbioru mocy EK — włącznik

Przystawka odbioru mocy ED

Przystawka odbioru mocy przenosi moc z silnika na wyposażenie zewnętrzne. Przystawka odbioru mocy ED jest napędzana bezpośrednio przez mechanizm rozrządu silnika i obraca się po uruchomieniu silnika. Włącznik aktywuje układ hydrauliczny i doprowadza ciśnienie do układu.

Producent nadwozia może ustalić inne wymagania.

Prędkość obrotową silnika można regulować na potrzeby napędzania przystawki odbioru mocy ED za pomocą przycisków + lub - na włączniku tempomatu.

Załączanie

  • Aktywuj włącznik.

Rozłączanie

  • Wyłącz włącznik.

Włącznik przystawki odbioru mocy ED

Przełącznik EXT

Przełącznik EXT to funkcja bezpieczeństwa umożliwiająca sterowanie niektórymi funkcjami pojazdu na zewnątrz kabiny. Funkcje, którymi można sterować, zależą od wyposażenia pojazdu i logiki utworzonej w układzie zabudowy pojazdu. 

Po naciśnięciu przełącznika EXT, symbol EXT podświetla się w zestawie wskaźników.

Włącznik EXT. Naciśnij ten włącznik, jeśli chcesz sterować wybranymi funkcjami pojazdu z zewnątrz.