Fragmenten uit het bestuurdershandboek

Op de onderstaande tabbladen vindt u fragmenten uit het Bestuurdershandboek van het voertuig die nuttig kunnen zijn voor de carrosseriebouwer. 

N.B. De informatie kan verschillen afhankelijk van de voertuigspecificatie.

De bestuurdershandleiding is ook beschikbaar voor Android- en iOS-apparaten.

Klik op de onderstaande link op uw apparaat om de Bestuurdershandboek te downloaden

Hill-hold

BELANGRIJK

Gebruik hill-hold niet in winterse rijomstandigheden om het risico dat het voertuig met geblokkeerde wielen gaat slippen te vermijden.

Gebruik hill-hold om gemakkelijker te starten op hellingen.

Gebruik hill-hold als volgt:

  • Schakel het contact van het voertuig in.
  • Druk op de schakelaar, die brandt wanneer hill-hold is geactiveerd.
  • Wanneer u nu het rempedaal intrapt, hoort u een klik. Daarna blijft de remdruk gehandhaafd zodat u het rempedaal kunt loslaten. Hoe harder u het rempedaal intrapt, hoe sterker hill-hold wordt toegepast.

Hill-hold werkt totdat u de functie uitschakelt met de schakelaar. Als de functie actief was bij het uitschakelen van het contact, wordt hill-hold geactiveerd wanneer het voertuig de volgende keer wordt gestart.

N.B.

Hill-hold wordt niet geactiveerd als de remdruk te laag is of als de ABS actief was bij het einde van het remmen.

Hill-holdschakelaar

WAARSCHUWING

Schakel altijd de parkeerrem in voordat u de bestuurdersplaats verlaat.

De hill-holdfunctie wordt na enkele seconden uitgeschakeld als u de pedalen volledig loslaat. Het voertuig kan dan in beweging komen. U hoort een waarschuwingssignaal en er verschijnt een waarschuwingstekst in het display voordat de hill-holdfunctie wordt uitgeschakeld.

De hill-holdfunctie wordt direct uitgeschakeld wanneer u een versnelling inschakelt, het rempedaal loslaat en licht accelereert.

Automatische noodrem

AEB is een geavanceerd noodremsysteem dat met behulp van een vooruitkijkcamera en een afstandsensor de gevolgen van ongevallen met voorliggers kan beperken.

WAARSCHUWING

AEB is slechts een hulpmiddel. AEB kan zich niet zelf aan de rijomstandigheden of het weer aanpassen. Veilig rijden met het voertuig is altijd de verantwoordelijkheid van de bestuurder.
Wijziging van het snelheidssignaal van het voertuig kan storingen of verkeerde activering van de AEB veroorzaken. 

N.B.

Na een vervanging van de voorruit moet de vooruitkijkcamera worden geijkt.

Aanrijdingswaarschuwing

Als het AEB een aanrijdingsrisico registreert, wordt het systeem geactiveerd in drie fasen:

  1. Er wordt een rode waarschuwing met geluidssignaal weergegeven in de instrumentengroep.
  2. Als de bestuurder niet reageert en het risico blijft bestaan, zal AEB het voertuig licht afremmen.
  3. Komt hierop geen reactie en is het risico nog steeds aanwezig, dan zal AEB het voertuig krachtig afremmen.

De bestuurder kan de waarschuwing of het remmen altijd annuleren door:

  • De AEB-schakelaar op het instrumentenpaneel in te drukken
  • Snel en kordaat het gaspedaal in te trappen
  • Het gaspedaal in te trappen tot de kickdown-stand

In een vroeg stadium kan de bestuurder de waarschuwing ook annuleren door:

  • Het rempedaal in te trappen
  • De richtingaanwijzers in te schakelen

De bestuurder kan altijd de controle over de remwerking overnemen door het rempedaal in te trappen. De waarschuwing en de automatische remwerking worden dan geannuleerd. Hoe kritieker de situatie, hoe harder het rempedaal moet worden ingetrapt.

Als de adaptieve cruise control is geactiveerd, kan deze een
aanrijdingswaarschuwing geven en proberen de situatie te verbeteren vóór de AEB-waarschuwing.

Nadat het voertuig krachtig heeft geremd en tot stilstand is gekomen, blijven de remmen nog enkele seconden ingeschakeld zodat het voertuig niet kan bewegen. De remmen worden losgelaten wanneer de bestuurder het rem- of gaspedaal intrapt.

Symbool voor aanrijdingsrisico

Activering en beschikbaarheid

AEB wordt automatisch geactiveerd bij het inschakelen van de spanning. De controlelamp op de schakelaar licht groen op.

AEB kan worden gedeactiveerd met de schakelaar. Het lampje in de schakelaar licht geel op. De schakelaar is veerbelast en dient ook om AEB te resetten.

AEB is beschikbaar wanneer:

  • De voertuigsnelheid hoger is dan 15 km/u

AEB kan worden beperkt of gedeactiveerd wanneer:

  • De afstandsensor geblokkeerd of defect is
  • De camera geblokkeerd of defect is
  • Er een storing is in het remsysteem van het voertuig of de trailer
  • De luchtvering ver buiten de normale
    rijstand is ingesteld
  • Het voertuig in het donker rijdt

Schakelaar voor AEB, geavanceerd remmen bij nood

Wanneer AEB beperkt is, wordt een geel symbool samen met een bericht weergegeven in de instrumentengroep. 

De volgende berichten kunnen worden weergegeven:

Systeemstoring

  • AEB is gedeactiveerd wegens een storing in de afstandsensor.

Beperkte functionaliteit

  • AEB is beperkt, maar nog gedeeltelijk actief. Het is mogelijk dat AEB niet op tijd remt of waarschuwt voor een aanrijding. 

Symbool voor beperkte AEB

Wanneer de afstandsensor of de camera geblokkeerd is, bijvoorbeeld door vuil, sneeuw of ijs, wordt het bijbehorende symbool samen met een bericht weergegeven in de instrumentengroep.

Als het probleem niet wordt verholpen, wordt de AEB-functie gedeactiveerd of beperkt.

Als de camera geblokkeerd is, kan dit genoeg zijn om de ruitenwissers te activeren. Zorg dat hij vrij blijft van vuil, sneeuw en ijs.

  1. Geblokkeerde afstandsensor
  2. Geblokkeerde camera

WAARSCHUWING

AEB is slechts een hulpmiddel en kan in bepaalde verkeersomstandigheden moeite ondervinden om voertuigen correct te identificeren of te lokaliseren. Het kan zijn dat AEB een aanrijdingsrisico niet herkent of, andersom, wordt geactiveerd wanneer er geen aanrijdingsrisico is.

Verschillende verkeersomstandigheden

Bij het aansnijden of uitkomen van bochten kan AEB moeite ondervinden om de verdere loop van de weg te identificeren. Daardoor kan het gebeuren dat AEB niet waarschuwt voor voertuigen op de weg of verkeerd waarschuwt voor voertuigen aan de kant de weg.

Bochten

Bij afritten of in-/uitvoegstroken of wanneer voertuigen op de pechstrook rijden kan AEB moeite ondervinden om voorliggers te identificeren.

Bij afritten of in-/uitvoegstroken of op de pechstrook

Een voertuig dat net voor uw voertuig op uw rijstrook komt gereden kan pas worden geïdentificeerd door AEB wanneer het in de identificatiezone komt. 

Veranderen van rijstrook

Instrumenten voorvoertuiginformatie

Instrumentengroep

  1. Snelheidsmeter
  2. Richtingaanwijzer
  3. Weergeven
  4. Algemene waarschuwingssymbolen en indicatiesymbolen
  5. Toerenteller
  6. Brandstofpeilmeter
  7. Controlelampen en waarschuwingssymbolen
  8. Temperatuurmeter motorkoelvloeistof
  9. Rechterdisplay toont reductantpeil, buitentemperatuur en klok.

Toerenteller

De toerenteller geeft het motortoerental weer in omwentelingen per minuut, omw/min.

De meter heeft 4 velden:

  • Wit, 0-2.000 omw/min en 2.200-2.400 omw/min.
  • Blauw, 2.000-2.400 omw/min. In dit veld werkt de hulprem van de motor
    het krachtigst.
  • Rood, boven 2.400 omw/min. Wanneer het motortoerental in het rode veld staat, bestaat het risico op motorbeschadiging.

Instrumentengroep

Display en symbolen

Meer informatie over het display, algemene waarschuwings- en indicatiesymbolen en speciale carrosseriesymbolen vindt u in de volgende documenten: 

Cabine kantelen

WAARSCHUWING

De pompklep moet tijdens het rijden in de stand voor het laten zakken staan. Anders kan het hydraulische systeem de cabine omhoog pompen en schade veroorzaken.

Voordat u de cabine kantelt, moet u de motor uitschakelen, de parkeerrem inschakelen en de schakelhendel in neutraal zetten.

Werk niet onder de cabine wanneer deze in de middelste stand staat. Kantel de cabine altijd volledig.

Ga tijdens het kantelen nooit voor of achter de cabine staan.

Het voertuig moet op een vlakke ondergrond staan wanneer de cabine wordt gekanteld. Kantel de cabine nooit wanneer het voertuig op een helling van meer dan 10% staat.

Cabinekantelsysteem

Wanneer de cabine correct is neergelaten, wordt deze vergrendeld met 2 mechanische vergrendelingen die bij het kantelen hydraulisch worden geopend.   

De cabine kantelen (kantel-/krikstang)

BELANGRIJK

De zijpanelen van het frontluik moeten geopend zijn wanneer de cabine wordt gekanteld.

  1. Schakel de parkeerrem in.
  2. Zet de schakelhendel in de neutrale stand.
  3. Verwijder alle losse voorwerpen en zware uitrusting uit de cabine.
  4. Sluit de portieren.
  5. Stel de pompklep in op de kantelstand. Gebruik de adapter of de kantel-/krikstang.
  6. Bevestig de adapter op de pen van de pomp. Monteer de kantel-/krikstang aan de adapter.
  7. Pomp met de kantel-/krikstang. De cabinevergrendeling opent automatisch.
  8. Pomp tot de cabine naar voren kantelt onder haar eigen gewicht. Blijf pompen tot een tegendruk voelbaar is in de pomphendel en de cabine de maximale openingshoek heeft bereikt.
  1. Cabinekantelpomp
  2. Pompklep

De pompklep instellen voor het kantelen of laten zakken van de cabine. De bovenste afbeelding toont de stand van de klep bij het kantelen. De onderste afbeelding toont de stand van de klep bij het laten zakken. Gebruik de kantel-/krikstang of de adapter om de pomp in de juiste stand te zetten.

De cabine terugkantelen (kantel-/krikstang)

WAARSCHUWING

Er bestaat een risico op letsel door beknelling wanneer de cabine wordt neergelaten. Tijdens de laatste fase van het laten zakken valt de cabine in een vrije beweging.

  1. Sluit de portieren.
  2. Zet de pompklep in de stand om de cabine terug te kantelen.
  3. Pomp de cabine terug met de kantel-/krikstang tot de cabine terugvalt
    in de bewegingszone van de rijstand.

Laat de pompklep staan in de stand voor het laten zakken.

Cabine kantelen (elektronisch)

BELANGRIJK

De zijpanelen van het frontluik moeten geopend zijn wanneer de cabine wordt gekanteld.

  1. Schakel de parkeerrem in.
  2. Zet de schakelhendel in de neutrale stand.
  3. Druk op de cabinekantelschakelaar.
  4. Verwijder alle losse voorwerpen en zware uitrusting uit de cabine.
  5. Sluit de portieren.
  6. Open het bovenste frontluik en de zijpanelen van het frontluik. 
  7. Pak de afstandsbediening voor het kantelen van de cabine. De afstandsbediening bevindt zich onder het frontluik. Houd de activeringsknop op de achterkant van de afstandsbediening ingedrukt, druk op de kantelknop en houd beide knoppen ingedrukt totdat de cabine door haar eigen gewicht naar voren kantelt. Blijf de activerings- en de kantelknop indrukken tot de cabine de maximale openingshoek heeft bereikt.  

Cabinekantelschakelaar

N.B.

Zorg ervoor dat onbevoegden geen toegang hebben tot de afstandsbediening voor het kantelen van de cabine.

Cabine terugkantelen (elektronisch)

WAARSCHUWING

Er bestaat een risico op letsel door beknelling wanneer de cabine wordt neergelaten. Tijdens de laatste fase van het laten zakken valt de cabine in een vrije beweging.

Afstandsbediening voor kantelen van cabine

  1. Sluit de portieren.
  2. Pak de afstandsbediening voor het kantelen van de cabine. De afstandsbediening bevindt zich onder het frontluik. Houd de activeringsknop op de achterkant van de afstandsbediening ingedrukt, druk op de knop voor het laten zakken en houd beide knoppen ingedrukt totdat de cabine terugvalt naar de bewegingszone van de rijstand.
  3. Reset de cabinekantelschakelaar.
  4. Sluit de zijpanelen van het frontluik en het bovenste frontluik.

Wiel vervangen

Waarschuwing!

Schakel de spanning uit en zet de accuhoofdschakelaar uit voordat u wielen op de sleepas gaat verwisselen.

Werk nooit onder een voertuig dat alleen met een krik omhoog is gebracht. Voor maximale veiligheid tijdens het werken onder een omhoog gebracht voertuig moeten zowel het chassis als de beweegbare asophangingen worden geborgd tegen vallen. Er bestaat een groot risico op letsel door beknelling.

Ga nooit onder een luchtgeveerd voertuig dat niet geheel is geborgd tegen vallen bij een drukverandering in de luchtbalgen. Er bestaat een groot risico op letsel door beknelling.

Verwijderen

1. Schakel een lage versnelling in en draai de sleutel naar de vergrendelde positie. Plaats de rijfunctieschakelaar in de neutraalstand van de automatische transmissie.

Waarschuwing!

U moet de wielen van het voertuig blokkeren zodat het voertuig niet kan verschuiven tijdens de werkzaamheden.

2. Blokkeer vóór en achter de wielen die op de grond blijven.

3. Ontkoppel de parkeerrem van het wiel dat verwisseld moet worden om er zeker van te zijn dat het wiel en de remtrommel tegen de naaf aanliggen bij het aandraaien.

4. Markeer de positie van de velg ten opzichte van de naaf.

5. Draai de wielmoeren los zonder ze te verwijderen.

6. Breng het voertuig omhoog.

 

Waarschuwing!

Zorg dat de krik stevig staat op een horizontaal vlak.

BELANGRIJK

Plaats de krik alleen op de aangegeven hefpunten. Als u de krik op een andere plek plaatst, kan dat ernstige schade aan het voertuig veroorzaken.

7. Verwijder de wielmoeren en het wiel.

BELANGRIJK

Draai de wielmoeren na ca. 100 km rijden gecontroleerd vast tot 600 Nm.

Blokkeer vóór en achter de wielen die op de grond blijven.

Markeer de positie van de velg ten opzichte van de naaf.

Aanbrengen

1. Maak de contactvlakken grondig schoon. Gebruik een staalborstel.
Op sommige velgen zitten vulringen. Maak deze ook schoon.

N.B.

Dikke lagen verf, roest en vuil kunnen ervoor zorgen dat de wielmoeren los gaan zitten en de boutgaten in de velgen en de remtrommels ovaal worden.

2. Maak de schroefdraad van de wielbouten schoon.

N.B.

Controleer of de parkeerrem is losgezet op de as waarop gewerkt wordt.

3. Monteer het wiel terug op dezelfde positie als voor het verwijderen. Controleer de markering.

4. Draai de wielmoeren in de juiste volgorde aan zoals in de afbeelding staat aangegeven. Gebruik nooit een vliegwiel-moersleutel. De moeren moeten met een aanhaalmoment van 600 Nm worden aangedraaid.

BELANGRIJK

Een Scania werkplaats zal de wielmoeren met het juiste aanhaalmoment aandraaien. Een te hoog of te laag aanhaalmoment zorgt ervoor dat het wiel los raakt of dat de remtrommel ovaal wordt.

5. Laat het voertuig zakken en verwijder de wielblokken.

Onderdelen die vóór aanbrengen schoongemaakt moeten worden.

Aanhaalvolgorde voor aandraaien van de wielmoeren

Scania raadt aan een lijn te trekken over de wielbouten en wielmoeren om makkelijker afwijkingen te ontdekken. Gebruik een markeerpen. Als een wielmoer afwijkt, moet deze geheel worden verwijderd en opnieuw worden gemonteerd.

BELANGRIJK

Controleer na ongeveer 100 km rijden of de wielmoeren met 600 Nm vastzitten.

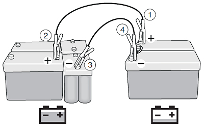
Starthulp

WAARSCHUWING

Ga niet dicht bij de accu’s staan wanneer u startkabels gebruikt. Het risico bestaat dat een accu ontploft en grote schade veroorzaakt.

Sluit geen accu’s op elkaar aan in een omgeving waar brandbare gassen of vloeistoffen zoals benzine of ethanol aanwezig zijn.

Volg nauwgezet de instructies om lichamelijk letsel of materiële schade te voorkomen.

BELANGRIJK

De zijpanelen van het frontluik moeten geopend zijn wanneer de cabine wordt gekanteld.

Als de accu’s van het voertuig ontladen zijn en niet voldoende stroom leveren om de motor te starten, kunt u ze aansluiten op andere accu’s.

Beide systemen moeten dezelfde accuspanning hebben, d.w.z. 24 V.

Gebruik dikke startkabels (minstens 25 mm²) met geïsoleerde klemmen.   

Voorbereidingen:

  • Start de motor van het voertuig met opgeladen accu’s.

Ga als volgt te werk (optie 1):

  1. Sluit de kabel aan op de pluspool (+) van de gebruiksaccu in het voertuig met lage accuspanning.
  2. Sluit de kabel aan op de pluspool (+) van de accu in het voertuig met volledig opgeladen accu.
  3. Sluit de kabel aan op de minpool (-) van de accu in het voertuig met volledig opgeladen accu.
  4. Sluit de kabel aan op de minpool (-) van de gebruiksaccu in het voertuig met lage accuspanning. Bij het aansluiten van deze laatste kabel kan een vonk ontstaan.
  5. Start de motor van het voertuig met lage accuspanning. Ga niet te dicht bij de accu’s staan.
  6. Wanneer de motor is gestart, koppelt u eerst de kabel van de minpool (-) van de accu los in het voertuig met lage accuspanning en daarna de andere kabels.
  7. Als de motor niet start. Koppel de kabels los zoals beschreven in stap 6 en herhaal alle punten, met één uitzondering. Sluit in stap 1 de kabel aan op de pluspool (+) van de binnenste accu in het voertuig met lage accuspanning.

Ga als volgt te werk om het voertuig starthulp te geven:

  1. Sluit de kabel aan op de pluspool (+) van de accu in het voertuig
    met lage accuspanning.
  2. Sluit de kabel aan op de pluspool (+) van de gebruiksaccu in het voertuig met volledig opgeladen accu.
  3. Sluit de kabel aan op de minpool (-) van de gebruiksaccu in het voertuig met volledig opgeladen accu.
  4. Sluit de kabel aan op de minpool (-) van de accu in het voertuig met lage accuspanning. Bij het aansluiten van deze laatste kabel kan een vonk ontstaan.
  5. Start de motor van het voertuig met lage accuspanning. Ga niet te dicht bij de accu’s staan.
  6. Wanneer de motor is gestart, koppelt u eerst de kabel van de minpool (-) van de accu los in het voertuig met lage accuspanning en daarna de andere kabels.

N.B.

Als de beschermende lak op het frame beschadigd raakt, moet deze onmiddellijk worden bijgewerkt.

BELANGRIJK

Advies wanneer de motor moeilijk is te starten:
De startmotor wordt automatisch geblokkeerd na 35 seconden. 
Laat de startmotor maximaal 30 seconden draaien. Als de motor de eerste keer niet start, draait u de contactsleutel weer in de radiostand en wacht u ongeveer 30 seconden zodat de startmotor zich kan herstellen.
Als de motor na 2 pogingen niet is gestart, moet de startmotor minstens 5 minuten inactief worden gelaten voordat u 2 nieuwe pogingen doet. Controleer of er geen andere storingen zijn, bijvoorbeeld een storing in het brandstofsysteem. 

Hydraulische set

De druk in het hydraulisch systeem afstellen

De druk in het hydraulisch systeem kan worden ingesteld op 150 of 220 bar met 2 vaste standen. Controleer welke druk is vereist voor de hydraulische uitrusting die op het systeem wordt aangesloten en stel de druk in met de draaiknop. De draaiknop klikt vast in de eindposities en mag niet in een tussenpositie worden gezet.

BELANGRIJK

Controleer altijd of de ingestelde systeemdruk niet hoger is dan de maximumdruk die vermeld staat op de hydraulische uitrusting, voordat u deze aansluit om schade aan de uitrusting te voorkomen.

Stel de druk in het hydraulisch systeem in met de draaiknop.

EG-PTO

De door de versnellingsbak aangedreven EG-PTO brengt vermogen van de versnellingsbak over naar externe accessoires. Deze is aangebracht op de versnellingsbak, wordt aangedreven door de nevenas van de versnellingsbak en is normaal niet ingeschakeld. Voordat u de EG-PTO activeert, moet de contactsleutel in de rijstand staan en moet de luchtdruk hoger zijn dan 5 bar.

De carrosseriebouwer kan nog andere vereisten bepalen waaraan moet worden voldaan.

BELANGRIJK

Laat na de rit de motor ongeveer 1 minuut stationair draaien voordat u deze uitschakelt. Als u dit nalaat, bestaat de kans dat de turbocompressor beschadigd raakt.

Het voertuig kan met meerdere PTO's worden uitgerust.

U kunt het motortoerental naar de EG-PTO regelen door op + of - te drukken op de cruise control-schakelaar.

BELANGRIJK

Wanneer u de EG-PTO met hoog toerental gebruikt, moet het voertuig zo horizontaal mogelijk staan. Het voertuig mag slechts korte tijd stilstaan op een helling.

Bij versnellingsbakken met splitterbak kunnen 2 verschillende snelheden worden gegeven aan de krachtafnemer bij hetzelfde motortoerental, afhankelijk van het feit of lage of hoge split is ingeschakeld wanneer de versnellingsbak in de neutrale stand staat.  

U kunt de splitmodus handmatig wijzigen met de hulpremhendel door de hendel naar u toe of van u weg te bewegen. 

Wanneer de EG-PTO is ingeschakeld, wordt het schakelen geblokkeerd tijdens het rijden. U kunt echter wel schakelen wanneer het voertuig stilstaat. Als het voertuig wegrijdt met geactiveerde EG-PTO, wordt een bericht weergegeven in de instrumentengroep.

Inschakelen

BELANGRIJK

Schakel de PTO alleen in en uit wanneer deze onbelast is. Verander alleen van versnelling wanneer de PTO onbelast is, anders kan de versnellingsbak beschadigd raken.

  1. Zorg dat het voertuig stilstaat.
  2. Trap het koppelingspedaal in als de motor draait of schakel in neutraal.
  3. Druk op de schakelaar.
  4. Wacht tot het PTO-symbool wordt weergegeven in de instrumentengroep.
  5. Laat de koppeling langzaam opkomen (handgeschakelde versnellingsbak) als de motor draait.

N.B.

Als er na 10 seconden geen symbool wordt weergegeven, laat u de koppeling langzaam opkomen zodat de tandwielen in de juiste positie kunnen komen. Druk niet opnieuw op de schakelaar.

BELANGRIJK

Druk de schakelaar onmiddellijk in als de automatische transmissie een abnormaal geluid maakt. De PTO wordt dan automatisch uitgeschakeld.

N.B.

Als het PTO-symbool (automatische transmissie) na 20 tot 30 seconden niet in de instrumentengroep is verschenen, herhaalt u stappen 3 en 4.

Uitschakelen

  1. Trap het koppelingspedaal in als de motor draait of schakel in neutraal.
  2. Druk op de PTO-schakelaar.
  3. Wacht tot het PTO-symbool dooft.
  4. Laat de koppeling langzaam opkomen (handgeschakelde versnellingsbak) als de motor draait.

EG-PTO-schakelaar

EK-krachtafnemer

De krachtafnemer (PTO) is een externe astap om vermogen van de motor over te brengen naar externe accessoires. De EK-krachtafnemer (PTO) is aangebracht tussen de motor en de versnellingsbak en wordt aangedreven door de motor. Normaal is de krachtafnemer niet ingeschakeld.

U kunt het motortoerental naar de EK-krachtafnemer regelen door op + of - te drukken op de cruise control-schakelaar.

BELANGRIJK

De motor moet worden uitgeschakeld voordat de krachtafnemer wordt ingeschakeld.

Inschakelen

  1. Schakel de motor uit.
  2. Schakel in neutraal.
  3. Draai de sleutel in de rijstand.
  4. Activeer de schakelaar.
  5. Start de motor.

Uitschakelen

  1. Controleer of de krachtafnemer niet belast is.
  2. Deactiveer de schakelaar.

EK-krachtafnemerschakelaar

ED-PTO

De krachtafnemer brengt vermogen van de motor over naar externe accessoires. De ED-krachtafnemer wordt direct aangedreven door de motordistributie en draait wanneer de motor is gestart. De schakelaar activeert de hydraulica en brengt het systeem onder druk.

De carrosseriebouwer kan nog andere vereisten bepalen waaraan moet worden voldaan.

U kunt het motortoerental naar de ED-krachtafnemer regelen door op + of - te drukken op de cruise control-schakelaar.

Inschakelen

  • Activeer de schakelaar.

Uitschakelen

  • Deactiveer de schakelaar.

ED-PTO-schakelaar

EXT-schakelaar

De EXT-schakelaar is een veiligheidsfunctie die het mogelijk maakt bepaalde voertuigfuncties te bedienen van buiten het voertuig. Welke functies u kunt bedienen, hangt af van de voertuiguitrusting en de aangemaakte logica in het carrosseriesysteem van het voertuig. 

Wanneer u op de EXT-schakelaar drukt, gaat het EXT-symbool branden in de instrumentengroep.

De EXT-schakelaar. Activeer de schakelaar wanneer u bepaalde voertuigfuncties van buiten het voertuig moet bedienen.