운전자 설명서에서 발췌

아래 탭에서 특장 제조업체에 도움이 되는 차량 운전자 설명서의 요약본을 확인할 수 있습니다. 

참고! 이 정보는 차량 사양에 따라 다를 수 있습니다.

운전자 설명서는 Android 및 iOS 장치에서도 볼 수 있습니다.

장치에서 아래 링크를 클릭하여 운전자 설명서를 다운로드하십시오.

경사로 고정

중요!

휠이 잠겨 차량이 미끄러질 수 있으므로 결빙된 도로 상태에서는 경사로 고정 기능을 사용하지 마십시오.

언덕길에서 쉽게 출발하려면 경사로 고정을 사용하십시오.

경사로 고정 사용 방법:

  • 차량의 전원을 켭니다.
  • 스위치를 누르면 불이 들어오면서 경사로 고정이 활성화됩니다.
  • 브레이크 페달을 밟으면 딸깍하는 소리가 나며, 이후에는 브레이크 압력이 유지되므로 브레이크 페달에서 발을 떼도 됩니다. 브레이크 페달을 세게 밟을수록 경사로 고정도 강하게 적용됩니다.

경사로 고정은 스위치로 기능을 해제할 때까지 유지됩니다. 경사로 고정 기능이 활성화된 상태에서 차량 시동을 끄면 다음번 차량을 시동할 때 작동됩니다.

참고!

브레이크 압력이 너무 낮거나 제동 마지막 단계에서 ABS가 작동되면 경사로 고정은 활성화되지 않습니다.

경사로 고정 스위치

경고!

운전석에서 내리기 전에 반드시 주차 브레이크를 작동하십시오.

페달에서 발을 완전히 떼면 경사로 고정이 몇 초 후 해제되어 차량을 이동할 수 있게 됩니다. 경사로 고정이 해제되기 전에 경고 신호가 들리고 경고문이 디스플레이에 표시됩니다.

기어를 넣고 브레이크에서 발을 뗀 후 살짝 가속하면 경사로 고정을 바로 해제할 수 있습니다.

자동 비상 제동

AEB는 전방 주시 카메라 및 거리 센서를 사용하여 전방 차량과의 사고 수준을 줄이는 고급 비상 제동 시스템입니다.

경고!

AEB는 보조 기능입니다. AEB는 주행 조건 또는 날씨에 맞게 자체 조정되지 않습니다. 운전자는 항상 차량을 안전한 방법으로 주행할 책임이 있습니다.
차량의 속도 신호를 조작하면 AEB가 오작동하거나 잘못 활성화될 수 있습니다. 

참고!

윈드스크린을 교체한 후 전방 주시 카메라를 보정해야 합니다.

충돌 경고

AEB가 충돌 위험을 감지하면 시스템이 3단계로 활성화됩니다.

  1. 음향 신호와 함께 빨간색 경고가 계기판에 표시됩니다.
  2. 운전자가 반응하지 않으며 위험이 해소되지 않으면, AEB가 차량을 약간 제동합니다.
  3. 그 후에도 반응이 없고 위험이 해소되지 않는다면 AEB가 차량을 최대로 제동합니다.

운전자는 언제나 다음 방법을 이용해 경고나 제동을 취소할 수 있습니다.

  • 인스트루먼트 패널의 AEB 스위치 누르기
  • 분명하고 신속하게 가속 페달 밟기
  • 가속 페달을 킥다운 위치까지 밟기

초기 단계에서는 운전자가 다음 방법을 이용해 경고를 취소할 수도 있습니다.

  • 브레이크 페달 밟기
  • 방향 표시등 작동

운전자는 언제든지 브레이크 페달을 밟아 브레이크 작동을 제어할 수 있습니다. 그러면 경고와 자동 제동이 취소됩니다. 상황이 위급할수록 브레이크 페달을 더 세게 밟아야 합니다.

조절형 크루즈 컨트롤이 작동 중이라면
AEB가 경고하기 전에 충돌을 경고하고 상황을 완화하려 합니다.

차량을 최대로 제동하고 정지 상태가 되면 브레이크가 차량을 몇 초간 정지시켜 움직이지 않게 합니다. 운전자가 브레이크 또는 가속 페달을 밟으면 브레이크가 해제됩니다.

충돌 위험 심볼

작동 및 가용성

전압 스위치가 켜지면 AEB가 자동으로 작동합니다. 스위치의 램프가 녹색으로 점등됩니다.

스위치를 사용하여 AEB를 해제할 수 있습니다. 스위치의 램프가 노란색으로 점등됩니다. 스위치는 스프링 부하식이며 같은 스위치로 AEB를 리셋합니다.

AEB는 다음과 같은 상황에서 사용할 수 있습니다.

  • 차량 속도가 15km/h를 초과하는 경우

다음 경우에는 AEB를 제한하거나 해제할 수 있습니다.

  • 거리 센서가 차단되거나 결함이 있는 경우
  • 카메라가 차단되거나 결함이 있는 경우
  • 차량 또는 트레일러의 브레이크 시스템에 하자가 있는 경우
  • 차량의 에어 서스펜션이 정상
    주행 위치에서 훨씬 벗어나게 설정된 경우
  • 어두울 때 차량을 운전하는 경우

AEB 스위치, 고급 비상 제동 기능

AEB가 제한되면 노란색 심볼이 메시지와 함께 계기판에 표시됩니다. 

다음 메시지가 표시될 수 있습니다.

시스템 오작동

  • 거리 센서의 하자 때문에 AEB가 작동 해제됩니다.

기능 저하

  • AEB가 제한되고 여전히 부분적으로 활성 상태입니다. AEB가 제동하지 않거나 충돌을 제때 경고하지 않을 수 있습니다. 

제한된 AEB의 심볼

이물질, 눈 또는 얼음 등이 거리 센서나 카메라를 가리면 계기판에 메시지와 함께 해당 심볼이 표시됩니다.

문제를 해결하지 않으면 AEB 기능이 비활성화되거나 제한됩니다.

카메라가 차단되어 있다면 윈드스크린 와이퍼 작동으로 문제를 해결할 수도 있습니다. 이물질, 눈, 얼음이 없도록 카메라를 청소하십시오.

  1. 거리 센서 차단됨
  2. 카메라 차단됨

경고!

AEB는 보조용일 뿐이며, 특정 교통 상황에서 차량을 식별하거나 정확하게 위치를 찾아내지 못할 수 있습니다. AEB는 충돌 위험을 놓치거나, 충돌 위험이 없는 상태에서 작동할 수도 있습니다.

다양한 교통 상황

커브 초입으로 들어서거나 커브에서 빠져나오는 중에는 AEB가 진입로를 식별하기 어려울 수 있습니다. 따라서 AEB가 도로의 차량을 경고하지 못하거나, 갓길의 차량을 잘못 경고할 수 있습니다.

커브

비상구 또는 진출입로에서, 또는 차량이 갓길에서 이동 중일 때는 AEB가 전방의 차량을 잘 식별하지 못합니다.

비상구 또는 진출입로 및 갓길에서

차량 바로 앞에서 현재 주행 중인 차선으로 변경하는 차량은 식별 구역으로 들어올 때까지 AEB가 식별할 수 없습니다. 

차선 변경

차량 정보 계기

계기판

  1. 속도계
  2. 방향 표시등
  3. 표시
  4. 일반적인 경고 심볼 및 표시등 심볼
  5. 타코미터
  6. 연료 레벨 게이지
  7. 표시등 및 경고 심볼
  8. 엔진 냉각수 온도 게이지
  9. 우측 디스플레이에는 환원제 레벨, 실외 온도계 및 시계가 표시됩니다.

타코미터

타코미터는 엔진의 회전 속도를 분당 회전 속도(rpm)로 표시합니다.

게이지에 다음과 같은 필드 4개가 있습니다.

  • 흰색, 0~2,000rpm 및 2,200~2,400rpm
  • 파란색, 2,000~2,400rpm. 여기서는 엔진의 보조 브레이크가
    가장 강력합니다.
  • 빨간색, 2,400rpm 이상. 엔진 속도가 빨간색 필드에 있다면 엔진이 손상될 수 있습니다.

계기판

디스플레이 및 심볼

디스플레이, 일반 경고 및 표시 심볼, 특수 차체 심볼에 대한 자세한 내용은 다음 문서에 나와 있습니다. 

캡 틸팅

경고!

주행 시에는 펌프 밸브가 내리기 위치에 있어야 합니다. 그렇지 않으면 유압에 의한 캡 펌핑 때문에 손상이 발생할 수 있습니다.

캡을 틸팅하기 전에 엔진을 끄고, 주차 브레이크를 작동하고, 기어 레버를 중립 위치에 놓아야 합니다.

캡이 중간 위치에 있을 때는 캡 아래에서 작업하지 마십시오. 항상 캡을 완전히 틸팅하십시오.

틸팅 시 캡 앞이나 뒤에 있지 마십시오.

캡 틸팅 중에는 차량이 수평 상태여야 합니다. 차량이 경사도가 10% 이상인 언덕에 서 있을 때는 캡을 틸팅해서는 안 됩니다.

캡 틸트 장치

캡이 제대로 내려지면 틸팅 시 유압으로 열리는 기계식 잠금장치 2개에 의해 캡이 잠깁니다.   

캡 틸팅(핸들 바)

중요!

캡 틸팅 시 프론트 그릴 패널의 사이드 패널이 열려 있어야 합니다.

  1. 주차 브레이크를 작동합니다.
  2. 기어 레버를 중립 위치에 놓습니다.
  3. 느슨한 물체 및 무거운 장비를 모두 캡에서 분리합니다.
  4. 도어를 닫습니다.
  5. 펌프 밸브를 틸트 위치에 놓습니다. 어댑터 또는 핸들 바를 사용합니다.
  6. 어댑터를 펌프 핀에 장착합니다. 핸들 바를 어댑터와 조립합니다.
  7. 핸들 바를 사용하여 펌핑하면 캡 록크가 자동으로 열립니다.
  8. 캡이 자체 중량에 의해 앞쪽으로 기울어질 때까지 펌핑합니다. 펌프 레버에 역압이 느껴질 때까지 계속해서 펌핑하면 캡이 완전히 열린 각도에 도달합니다.
  1. 캡 틸트 펌프
  2. 펌프 밸브

펌프 밸브를 캡 틸팅 또는 캡 내리기로 설정합니다. 위 그림은 틸팅 시 밸브 위치를 보여줍니다. 아래 그림은 내리는 동안의 밸브 위치를 보여줍니다. 핸들 바 또는 어댑터를 사용하여 펌프 밸브를 올바른 위치에 놓습니다.

캡 뒤쪽으로 틸팅(핸들 바)

경고!

캡을 내릴 때 부상을 입을 수 있습니다. 캡을 다시 제자리로 내리는 최종 단계에서는 캡이 자유 낙하합니다.

  1. 도어를 닫습니다.
  2. 캡을 뒤쪽으로 틸팅하려면 펌프 밸브를 제자리에 놓습니다.
  3. 캡이 다시 주행 위치 이동 구역에 위치할 때까지 핸들 바를 사용하여
    캡을 다시 펌핑합니다.

펌프 밸브를 내리기 위치 상태로 둡니다.

캡 틸팅(전자식)

중요!

캡 틸팅 시 프론트 그릴 패널의 사이드 패널이 열려 있어야 합니다.

  1. 주차 브레이크를 작동합니다.
  2. 기어 레버를 중립 위치에 놓습니다.
  3. 캡 틸팅 스위치를 누릅니다.
  4. 느슨한 물체 및 무거운 장비를 모두 캡에서 분리합니다.
  5. 도어를 닫습니다.
  6. 상단 프론트 그릴 패널과 프론트 그릴 패널의 사이드 패널을 엽니다. 
  7. 캡 틸팅용 리모트 컨트롤을 꺼냅니다. 리모트 컨트롤은 프론트 그릴 패널 아래에 있습니다. 리모트 컨트롤 뒤쪽의 작동 버튼을 누른 채로 틸팅 버튼을 누르고, 캡이 자체 중량에 의해 앞쪽으로 틸팅될 때까지 누르고 있어야 합니다. 캡이 완전히 열린 각도에 도달할 때까지 작동 및 틸팅 버튼을 계속해서 누른 상태로 유지합니다.  

캡 틸트 스위치

참고!

허가받지 않은 사람이 캡 틸팅을 위해 리모트 컨트롤에 접근하지 않도록 하십시오.

캡 뒤쪽으로 틸팅(전자식)

경고!

캡을 내릴 때 부상을 입을 수 있습니다. 캡을 다시 제자리로 내리는 최종 단계에서는 캡이 자유 낙하합니다.

캡 틸팅용 리모트 컨트롤

  1. 도어를 닫습니다.
  2. 캡 틸팅용 리모트 컨트롤을 꺼냅니다. 리모트 컨트롤은 프론트 그릴 패널 아래에 있습니다. 리모트 컨트롤 뒤쪽의 작동 버튼을 누른 채로 내리기 버튼을 누르고, 캡이 다시 주행 위치 이동 구역에 위치할 때까지 누르고 있어야 합니다.
  3. 캡 틸팅 스위치를 리셋합니다.
  4. 프론트 그릴 패널의 사이드 패널 및 상부 프론트 그릴 패널을 닫습니다.

휠 교체

경고!

태그 액슬의 휠을 교환하기 전에 전압을 끄고 배터리 마스터 스위치를 끕니다.

잭만 사용하여 들어올린 차량 아래에는 들어가지 마십시오. 들어올린 차량 아래에서 작업할 때 안전을 최대로 확보하려면, 샤시와 움직이는 액슬 서스펜션 모두가 낙하에 대비하여 고정되어야 합니다. 압궤 부상의 위험이 큽니다.

공기 벨로우즈에서 압력 변화가 있다면, 낙하하지 않도록 완전히 고정되지 않은 에어 서스펜션 차량 아래로 절대 들어가지 마십시오. 압궤 부상의 위험이 큽니다.

분리

1. 저단 기어를 결합하고 키를 잠금 위치로 돌립니다. 주행 모드 셀렉터를 자동 기어박스의 중립 위치에 놓습니다.

경고!

차량의 휠을 고임목으로 고정하여 작업 중 차량이 움직이지 않게 해야 합니다.

2. 지면과 접촉한 휠 앞뒤를 고임목으로 고정합니다.

3. 교환할 휠의 주차 브레이크를 해제하여 휠과 브레이크 드럼을 조일 때 허브에 닿도록 합니다.

4. 림 위치를 허브에 표시합니다.

5. 휠 너트를 분리하지는 말고 느슨하게 풉니다.

6. 차량을 들어올립니다.

 

경고!

잭이 평지에 단단히 서 있는지 확인합니다.

중요!

잭을 지정된 리프팅 포인트에만 놓으십시오. 다른 위치에 놓으면 차량이 심각하게 손상될 수 있습니다.

7. 휠 너트와 휠을 분리합니다.

중요!

약 100km 주행 후 휠 너트를 검사하고 600Nm으로 조입니다.

지면과 접촉한 휠 앞뒤를 고임목으로 고정합니다.

림 위치를 허브에 표시합니다.

장착

1. 접촉면을 깨끗이 청소합니다. 와이어 브러시를 사용합니다.
일부 림에는 스페이싱 링이 있습니다. 이 링도 세척합니다.

참고!

두꺼운 페인트 층, 녹과 먼지로 인해 휠 너트가 느슨해지고 림과 브레이크 드럼의 볼트 구멍이 길쭉해질 수도 있습니다.

2. 휠 볼트의 나사산을 청소합니다.

참고!

작업하는 액슬의 주차 브레이크가 해제되었는지 점검합니다.

3. 휠을 분리하기 전에 있던 동일한 위치에 다시 장착합니다. 표시를 점검합니다.

4. 휠 너트를 그림과 같이 올바른 조임 순서로 조입니다. 플라이휠 타입의 너트 러너를 절대 사용하지 마십시오. 너트는 600Nm로 토크를 조여야 합니다.

중요!

Scania 서비스 정비센터는 정확한 토오크로 휠 너트를 조여야 합니다. 너무 높거나 낮은 토오크로 조이면 휠이 느슨해지거나 브레이크 드럼이 난형화될 수도 있습니다.

5. 차량을 내리고 고임목을 치웁니다.

장착하기 전에 반드시 세척해야 하는 부품

휠 너트 조임 순서

Scania는 더 쉽게 편차를 감지하도록 휠 볼트와 휠 너트 위로 선을 그릴 것을 권장합니다. 마커펜을 사용하십시오. 휠 너트가 빗나가 있다면 휠 너트를 완전히 뺐다가 다시 장착합니다.

중요!

약 100km 주행 후 휠 너트를 검사하고 600Nm으로 조입니다.

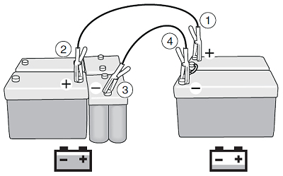
점프 스타트

경고!

시동 케이블을 사용할 때 배터리 가까이에 서 있지 마십시오. 배터리가 폭발해 심각한 피해를 입을 수 있습니다.

휘발유나 에탄올 같은 인화성 가스 또는 액체가 있는 환경에서는 배터리를 함께 연결하지 마십시오.

지침을 정확하게 따라 인명 부상 또는 물적 피해를 방지하십시오.

중요!

캡 틸팅 시 프론트 그릴 패널의 사이드 패널이 열려 있어야 합니다.

차량 배터리가 방전되어 전류가 부족해 엔진을 시동할 수 없다면, 다른 배터리에 연결하면 됩니다.

두 가지 시스템 모두 동일한 배터리 전압, 즉 24V를 사용해야 합니다.

절연된 클램프가 있고 두께가 최소 25mm²인 시동 케이블을 사용해야 합니다.   

준비:

  • 배터리를 충전한 차량에서 엔진을 시동합니다.

다음과 같이 진행합니다(옵션 1).

  1. 배터리 전압이 낮은 차량의 서비스 배터리 양극(+)에 연결합니다.
  2. 배터리가 완전히 충전된 차량의 배터리 양극(+)에 연결합니다.
  3. 배터리가 완전히 충전된 차량의 배터리 음극(-)에 연결합니다.
  4. 배터리 전압이 낮은 차량의 서비스 배터리 음극(-)에 연결합니다. 이 마지막 케이블이 연결될 때 스파크가 발생할 수도 있습니다.
  5. 배터리 전압이 낮은 차량의 엔진을 시동합니다. 배터리 가까이에 서 있지 마십시오.
  6. 엔진에 시동이 걸리면 우선 배터리 전압이 낮은 차량의 배터리 음극(-)에 연결한 다음 다른 케이블을 연결합니다.
  7. 엔진에 시동이 걸리지 않는다면 단계 6과 같이 케이블을 분리한 후 한 가지 사항만 제외하고 모든 단계를 반복합니다. 단계 1에서 배터리 전압이 낮은 차량의 안쪽 배터리에 있는 배터리 양극(+)에 연결합니다.

차량이 출발 보조 기능을 제공하면 다음과 같이 진행합니다.

  1. 배터리 전압이 낮은 차량의 배터리 양극(+)에
    연결합니다.
  2. 배터리가 완전히 충전된 차량의 소비장치 배터리 양극(+)에 연결합니다.
  3. 배터리가 완전히 충전된 차량의 서비스 배터리 음극(-)에 연결합니다.
  4. 배터리 전압이 낮은 차량의 배터리 음극(-)에 연결합니다. 이 마지막 케이블이 연결될 때 스파크가 발생할 수도 있습니다.
  5. 배터리 전압이 낮은 차량의 엔진을 시동합니다. 배터리 가까이에 서 있지 마십시오.
  6. 엔진에 시동이 걸리면 우선 배터리 전압이 낮은 차량의 배터리 음극(-)에 연결한 다음 다른 케이블을 연결합니다.

참고!

프레임의 보호 페인트가 손상되었다면 즉시 손상부를 수정해야 합니다.

중요!

엔진 시동이 어려울 때의 요령:
시동 모터는 35초 후 자동으로 차단됩니다. 
시동 모터는 최대 30초간 구동하십시오. 엔진이 한 번에 시동이 걸리지 않으면, 키를 다시 라디오 위치로 돌린 후 시동 모터가 회복될 때까지 30초 정도 기다립니다.
2회 시도한 후에도 엔진에 시동이 걸리지 않으면 시동 모터를 최소 5분 동안 작동하지 않은 후 새로 2회 시도해야 합니다. 다른 결함(예: 연료 시스템의 결함)이 있는지 조사합니다.

습식 키트

유압 시스템의 압력 조정

2가지 고정 위치를 사용하여 유압 시스템의 압력을 150 또는 220bar로 설정할 수 있습니다. 시스템에 연결할 유압 장비에 필요한 압력을 점검하고 로터리 컨트롤로 압력을 설정합니다. 로터리 컨트롤은 찰칵 소리와 함께 맨 끝 위치에 고정되며, 중간 위치에 두면 안 됩니다.

중요!

장비 손상을 예방하려면 설정된 시스템 압력이 유압 장비에 대해 명시된 최대 압력을 초과하지 않는지 항상 확인하고 연결하십시오.

로터리 컨트롤을 사용하여 유압 시스템의 압력을 설정합니다.

EG 동력인출장치

기어박스 동력인출장치, EG는 기어박스의 동력을 외부 장비로 전달합니다. 기어박스에 장착되어 기어박스의 레이샤프트로 구동되며, 일반적으로는 결합되지 않습니다. EG 동력인출장치를 작동하려면 시동 키가 주행 위치에 있어야 하며, 공기 압력은 5bar 이상이어야 합니다.

특장 제조업체에서 다른 적용 요건을 선택할 수 있습니다.

중요!

주행 후 엔진을 정지하기 전에 공회전으로 약 1분간 구동합니다. 그렇지 않으면 터보차저가 손상될 수 있습니다.

차량에 여러 동력인출장치를 장착할 수도 있습니다.

크루즈 컨트롤 스위치의 + 또는 -를 눌러 EG 동력인출장치의 엔진 속도를 제어할 수 있습니다.

중요!

고속 EG 동력인출장치를 사용할 때 차량은 가능한 한 수평으로 서 있어야 합니다. 내리막길에서는 짧은 연속 시간 동안만 서 있을 수 있습니다.

스플리터 기어가 있는 기어박스의 경우, 기어박스가 중립 위치일 때 로우 또는 하이 스플리트의 결합 여부에 따라 동일한 엔진 속도에서 두 가지 다른 속도가 동력인출장치에 공급될 수 있습니다.  

보조 브레이크 레버를 몸 쪽으로 당기거나 몸 반대쪽으로 밀어 수동으로 스플릿 모드를 변경합니다. 

EG 동력인출장치가 결합하면 주행 중 모든 기어 변속이 차단됩니다. 그러나 정지 상태에서는 기어를 변속할 수 있습니다. EG 동력인출장치가 작동된 상태로 차량을 출발하면 메시지가 계기판에 표시됩니다.

결합

중요!

동력인출장치가 무부하인 경우에만 결합 및 해제해야 합니다. 동력인출장치가 무부하일 때만 기어를 변경하십시오. 그렇지 않으면 기어박스가 손상될 수 있습니다.

  1. 차량이 정지 상태인지 확인합니다.
  2. 엔진이 구동 중이거나 중립 체결한 경우 클러치 페달을 밟습니다.
  3. 스위치를 누릅니다.
  4. 동력인출장치 심볼이 계기판에 나타날 때까지 기다립니다.
  5. 엔진이 구동 중이면 천천히 클러치를 해제합니다(수동 기어박스).

참고!

10초가 지나도 심볼이 표시되지 않으면, 기어가 정확한 위치로 갈 수 있도록 천천히 클러치를 해제합니다. 스위치를 다시 누르지 마십시오.

중요!

자동 기어박스에서 비정상적인 소음이 들리면 즉시 스위치를 누릅니다. 그러면 동력인출장치가 자동으로 해제됩니다.

참고!

20~30초 후에도 동력인출장치 심볼(자동 기어박스)이 계기판에 점등되지 않으면 3단계와 4단계를 반복합니다.

해제

  1. 엔진이 구동 중이거나 중립 체결한 경우 클러치 페달을 밟습니다.
  2. 동력인출장치 스위치를 누릅니다.
  3. 동력인출장치 심볼이 사라질 때까지 기다립니다.
  4. 엔진이 구동 중이면 천천히 클러치를 해제합니다(수동 기어박스).

EG 동력인출장치 스위치

EK 동력인출장치

동력인출장치는 엔진의 동력을 외부 액세서리로 전달하기 위한 외부 샤프트 저널입니다. EK 동력인출장치는 엔진과 기어박스 사이에 장착되어 있으며 엔진으로 구동됩니다. 일반적으로 동력인출장치는 결합되어 있지 않습니다.

크루즈 컨트롤 스위치의 + 또는 -를 눌러 EK 동력인출장치의 엔진 속도를 제어할 수 있습니다.

중요!

동력인출장치를 결합하기 전에 엔진이 정지되어야 합니다.

결합

  1. 엔진을 끕니다.
  2. 기어를 중립에 놓습니다.
  3. 키를 주행 위치에 설정합니다.
  4. 스위치를 작동합니다.
  5. 엔진을 시동합니다.

해제

  1. 동력인출장치가 무부하인지 확인합니다.
  2. 스위치를 해제합니다.

EK 동력인출장치 스위치

ED 동력인출장치

동력인출장치는 엔진의 동력을 외부 액세서리로 전달합니다. ED 동력인출장치는 타이밍 기어로 직접 구동되며 엔진에 시동이 걸리면 회전합니다. 스위치로 유압이 작동되고 시스템으로 압력을 보냅니다.

특장 제조업체에서 다른 적용 요건을 선택할 수 있습니다.

크루즈 컨트롤 스위치의 + 또는 -를 눌러 ED 동력인출장치의 엔진 속도를 제어할 수 있습니다.

결합

  • 스위치를 작동합니다.

해제

  • 스위치를 해제합니다.

ED 동력인출장치 스위치

EXT 스위치

EXT 스위치는 차량의 기능 일부를 차량 외부에서 제어하게 하는 안전 기능입니다. 제어할 수 있는 기능의 종류는 차량의 장비 및 차량의 차체 시스템에 생성된 로직에 따라 다릅니다. 

EXT 스위치를 누르면 EXT 심볼이 계기판에 점등됩니다.

EXT 스위치. 차량 외부에서 차량의 특정 기능을 제어해야 한다면 이 스위치를 작동합니다.