ドライバーズマニュアルからの抜粋

下のタブでは、架装メーカーに役立つと考えられる車両ドライバーズマニュアルの抜粋情報をご覧いただけます。 

注意!情報は車両の仕様によって異なる場合があります。

ドライバーズマニュアルはAndroidおよびiOSデバイスでも閲覧可能です。

デバイスで以下のリンクをクリックして、ドライバーズマニュアルをダウンロードします

坂道発進補助

重要!

道路に雪や凍結などがある状況では坂道発進補助を使用しないでください。車輪がロックされて車両が滑る危険性があります。

坂道発進補助を使用すると、坂道での発進がしやすくなります。

坂道発進補助を使用するには:

  • 車両の電源を入れます。
  • スイッチを押します。このスイッチは坂道発進補助が作動すると点灯します。
  • ブレーキペダルを踏み込むと、カチッと音がします。その後はブレーキ圧が維持されてブレーキペダルを離すことができます。 ブレーキペダルを踏み込めば踏み込むほど、坂道発進補助機能が強力に適用されます。

坂道発進補助は、スイッチを押して機能をオフにするまで使用できます。 機能が作動した状態のまま車両を停止させた場合は、次回の始動時にも坂道発進機能が作動します。

注意!

ブレーキ圧が低すぎる場合や、制動時にABSが作動している場合、坂道発進補助は作動しません。

坂道発進補助スイッチ

警告!

運転席エリアを離れる際は、必ずパーキングブレーキをかけてください。

ドライバーがペダルを完全に離し、車両が動き出せる状態になると、坂道発進補助は数秒後に解除されます。 坂道発進補助が解除される前に警告信号が鳴り、警告文字がディスプレイに表示されます。

ギヤを入れ、ブレーキを離し、軽い加速操作を行うと、坂道発進補助を直接解除することができます。

自動緊急ブレーキ(AEB)

AEBは改良型プリクラッシュセーフティシステムであり、前方監視カメラと車間距離センサーを用いて、前方の車両との事故を減らすことができます。

警告!

AEBは補助機能にすぎません。 それ自身を走行条件や天候に合わせて自動調整する能力は備わっていません。車両を安全な方法で運転することについては、常にドライバーが責任を負います。
車速信号を改変すると、AEBに機能上の不具合や誤作動が発生する可能性があります。

注意!

フロントガラスを交換した後は、前方監視カメラを較正する必要があります。

プリクラッシュ警告

AEBが衝突リスクを検出すると、このシステムは次のように3ステップで作動します。

  1. 警告音を伴う赤色の警告がインスツルメントクラスターに表示されます。
  2. ドライバーが反応せず、リスクが解消されない場合、AEBは軽くブレーキを作動させます。
  3. それでも反応がなく、リスクが解消されない場合、AEBは車両に完全にブレーキをかけます。

ドライバーは警告またはブレーキをいつでも次の方法で解除できます:

  • インストルメントパネルのAEBスイッチを押す
  • アクセルペダルをしっかり素早く踏み込む
  • アクセルペダルをキックダウン位置に踏み込む

初期段階では、次の方法で警告をキャンセルすることもできます:

  • ブレーキペダルを踏み込む
  • ターンシグナルを点灯させる

ドライバーは、いつでもブレーキペダルを踏むことでブレーキ制御を引き取り、 警告と自動ブレーキを解除することができます。 ただし、深刻な状況であればあるほど、ブレーキペダルを強く踏み込む必要があります。

アダプティブクルーズコントロールが有効になっている場合は、次のように作動することがあります。
衝突警告を発し、AEBが警告する前に事態の改善を試みます。

ブレーキが全力で作動して車両が静止した後は、車両が動かないよう、ブレーキのかかった状態が数秒間維持されます。 ドライバーがブレーキペダルまたはアクセルペダルを踏むと、ブレーキが解除されます。

衝突リスクのシンボル

有効化方法、使用の可否

AEBは、電圧が入ると自動的に作動します。スイッチのランプが緑色に点灯します。

AEBはこのスイッチを使って無効にすることができます。 無効になると、スイッチのランプが黄色に点灯します。 このスイッチはスプリング式で、AEBのリセットも同じスイッチで行います。

AEBは次の場合に使用できます。

  • 車速が15 km/hを超えているとき

AEBは次の場合には制限または無効化されます。

  • 車間距離センサーがブロックされているとき
  • カメラがブロックされているか故障しているとき
  • 車両またはトレーラーのブレーキシステムに障害があるとき
  • 車両のエアサスペンションが通常の運転位置とは
    大きく異なる設定になっているとき
  • 暗闇の中を走行しているとき

AEB(改良型プリクラッシュセーフティシステム)のスイッチ

AEBが制限されているときは、インスツルメントクラスターに黄色いシンボルとメッセージが表示されます。 

状況に応じて次のメッセージが表示されます。

システム故障

  • AEBは車間距離センサーの故障により作動停止しています。

機能低下

  • AEBは制限されていますが、部分的に作動しています。 AEBによるブレーキ動作や衝突警告は迅速に作動しない可能性があります。 

AEB制限中のシンボル

汚れ、雪、氷などで車間距離センサーまたはカメラがブロックされている場合、インスツルメントクラスターに、該当するシンボルとメッセージが表示されます。

問題が解消されない場合、AEB機能は無効になるか、または制限されます。

カメラがブロックされている場合は、フロントガラスのワイパーを作動させるだけで解決する可能性があります。 汚れ、雪、氷などをきれい取り除いてください。

  1. 車間距離センサーのブロック状態
  2. カメラのブロック状態

警告!

AEBは単なる補助であり、交通状況によっては、車両を認識することや正確に位置を特定することが難しい場合があります。 また、衝突リスクを見逃す可能性や、衝突リスクがない場合にも作動する可能性があります。

さまざまな交通状況

AEBは、カーブに向かう途中やカーブから出る途中では、前方の道路を識別することが難しい場合があるため、 道路上の車両について警告ができない可能性や、道路沿いの車両について誤った警告を発する可能性があります。

カーブ

AEBは、高速道路の進入路または退出路の走行時や、避難路肩上を走行する車両に対しては、前方車両を識別することが難しい場合があります。

高速道路の進入路や退出路、避難路肩

車線変更して前方に進入してくる車両については、識別ゾーンに入るまでAEBでは識別できません。 

車線変更

車両情報のインスツルメント

インスツルメントパネル

  1. 速度計
  2. ターンシグナル
  3. 表示
  4. 一般的な警告記号とインジケータシンボル
  5. タコメーター
  6. フューエルレベルゲージ
  7. インジケーターランプと警告シンボル
  8. エンジンクーラント温度計
  9. 右側ディスプレイには、還元剤レベル、外気温度、時計が表示されます。

タコメーター

タコメーターは、エンジンの回転数を毎秒回転数(rpm)で表示します。

ゲージには4つのフィールドがあります。

  • 白、0~2,000 rpm、および2,200~2,400 rpm。
  • ブルー、2,000~2,400 rpm。 ここで、エンジンの補助ブレーキは
    最も強力です。
  • 赤色、2,400 rpm以上。 エンジンスピードが赤のフィールドに入ると、エンジンが損傷するリスクがあります。

インスツルメントパネル

ディスプレイとシンボル

ディスプレイ、一般的な警告、指示シンボル、特別な架装シンボルの詳細は、次の文書を参照してください: 

キャブのティルト

警告!

ポンプバルブの向きは、運転時には必ず下降位置にしておいてください。 それ以外の場合は、キャブが油圧で持ち上がり損傷するおそれがあります。

キャブを傾ける前には、エンジンを切り、パーキングブレーキをかけ、ギヤレバーをニュートラル位置にします。

キャブを中間位置にしたままその下で作業しないでください。 必ずキャブを完全に傾けてください。

ティルト操作中は、キャブの前や後ろに立たないでください。

キャブティルト操作中は、車両を水平な場所に停車しておいてください。 勾配が10%を超える場所では絶対にティルト操作をしないでください。

キャブチルト装置

キャブが正しく下がると、2つの機械式ロックによってロックされます。これらのロックはティルト操作時には油圧で開きます。   

キャブを傾ける(ハンドルバー)

重要!

フロントグリルパネルのサイドパネルは、キャブのティルト操作時には開けておく必要があります。

  1. パーキングブレーキをかけます。
  2. ギヤレバーをニュートラル位置に入れます。
  3. 固定されていない物や重い機器は、すべてキャブから取り除きます。
  4. ドアを閉めます。
  5. ポンプバルブをティルト位置に合わせます。 アダプターまたはハンドルバーを使用します。
  6. アダプターをポンプピンに取り付けます。 アダプターを使ってハンドルバーを組み立てます。
  7. ハンドルバーでポンプ操作をすると、キャブロックが自動的に開きます。
  8. キャブが自重で前方に傾くまでポンプを操作します。 ポンプレバーに逆圧が加わり、キャブが完全に開いた角度に達するまで、ポンピングを操作し続けます。
  1. キャブティルトポンプ
  2. ポンプバルブ

キャブのティルト操作および下降操作を行うときのポンプバルブ設定。上の図はティルト時のバルブ位置、下の図は下降時のバルブ位置を表しています。ハンドルバーまたはアダプターを使用し、ポンプバルブを正しい位置に合わせてください。

キャブを後ろに傾けます(ハンドルバー)

警告!

キャブの下降時には、挟まれて怪我をする危険性があります。 キャブ下降操作の最終段階では、キャブが自重で下がって所定の位置まで戻ります。

  1. ドアを閉めます。
  2. ポンプバルブを、キャブを後方へ傾けるための位置に合わせます。
  3. キャブが運転位置の移動ゾーンに下がるまで、
    ハンドルを使ってキャブをポンプで戻します。

ポンプバルブを下降位置のままにしておきます。

キャブを傾ける(電子的)

重要!

フロントグリルパネルのサイドパネルは、キャブのティルト操作時には開けておく必要があります。

  1. パーキングブレーキをかけます。
  2. ギヤレバーをニュートラル位置に入れます。
  3. キャブティルトスイッチを押す。
  4. 固定されていない物や重い機器は、すべてキャブから取り除きます。
  5. ドアを閉めます。
  6. アッパーフロントグリルパネルとフロントグリルパネルのサイドパネルを開けます。 
  7. キャブティルト用リモートコントロールを取り出します。 リモートコントロールはフロントグリルパネルの下にあります。 リモートコントロールの背面にある起動ボタンを押し続け、チルトボタンを押し、キャブが自重で前方に傾くまで、これらを押し続けます。 キャブが完全に開いた角度に達するまで、起動ボタンとチルトボタンを押し続けます。  

キャブティルトスイッチ

注意!

許可のない人がキャブティルト用リモートコントロールに触れることがないようにしてください。

キャブを後ろに傾ける(電子的)

警告!

キャブの下降時には、挟まれて怪我をする危険性があります。 キャブ下降操作の最終段階では、キャブが自重で下がって所定の位置まで戻ります。

キャブティルト用リモートコントロール

  1. ドアを閉めます。
  2. キャブティルト用リモートコントロールを取り出します。 リモートコントロールはフロントグリルパネルの下にあります。 リモートコントロールの背面にある起動ボタンを押し続け、下降ボタンを押し、キャブが運転位置の移動ゾーンに戻るまで、これらを押し続けます。
  3. キャブティルトスイッチをリセットします。
  4. フロントグリルパネルのサイドパネルと上部フロントグリルパネルを閉じます。

ホイール変更

警告!

タグアクスルのホイールを交換する前に、電圧とバッテリーマスタースイッチをオフにしてください。

ジャッキのみで持ち上げた車両の下には、絶対に入らないでください。 持ち上げた車両の下で作業する場合は、シャシおよび可動するアクスルサスペンションが落下しないよう、両方を確実に固定し、安全を最大限に確保してください。 このような作業は、押しつぶされて負傷する深刻な危険を伴います。

万全の落下防止策が施されていない限り、エアサスペンション車両の下には決して入らないでください。エアベローズの圧力が変化するおそれがあります。 このような作業は、押しつぶされて負傷する深刻な危険を伴います。

取り外し

1. 低速ギヤをかみ合わせ、キーをロック位置にします。 ドライブモードセレクターをオートマチックギヤボックスのニュートラル位置に置きます。

警告!

作業中に車両が動かないよう、車両のホイールには必ず車輪止めを施してください。

2. 地面から浮かせないホイールの前と後ろに輪止めします。

3. 交換するホイールについてはパーキングブレーキを解除し、締め付けるとホイールとブレーキドラムがハブに接触するようにします。

4. リムの位置をハブにマークします。

5. ホイールナットを取り外さずに緩めます。

6. 車両を持ち上げます。

 

警告!

水平な地面にジャッキがしっかりと立っていることを確認してください。

重要!

ジャッキの位置決めについては、所定のリフトポイントを必ず守ってください。 位置が違うと、車両の重大な損傷が発生するおそれがあります。

7. ホイールナットとホイールを取り外します。

重要!

約100 km運転したら、600 Nmでホイールナットを締め付け点検します。

地面から浮かせないホイールの前と後ろに輪止めします。

リムの位置をハブにマークします。

取り付け

1. 接触面を注意深く清掃します。 ワイヤブラシを使います。
リムにはスペーサーリングがあります。これも清掃します。

注意!

塗料、錆、汚れが厚いと、ホイールナットが緩んでしまい、リムとブレーキドラムのボルト穴が楕円形になることがあります。

2. ホイールボルトのネジを清掃します。

注意!

作業対象アクスルのパーキングブレーキが解除されていることを確認します。

3. 取り外し前と同じ位置にホイールを再度取り付けます。 マーキングを確認します。

4. 図に示すように、ホイールナットを正しい締め付け順序で締めます。 フライホイールタイプのナットランナーは絶対に使わないでください。 ナットは必ず600 Nmのトルクで締め付けてください。

重要!

Scaniaワークショップにおけるホイールナットの締め付けは、必ず正しいトルクで実施してください。 トルクが高すぎたり低すぎたりすると、ホイールが緩み、ブレーキドラムが楕円になることがあります。

5. 車両を下ろし、輪止めを取り外します。

取り付ける前に清掃が必要な部品

ホイールナットを締める順序

Scaniaでは、ホイールスタッドとホイールナットの上に線を引いて、ずれを簡単に調べられるようにすることを推奨しています。 マーカーペンを使用してください。 ホイールナットにずれが生じている場合は、ホイールナットを完全に取り外し、再び取り付けます。

重要!

約100 km運転した後、600 Nmでホイールナットを締め付け点検します。

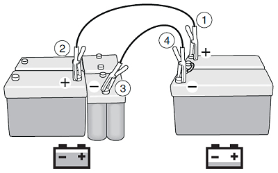
ジャンプスタート

警告!

スターターケーブルを使用するときは、バッテリーの近くに立たないでください。 バッテリーには爆発のおそれがあり、大きな被害をもたらすことがあります。

ガソリンやエタノールなど可燃性のガスや液体が存在する環境では、電池を接続しないでください。

負傷や重大な損傷を防ぐために、指示に従って正しく作業してください。

重要!

フロントグリルパネルのサイドパネルは、キャブのティルト操作時には開けておく必要があります。

車両のバッテリーが放電していてエンジン始動に必要な電流が得られない場合は、バッテリーを他のバッテリーと接続することができます。

両方のバッテリーシステムの電圧は同じ、つまり24 Vである必要があります。

絶縁クランプ付きの太いスターターケーブル(25 mm²以上)を使用してください。   

準備:

  • 充電されているバッテリーを搭載した車両のエンジンを始動させます。

以下の手順に従います(オプション1)。

  1. 電圧が低いバッテリーを搭載した車両の、サービスバッテリーの正極(+)に接続します。
  2. 完全に充電されたバッテリーを搭載した車両の、バッテリーの正極(+)に接続します。
  3. 完全に充電されたバッテリーを搭載した車両の、バッテリーの負極(-)に接続します。
  4. 電圧が低いバッテリーを搭載した車両の、サービスバッテリーの負極(-)に接続します。 この最後のケーブルを接続するときは火花が散る可能性があります。
  5. バッテリー電圧が低下している車両のエンジンを始動します。 どちらのバッテリーにも近寄らないでください。
  6. エンジンが始動したら、まず、バッテリー電圧が低い車両のバッテリーの負極(-)からケーブルを外します。その後、他のケーブルを外します。
  7. エンジンが始動しない場合。 手順6に従ってケーブルを外し、1つの例外を除いてすべてのポイントを繰り返します。 ステップ1で、バッテリー電圧が低い車両に搭載されたバッテリーの正極(+)に接続します。

始動の支援をする車両では、次のように作業を進めます。

  1. バッテリー電圧が低い車両のバッテリーの正極(+)に
    接続します。
  2. 完全に充電されたバッテリーを搭載した車両の、サービスバッテリーの正極(+)に接続します。
  3. 完全に充電されたバッテリーを搭載した車両の、サービスバッテリーの負極(-)に接続します。
  4. 電圧が低いバッテリーを搭載した車両の、バッテリーの負極(-)に接続します。 この最後のケーブルを接続するときは火花が散る可能性があります。
  5. バッテリー電圧が低下している車両のエンジンを始動します。 どちらのバッテリーにも近寄らないでください。
  6. エンジンが始動したら、まず、バッテリー電圧が低い車両のバッテリーの負極(-)からケーブルを外します。その後、他のケーブルを外します。

注意!

フレームの保護塗料が損傷した場合は、すぐに補修する必要があります。

重要!

エンジンの始動が困難である場合のアドバイス:
スターターモーターは35秒後に自動的にブロックされます。 
最大30秒までの間、スターターモーターを作動させます。 初回の試行でエンジンが始動しない場合は、スターターキーをラジオ位置に戻し、約30秒待ってスターターモーターを回復させます。
2回試行してもエンジンが始動しない場合は、さらに2回の試行をする前に、スターターモーターを5分以上休ませる必要があります。その他の問題がないか、たとえば燃料系統などを調べてください。

油圧システム

油圧作動システムの圧力調整

油圧作動システムの圧力は、150バールまたは220バール、2つの固定値いずれかに設定できます。 システムに接続する油圧機器の圧力要件を確認し、ロータリーコントロールで圧力を設定します。 ロータリーコントロールはクリック感がある位置まで完全に回し切る必要があります。中間位置に設定しないでください。

重要!

機器の損傷を防ぐため、接続する前には、システムの圧力設定が油圧機器の最大許容圧力を超えていないことを常に確認してください。

ロータリーコントロールを使って油圧作動システムで圧力を設定する。

EGパワーテイクオフ

EG(ギヤボックス駆動式パワーテイクオフ)は、ギヤボックスから外部の装置へ動力を送る仕組みです。この機能はギヤボックスに取り付けられ、ギヤボックスの副軸を使って駆動されます。通常時には接続されていません。 EGパワーテイクオフを起動するには、スターターキーが運転位置に入っていることと、空気圧が5バールを超えていることが必要です。

その他の要件については架装メーカーが選択できます。

重要!

走行後は、エンジンを停止する前に約1分間のアイドリング時間をおいてください。 すぐに停止するとターボチャージャーが損傷するおそれがあります。

車両には複数のパワーテイクオフが装備されている場合があります。

クルーズコントロールスイッチの + または - を押すと、EGパワーテイクオフから取り出すエンジン回転数を制御できます。

重要!

高速EGパワーテイクオフを使用する場合は、できるだけ水平な場所に停車してください。 また、短時間の運転に限り、下り坂に停車して使用することもできます。

スプリッタギヤを備えたギヤボックスの場合、ギヤボックスがニュートラル位置にあるときに低スプリットまたは高スプリットのいずれかを用いることで、同じエンジンスピードで2種類の速度をパワーテイクオフに伝えることができます。  

スプリットモードは、補助ブレーキレバーを手前か向こう側に動かすことにより手動で変更できます。 

EGパワーテイクオフが接続されている場合は、走行中すべてのギヤチェンジ操作がブロックされます。 ただし、静止状態であればギヤチェンジが可能です。EGパワーテイクオフが作動した状態で車両を走行させると、インストルメントクラスターにメッセージが表示されます。

接続

重要!

パワーテイクオフの接続および解除操作は、必ず荷重がないときに実行してください。 また、ギヤチェンジもパワーテイクオフに荷重がないときのみ実行できます。荷重がある状態で行うとギヤボックスが損傷するおそれがあります。

  1. 車両を静止状態にします。
  2. エンジンが動いている場合は、クラッチペダルを踏んでニュートラルにします。
  3. スイッチを押します。
  4. パワーテイクオフのシンボルがインストルメントクラスターに表示されるまで待ちます。
  5. エンジンが作動している場合は、クラッチ(マニュアルギヤボックス)をゆっくりと離します。

注意!

10秒経過してもシンボルが表示されない場合は、ギヤが正しい位置に来るようにクラッチをゆっくり解放します。 スイッチを再び押さないでください。

重要!

オートマチックギヤボックスから異音がする場合は、すぐにスイッチを押してください。 パワーテイクオフが自動的に解除されます。

注意!

20〜30秒経過してもパワーテイクオフシンボル(オートマチックギヤボックス)がインストルメントクラスターに表示されない場合は、手順3と4を繰り返します。

解除

  1. エンジンが動いている場合は、クラッチペダルを踏んでニュートラルにします。
  2. パワーテイクオフスイッチを押します。
  3. パワーテイクオフのシンボルが消えるまで待ちます。
  4. エンジンが作動している場合は、クラッチ(マニュアルギヤボックス)をゆっくりと離します。

EGパワーテイクオフスイッチ

EKパワーテイクオフ

パワーテイクオフはエンジンから外部アクセサリーに動力を伝えるための外部シャフトジャーナルです。 EKパワーテイクオフは、エンジンとギヤボックスの間に取り付けられ、エンジンによって駆動されます。 通常、パワーテイクオフは入りません。

クルーズコントロールスイッチの + または - を押すと、EKパワーテイクオフから取り出すエンジン回転数を制御できます。

重要!

パワーテイクオフを接続するには、エンジンを停止しておく必要があります。

接続

  1. エンジンを切ります。
  2. ギヤをニュートラルに入れます。
  3. キーをドライブ位置に設定します。
  4. スイッチを入れます。
  5. エンジンを始動します。

解除

  1. パワーテイクオフに負荷がかっていないことを確認します。
  2. スイッチを切ります。

EKパワーテイクオフスイッチ

EDパワーテイクオフ

パワーテイクオフは、エンジンから外部アクセサリーに動力を伝達する機能です。 EDパワーテイクオフはタイミングギヤによって直接駆動され、エンジンが始動すると回転します。 スイッチで油圧を作動させ、システムに圧力を供給します。

その他の要件については架装メーカーが選択できます。

クルーズコントロールスイッチの + または - を押すと、EDパワーテイクオフから取り出すエンジン回転数を制御できます。

接続

  • スイッチを入れます。

解除

  • スイッチを切ります。

EDパワーテイクオフスイッチ

EXTスイッチ

EXTスイッチは、車両の外から車両機能の一部を制御することを可能にする安全機能です。 どの機能を制御できるかは、車両の装備や、架装システムに組み込まれたロジックにより異なります。 

EXTスイッチを押すと、インスツルメントクラスターのEXTシンボルが点灯します。

EXTスイッチ。 一部の車両機能を車両の外からコントロールする必要がある場合に、このスイッチを作動させます。