Estratti del Manuale del conducente

Nelle schede riportate di seguito sono presenti estratti del Manuale del conducente del veicolo che possono risultare utili per gli allestitori. 

NOTA: le informazioni potrebbero variare in funzione delle specifiche del veicolo.

Il manuale del conducente è disponibile anche per dispositivi Android e iOS:

Fare clic sul link riportato di seguito sul proprio dispositivo per scaricare il manuale del conducente

Assistenza partenza in salita

IMPORTANTE!

Non utilizzare l'assistenza partenza in salita su strade gelate per evitare il rischio che il veicolo slitti con le ruote bloccate.

Utilizzare l'assistenza partenza in salita per agevolare le partenze in salita.

Per utilizzare l'assistenza partenza in salita:

  • Attivare l'alimentazione del veicolo.
  • Premere l'interruttore, che si accende quando l'assistenza partenza in salita è attivata.
  • Quando si preme il pedale del freno, si sente un clic. La pressione dei freni permane e il pedale del freno può essere rilasciato. La forza esercitata dall'assistenza partenza in salita è direttamente proporzionale alla pressione applicata al pedale del freno.

La funzione di assistenza partenza in salita è disponibile fino alla sua disattivazione mediante l'interruttore. Se, allo spegnimento del veicolo, la funzione è attiva, sarà attiva anche all'avviamento successivo.

NOTA

L'assistenza partenza in salita non si attiva se la pressione del freni è insufficiente o se dopo la frenata l'ABS era attivo.

Interruttore per l'assistenza partenza in salita

AVVERTENZA

Inserire sempre il freno di stazionamento prima di lasciare il posto di guida.

Quando si rilasciano completamente i pedali, l'assistenza partenza in salita si disattiva dopo pochi secondi e il veicolo può iniziare a muoversi. Prima che l'assistenza partenza in salita si disattivi, viene riprodotto un segnale di avviso e sul display appare un messaggio di avvertimento.

L'assistenza partenza in salita si rilascia direttamente quando si innesta una marcia, si rilasciano i freni e si accelera leggermente.

Frenata di emergenza automatica

L'AEB è un sistema con funzione avanzata di frenata di emergenza che utilizza una telecamera e un sensore di distanza e può ridurre le conseguenze di incidenti con i veicoli che precedono il proprio.

AVVERTENZA

L'AEB è solo un dispositivo di supporto. Non si adegua automaticamente alle condizioni di guida o climatiche. Il conducente è sempre responsabile della guida sicura del veicolo.
La manipolazione del segnale della velocità del veicolo può provocare il malfunzionamento o l'errata attivazione dell'AEB. 

NOTA

Dopo un'eventuale sostituzione del parabrezza è necessario calibrare la telecamera.

Avvertenza anticollisione

Quando l'AEB rileva un rischio di collisione, il sistema si attiva in tre fasi:

  1. Sul quadro degli strumenti appare un messaggio di avvertimento in rosso accompagnato da un segnale acustico.
  2. Se il conducente non reagisce e il rischio permane, l'AEB frena leggermente il veicolo.
  3. Se non vi sono ancora risposte e il rischio perdura, l'AEB frena il veicolo al massimo.

Il conducente può sempre annullare l'avvertimento o interrompere la frenata:

  • Premendo l'interruttore AEB sul cruscotto
  • Premendo con forza e rapidità il pedale dell'acceleratore
  • Premendo il pedale dell'acceleratore in posizione kickdown

Nella fase iniziale il conducente può annullare l'avvertimento anche:

  • Premendo il pedale del freno
  • Attivando gli indicatori di direzione

Il conducente può sempre assumere il controllo della frenata premendo il pedale del freno. In questo modo annulla l'avvertimento e la frenata automatica. Più è critica la situazione, con maggior forza si deve premere il pedale del freno.

Se il cruise control adattivo è attivo, può emettere
un'avvertenza anticollisione e cercare di attenuare la situazione prima che si inneschi l'AEB.

Dopo la frenata alla massima potenza e l'arresto del veicolo, i freni rimangono attivi per qualche secondo per impedirne il movimento. I freni vengono rilasciati se il conducente preme il pedale del freno o dell'acceleratore.

Simbolo per rischio di collisione

Attivazione e disponibilità

L'AEB si attiva automaticamente quando la tensione è inserita. La spia dell'interruttore si accende di colore verde.

Per disattivarlo, utilizzare l'interruttore. La spia dell'interruttore si accende di colore giallo. L'interruttore è caricato a molla e ripristina l'AEB.

L'AEB è disponibile quando:

  • La velocità del veicolo supera i 15 km/h.

L'AEB può essere limitato o disattivato quando:

  • Il sensore di distanza è bloccato o guasto
  • La telecamera è bloccata o guasta
  • Il sistema frenante del veicolo o del rimorchio è guasto
  • Le sospensioni pneumatiche del veicolo sono estese oltre la normale
    posizione di marcia
  • Il veicolo viene guidato al buio

Interruttore dell'AEB, funzione avanzata della frenata di emergenza

Quando l'AEB è limitato, sul quadro degli strumenti appare un simbolo giallo insieme a un messaggio. 

Potrebbero apparire i seguenti messaggi:

Anomalia del sistema

  • L'AEB è disattivato per un guasto al sensore di distanza.

Funzionalità ridotta

  • L'AEB è limitato ed è ancora parzialmente attivo. L'AEB potrebbe non frenare o non avvertire di una collisione per tempo. 

Simbolo di AEB limitato

Quando il sensore di distanza o la telecamera si blocca, ad esempio a causa di sporcizia, neve o ghiaccio, sul quadro degli strumenti appare il relativo simbolo insieme a un messaggio.

Se il problema non viene risolto, la funzione AEB si disattiva o si riduce.

Se la telecamera è bloccata, potrebbe essere sufficiente attivare i tergicristalli. Assicurarsi di mantenerla pulita e libera da sporcizia, neve e ghiaccio.

  1. Sensore di distanza bloccato
  2. Telecamera bloccata

AVVERTENZA

L'AEB è solo un aiuto e in determinate condizioni di circolazione può avere difficoltà a individuare i veicoli o a localizzarli correttamente. È possibile che l'AEB non rilevi un rischio di collisione o si attivi senza che sia effettivamente necessario.

Condizioni di circolazione diverse

All'entrata o all'uscita delle curve, l'AEB potrebbe avere difficoltà a identificare la strada in avvicinamento e non segnalare altri veicoli sulla strada oppure avvertire erroneamente della presenza di veicoli sul ciglio stradale.

Curve

Nelle uscite, sulle banchine e quando i veicoli viaggiano sulla corsia di emergenza, l'AEB potrebbe avere difficoltà a individuare i veicoli che precedono il proprio.

Nelle uscite, sulle banchine e sulle corsie di emergenza

È possibile che l'AEB non rilevi un veicolo che si sposta sulla corsia esattamente davanti al proprio veicolo fino a quando non entra nella zona di identificazione. 

Cambio corsia

Strumenti per informazioni sul veicolo

Quadro degli strumenti

  1. Tachimetro
  2. Indicatore di direzione
  3. Display
  4. Simboli di avvertenza e ideogrammi generali
  5. Contagiri
  6. Indicatore di livello del carburante
  7. Spie e simboli di avvertenza
  8. Indicatore della temperatura del liquido di raffreddamento del motore
  9. Il display destro mostra il livello del riducente, la temperatura esterna e l'orologio.

Contagiri

Il contagiri visualizza le velocità di rotazione del motore in giri al minuto.

L'indicatore ha 4 campi:

  • Bianco, 0-2.000 giri/min e 2.200-2.400 giri/min.
  • Azzurro, 2.000-2.400 giri/min. Qui il freno ausiliario del motore
    esercita la massima potenza.
  • Rosso, circa 2.400 giri/min. Quando il regime motore si trova nel campo rosso, esiste il rischio che il motore subisca dei danni.

Quadro degli strumenti

Display e simboli

Ulteriori informazioni sul display, sui simboli di avvertenza e sugli ideogrammi generali e sui simboli speciali dell'allestimento sono reperibili nei seguenti documenti: 

Ribaltamento della cabina

AVVERTENZA

La valvola della pompa deve essere nella posizione di abbassamento durante la marcia. In caso contrario, i componenti idraulici possono sollevare la cabina e causare danni.

Prima di ribaltare la cabina, spegnere il motore, inserire il freno di stazionamento e mettere in folle la leva del cambio.

Non lavorare sotto la cabina quando questa si trova nella posizione centrale. Ribaltare sempre completamente la cabina.

Non sostare mai davanti o dietro alla cabina durante il ribaltamento.

Durante il ribaltamento della cabina, il veicolo deve essere su una superficie piana. Non ribaltare mai la cabina se il veicolo si trova su una salita con pendenza superiore al 10%.

Dispositivo di ribaltamento della cabina

Quando la cabina viene abbassata correttamente, viene bloccata con due fermi meccanici che, durante il ribaltamento, si aprono per mezzo del sistema idraulico.   

Ribaltamento della cabina (leva)

IMPORTANTE!

Quando si ribalta la cabina, i pannelli laterali della griglia anteriore devono essere aperti.

  1. Inserire il freno di stazionamento.
  2. Mettere la leva del cambio nella posizione folle.
  3. Rimuovere dalla cabina tutti gli oggetti sparsi e le attrezzature pesanti.
  4. Chiudere le portiere.
  5. Portare la valvola della pompa nella posizione di ribaltamento. Utilizzare l'adattatore o la leva.
  6. Montare l'adattatore sul perno della pompa. Assemblare la leva con l'adattatore.
  7. Pompare utilizzando la leva. Il dispositivo di bloccaggio della cabina si aprirà automaticamente.
  8. Pompare fino a quando la cabina non si ribalta in avanti per effetto del proprio peso. Continuare a pompare fino a quando la leva non percepisce una contropressione e la cabina non raggiunge il massimo angolo di apertura.
  1. Pompa per ribaltamento cabina
  2. Valvola della pompa

Impostazione della valvola della pompa per ribaltare o abbassare la cabina. La figura in alto mostra la posizione della valvola durante il ribaltamento. La figura in basso mostra la posizione della valvola durante l'abbassamento. Utilizzare la leva o l'adattatore per portare la valvola della pompa nella posizione corretta.

Ribaltamento indietro della cabina (leva)

AVVERTENZA

Quando la cabina viene abbassata, esiste il rischio di lesioni da schiacciamento. Durante l'ultima fase dell'abbassamento nella posizione originale, la cabina scende liberamente.

  1. Chiudere le portiere.
  2. Portare la valvola della pompa nella posizione per il ribaltamento indietro della cabina.
  3. Pompare con la leva per far scendere di nuovo la cabina e
    riportarla nella zona di movimento della posizione di guida.

Lasciare la valvola della pompa nella posizione di abbassamento.

Ribaltamento della cabina (elettronico)

IMPORTANTE!

Quando si ribalta la cabina, i pannelli laterali della griglia anteriore devono essere aperti.

  1. Inserire il freno di stazionamento.
  2. Mettere la leva del cambio nella posizione folle.
  3. Premere l'interruttore per il ribaltamento della cabina.
  4. Rimuovere dalla cabina tutti gli oggetti sparsi e le attrezzature pesanti.
  5. Chiudere le portiere.
  6. Aprire la griglia anteriore superiore ed estrarre i pannelli laterali della griglia anteriore. 
  7. Estrarre il telecomando per il ribaltamento della cabina. Il telecomando si trova sotto la griglia anteriore. Premere il pulsante di attivazione sul retro del telecomando e il pulsante di ribaltamento, quindi mantenerli entrambi premuti fino a quando la cabina non si ribalta in avanti per effetto del proprio peso. Continuare a tenere premuti i pulsanti di attivazione e di ribaltamento fino a quando la cabina non raggiunge il massimo angolo di apertura.  

Interruttore per il ribaltamento della cabina

NOTA

Assicurarsi che nessuna persona non autorizzata possa accedere al telecomando per il ribaltamento della cabina.

Ribaltamento indietro della cabina (elettronico)

AVVERTENZA

Quando la cabina viene abbassata, esiste il rischio di lesioni da schiacciamento. Durante l'ultima fase dell'abbassamento nella posizione originale, la cabina scende liberamente.

Telecomando per il ribaltamento della cabina

  1. Chiudere le portiere.
  2. Estrarre il telecomando per il ribaltamento della cabina. Il telecomando si trova sotto la griglia anteriore. Premere il pulsante di attivazione sul retro del telecomando e il pulsante di abbassamento, quindi mantenerli entrambi premuti fino a quando la cabina non torna nella zona di movimento della posizione di guida.
  3. Resettare l'interruttore per il ribaltamento della cabina.
  4. Chiudere i pannelli laterali della griglia anteriore e la griglia anteriore superiore.

Sostituzione delle ruote

Avvertenza

Disattivare l'alimentazione e disinserire l'interruttore generale della batteria prima di sostituire le ruote sull'assale di supporto.

Non posizionarsi mai al di sotto di un veicolo sollevato e sostenuto solo con un martinetto. Per lavorare nella massima sicurezza al di sotto di un veicolo sollevato, sia il telaio sia le sospensioni mobili dell'assale devono essere assicurati per impedirne la caduta. Esiste un grave rischio di lesioni personali per schiacciamento.

Non posizionarsi mai al di sotto di un veicolo sospeso pneumaticamente e non completamente assicurato in caso di modifica di pressione nei soffietti. Esiste un grave rischio di lesioni personali per schiacciamento.

Smontaggio

1. Innestare una marcia bassa e girare la chiave nella posizione di blocco. Collocare il selettore della modalità di marcia nella posizione folle in caso di cambio automatico.

Avvertenza

È necessario mettere un cuneo alle ruote del veicolo per impedire che questo si sposti durante l'intervento.

2. Posizionare i cunei davanti e dietro alle ruote che devono rimanere sul terreno.

3. Rilasciare il freno di stazionamento della ruota da sostituire per assicurarsi che la ruota e il tamburo del freno siano a contatto con il mozzo durante il serraggio.

4. Segnare la posizione del cerchione rispetto al mozzo.

5. Allentare i dadi della ruota senza rimuoverli.

6. Sollevare il veicolo.

 

Avvertenza

Assicurarsi che il martinetto sia appoggiato a terra in piano.

IMPORTANTE!

Collocare il martinetto solo sotto i punti di sollevamento specificati. Se si utilizzano altre posizioni, è possibile causare gravi danni al veicolo.

7. Rimuovere i dadi della ruota e la ruota.

IMPORTANTE!

Controllare serrare i dadi delle ruote a 600 Nm dopo aver percorso circa 100 km.

Posizionare i cunei davanti e dietro alle ruote che devono rimanere sul terreno.

Segnare la posizione del cerchione rispetto al mozzo.

Montaggio

1. Pulire accuratamente le superfici di contatto. Usare una spazzola a fili metallici.
Alcuni cerchioni sono dotati di anelli distanziatori. Pulire anche questi.

NOTA

Strati spessi di pittura, ruggine e sporco possono causare l'allentamento dei dadi delle ruote e l'ovalizzazione dei fori delle viti sui cerchioni e dei tamburi dei freni.

2. Pulire i filetti dei bulloni delle ruote.

NOTA

Assicurarsi che il freno di stazionamento sia rilasciato sull'assale sul quale si lavora.

3. Rimontare la ruota nella posizione originale. Controllare il segno.

4. Serrare i dadi delle ruote nella sequenza corretta come illustrato nella figura. Non utilizzare mai un serradadi del tipo a volano. I dadi devono essere serrati in base a una coppia di 600 Nm.

IMPORTANTE!

Le officine Scania devono serrare i dadi delle ruote alla coppia corretta. Una coppia troppo alta o troppo bassa potrebbe causare l'allentamento della ruota o l'ovalizzazione del tamburo del freno.

5. Abbassare il veicolo e rimuovere i cunei dalle ruote.

Componenti da pulire prima del montaggio

Sequenza di serraggio per i dadi delle ruote

Scania consiglia di tracciare una linea sulle viti e sui dadi delle ruote per rilevare più agevolmente eventuali deviazioni. Utilizzare un pennarello. In caso di deviazione del dado di una ruota rimuoverlo completamente e rimontarlo.

IMPORTANTE!

Controllare i dadi delle ruote e serrarli a 600 Nm dopo avere percorso circa 100 km.

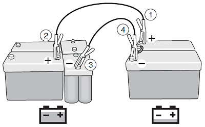
Ausilio all'avviamento

AVVERTENZA

Non rimanere in prossimità della batteria mentre si usano i cavi di avviamento: la batteria può esplodere e causare danni gravi.

Non collegare tra loro le batterie in un ambiente in cui sono presenti gas o fluidi infiammabili, come benzina ed etanolo.

Seguire le istruzioni con attenzione per evitare lesioni personali o danni materiali.

IMPORTANTE!

Quando si ribalta la cabina, i pannelli laterali della griglia anteriore devono essere aperti.

Se le batterie del veicolo si scaricano e non hanno corrente sufficiente per avviare il motore, è possibile collegarle ad altre batterie.

Entrambi i sistemi devono avere la stessa tensione della batteria, ovvero 24 V.

Utilizzare cavi di avviamento spessi (almeno 25 mm²) con morsetti isolati.   

Predisposizioni:

  • avviare il motore del veicolo con le batterie cariche.

Procedere nel modo descritto di seguito (opzione 1):

  1. Collegare il polo positivo (+) della batteria componenti elettrici del veicolo con la tensione della batteria bassa.
  2. Collegare il polo positivo (+) della batteria del veicolo con la batteria completamente carica.
  3. Collegare il polo negativo (-) della batteria del veicolo con la batteria completamente carica.
  4. Collegare il polo negativo (-) della batteria componenti elettrici del veicolo con la tensione della batteria bassa. Quando viene collegato l'ultimo cavo, possono formarsi delle scintille.
  5. Avviare il motore del veicolo con la tensione della batteria bassa. Non rimanere in prossimità delle batterie.
  6. Dopo avere avviato il motore, scollegare prima il cavo del polo negativo (-) della batteria del veicolo con la tensione della batteria bassa e poi gli altri cavi.
  7. Se il motore non si avvia, scollegare i cavi seguendo le indicazioni del passo 6 e ripetere tutti i punti, con un'eccezione. Al passo 1 collegare il polo positivo (+) della batteria interna del veicolo con la tensione della batteria bassa.

Se è necessario avviare il veicolo con i cavi, procedere nel seguente modo:

  1. Collegare il polo positivo (+) della batteria del veicolo con la
    tensione della batteria bassa.
  2. Collegare il polo positivo (+) della batteria componenti elettrici del veicolo con la batteria completamente carica.
  3. Collegare il polo negativo (-) della batteria componenti elettrici del veicolo con la batteria completamente carica.
  4. Collegare il polo negativo (-) della batteria del veicolo con la tensione della batteria bassa. Quando viene collegato l'ultimo cavo, possono formarsi delle scintille.
  5. Avviare il motore del veicolo con la tensione della batteria bassa. Non rimanere in prossimità delle batterie.
  6. Dopo avere avviato il motore, scollegare prima il cavo del polo negativo (-) della batteria del veicolo con la tensione della batteria bassa e poi gli altri cavi.

NOTA

Se la vernice protettiva del telaio si rovina, deve essere ritoccata immediatamente.

IMPORTANTE!

Il motore ha difficoltà ad avviarsi.
Il motorino di avviamento si blocca automaticamente dopo 35 secondi. 
Azionare il motorino di avviamento per 30 secondi al massimo. Se il motore non si avvia al primo tentativo, riportare la chiave nella posizione radio e attendere 30 secondi circa affinché il motorino di avviamento recuperi.
Se il motore non si avvia nemmeno dopo il secondo tentativo, lasciare riposare il motorino di avviamento per almeno 5 minuti prima di riprovare altre due volte. Verificare l'eventuale presenza di altri elementi difettosi, ad esempio un guasto nel sistema di alimentazione. 

Sistema idraulico

Regolazione della pressione del sistema idraulico

La pressione del sistema idraulico può essere impostata a 150 o 220 bar con due posizioni fisse. Verificare qual è la pressione necessaria per collegare le attrezzature idrauliche al sistema e impostarla con la manopola. La manopola si innesta nei finecorsa e non deve essere posizionata in un punto intermedio.

IMPORTANTE!

Prima di effettuare il collegamento, assicurarsi sempre che la pressione del sistema impostata non ecceda il valore massimo indicato sull'attrezzatura idraulica per evitare di danneggiare l'attrezzatura stessa.

Per impostare la pressione del sistema idraulico, utilizzare la manopola.

Presa di forza EG

La presa di forza azionata dal cambio, EG, trasferisce potenza dal cambio all'attrezzatura esterna. È montata sul cambio ed è azionata dall'albero secondario del cambio stesso. Di norma non è inserita. Per attivare la presa di forza EG, la chiave di avviamento deve essere nella posizione di marcia e la pressione dell'aria deve essere superiore a 5 bar.

L'allestitore può selezionare altri requisiti da applicare.

IMPORTANTE!

Dopo la guida, lasciare il motore al regime minimo per circa 1 minuto prima di spegnerlo per non rischiare di danneggiare il turbocompressore.

Il veicolo potrebbe essere equipaggiato con diverse prese di forza.

Per controllare il regime motore per la presa di forza EG, premere + o - sull'interruttore del cruise control.

IMPORTANTE!

Quando si utilizza la presa di forza EG ad alta velocità, il veicolo deve trovarsi su una superficie più piana possibile. Può sostare su una pendenza in discesa solo per un periodo di tempo ridotto.

Per i cambi dotati di split è possibile applicare alla presa di forza due velocità diverse con lo stesso regime motore, in funzione dello split inserito - alto o basso - quando il cambio è in folle.  

Cambiare la modalità split manualmente con la leva del freno ausiliario, avvicinandola a sé o allontanandola. 

Quando la presa di forza EG è inserita, il cambio marcia è bloccato durante la guida. Tuttavia è possibile cambiare marcia a veicolo fermo. Se si sposta il veicolo con la presa di forza EG attivata, sul quadro degli strumenti viene visualizzato un messaggio.

Inserimento

IMPORTANTE!

Inserire e disinserire la presa di forza solo quando è scarica. Cambiare marcia solo quando la presa di forza è scarica per evitare di danneggiare il cambio.

  1. Assicurarsi che il veicolo sia fermo.
  2. Premere il pedale della frizione, se il motore è in funzione, o mettere in folle.
  3. Premere l'interruttore.
  4. Attendere che sul quadro degli strumenti appaia il simbolo della presa di forza.
  5. Se il motore è in funzione, rilasciare lentamente la frizione (cambio manuale).

NOTA

Se dopo 10 secondi non appare alcun simbolo, rilasciare lentamente la frizione in modo che le marce si innestino correttamente. Non premere nuovamente l'interruttore.

IMPORTANTE!

Se si sente un rumore anomalo provenire dal cambio automatico, premere immediatamente l'interruttore. La presa di forza si disinserisce automaticamente.

NOTA

Se, dopo 20-30 secondi, il simbolo della presa di forza (cambio automatico) non appare sul quadro degli strumenti, ripetere i passi 3 e 4.

Disinserimento

  1. Premere il pedale della frizione, se il motore è in funzione, o mettere in folle.
  2. Premere l'interruttore della presa di forza.
  3. Attendere che il simbolo della presa di forza si spenga.
  4. Se il motore è in funzione, rilasciare lentamente la frizione (cambio manuale).

Interruttore della presa di forza EG

Presa di forza EK

La presa di forza è un perno dell'albero esterno che trasferisce potenza dal motore agli accessori esterni. La presa di forza EK è montata tra il motore e il cambio ed è azionata dal motore. Di norma non è inserita.

Per controllare il regime motore per la presa di forza EK, premere + o - sull'interruttore del cruise control.

IMPORTANTE!

Per inserire la presa di forza, il motore deve essere spento.

Inserimento

  1. Spegnere il motore.
  2. Mettere la marcia in folle.
  3. Inserire la chiave nella posizione di marcia.
  4. Attivare l'interruttore.
  5. Avviare il motore.

Disinserimento

  1. Assicurarsi che la presa di forza non sia caricata.
  2. Disattivare l'interruttore.

Interruttore della presa di forza EK

Presa di forza ED

La presa di forza trasferisce potenza dal motore agli accessori esterni. La presa di forza ED è azionata direttamente dalla distribuzione e inizia a girare dopo che si è avviato il motore. L'interruttore attiva l'impianto idraulico e trasmette la pressione al sistema.

L'allestitore può selezionare altri requisiti da applicare.

Per controllare il regime motore per la presa di forza ED, premere + o - sull'interruttore del cruise control.

Inserimento

  • Attivare l'interruttore.

Disinserimento

  • Disattivare l'interruttore.

Interruttore della presa di forza ED

Interruttore EXT

L'interruttore EXT è un dispositivo di sicurezza che consente di controllare alcune delle funzioni del veicolo dall'esterno del veicolo. Le funzioni che è possibile controllare dipendono dall'attrezzatura del veicolo e dalla logica creata nel sistema di allestimento del veicolo stesso. 

Se si preme l'interruttore EXT, sul quadro degli strumenti si accende il simbolo EXT corrispondente.

Interruttore EXT. Attivare l'interruttore EXT quando è necessario controllare alcune funzioni del veicolo dall'esterno del veicolo.