Extraits du Manuel de conduite et d'entretien

Sur les onglets ci-dessous, vous trouverez des extraits du manuel de conduite et d'entretien qui peuvent être utiles au carrossier. 

NOTE ! Les informations peuvent varier en fonction des spécifications du véhicule.

Le manuel de conduite et d'entretien est également disponible pour les appareils Android et iOS.

Cliquez sur le lien ci-dessous sur votre appareil pour télécharger le manuel de conduite et d'entretien

Aide au démarrage en côte

IMPORTANT !

N'utilisez pas l'aide au démarrage en côte si les conditions routières sont hivernales, car le véhicule risque de glisser avec les roues bloquées.

Utilisez l'aide au démarrage en côte pour faciliter les démarrages en côte.

Pour utiliser l’aide au démarrage en côte :

  • Mettez le contact du véhicule
  • Appuyez sur le commutateur qui est allumé lorsque l’aide au démarrage en côte est activée.
  • Maintenant, lorsque vous appuyez sur la pédale de frein, vous entendez un déclic. La pression des freins est ensuite maintenue afin que vous puissiez relâcher la pédale de frein. Plus vous appuyez for sur la pédale de frein, plus l’aide au démarrage en côte est appliquée.

L’aide au démarrage en côte est disponible jusqu’à ce que vous désactiviez la fonction à l'aide du commutateur. Si la fonction était activée lors de l'arrêt du moteur du véhicule, l'aide au démarrage en côte sera activée au prochain démarrage du véhicule.

NOTE !

L'aide au démarrage en côte n'est pas activée si la pression de freinage est trop basse ou si l'ABS était actif à la fin d'un freinage.

Commutateur d’aide au démarrage en côte

AVERTISSEMENT !

Serrez toujours le frein de stationnement avant de quitter le poste de conduite.

L’aide au démarrage en côte est désactivée au bout de quelques secondes si vous relâchez les pédales complètement et que le véhicule peut commencer à se déplacer. Un signal d'avertissement est émis et un texte d’avertissement est affiché à l’écran avant que l’aide au démarrage en côte soit désactivée.

L’aide au démarrage en côte est directement désactivée lorsque vous engagez une vitesse, relâchez les freins et accélérez légèrement.

Fonction avancée de freinage d’urgence

L’AEB est un système de fonction avancée de freinage d’urgence qui, en utilisant une caméra de détection avant et un capteur de distance, peut réduire les conséquences des accidents avec n'importe quel véhicule à l’avant.

AVERTISSEMENT !

L'AEB n'est qu'un système d'aide. L’AEB ne s’adapte pas aux conditions routières ou météorologiques. Il incombe au conducteur en toutes circonstances de conduire le véhicule de manière sécurisée.
Manipuler le signal de vitesse du véhicule peut causer le dysfonctionnement de l’AEB ou son activation incorrecte. 

NOTE !

Il est nécessaire d'étalonner la caméra de détection avant après le remplacement du pare-brise.

Avertissement de collision

Lorsque l'AEB détecte un risque de collision, le système est activé en trois étapes :

  1. Un avertissement rouge avec un signal acoustique est affiché dans l’instrument combiné.
  2. Si le conducteur ne réagit pas et que le risque demeure, l’AEB freine légèrement le véhicule.
  3. Si aucune réponse supplémentaire n’est effectuée et que le risque est toujours là, l’AEB freine le véhicule à pleine puissance.

Le conducteur peut toujours annuler l’avertissement ou le freinage en :

  • Appuyant sur le commutateur AEB sur le tableau de bord
  • Relâchant clairement et rapidement la pédale d'accélérateur
  • Relâchant la pédale d'accélérateur en position de kick-down

Assez tôt, le conducteur peut également annuler l'avertissement :

  • En relâchant la pédale de frein
  • En activant les clignotants

Le conducteur peut toujours reprendre le contrôle de l’application du frein en relâchant la pédale de frein. Ceci annule l’avertissement et le freinage automatique. Plus la situation est critique, plus il faut appuyer fort sur la pédale de frein.

Si le régulateur de vitesse est activé, il peut générer un
avertissement de collision et essayer de remédier à la situation avant l'avertissement de l'AEB.

Une fois que le véhicule a freiné à pleine puissance et qu'il est à l'arrêt, les freins maintiennent le véhicule pendant quelques secondes pour l’empêcher de se déplacer. Les freins sont relâchés si le conducteur appuie sur la pédale d'accélérateur ou de frein.

Symbole de risque de collision

Activation et disponibilité

L'AEB s'active automatiquement lors de la mise sous tension. Le voyant dans le commutateur s’allume en vert.

Il est possible de désactiver l’AEB à l'aide du commutateur. Le voyant dans le commutateur s’allume en jaune. Le commutateur est sous tension ressort et ce même commutateur réinitialise l’AEB.

L’AEB est disponible lorsque :

  • La vitesse du véhicule est supérieure à 15 km/h

L’AEB peut être limitée ou désactivée lorsque :

  • Le capteur de distance est obstrué ou défectueux
  • La caméra est obstruée ou défectueuse
  • Il y a un défaut dans le système de freinage du véhicule ou de la remorque
  • La suspension pneumatique du véhicule est définie
    loin de la position de marche normale
  • Le véhicule roule dans l’obscurité

Commutateur pour l’AEB, fonction avancée de freinage d'urgence

Lorsque l'AEB est limitée, un symbole jaune est affiché avec un message dans l'instrument combiné. 

Les messages suivants peuvent être affichés :

Dysfonctionnement système

  • L’AEB est désactivée en raison d'une anomalie dans le capteur de distance.

Fonctionnalité réduite

  • L’AEB est limitée et toujours partiellement active. L’AEB peut ne pas freiner ou avertir d'une collision à temps. 

Symbole d’AEB limitée

Lorsque le capteur de distance ou la caméra est obstrué(e), par exemple par de la poussière, de la neige ou de la glace, le symbole respectif est affiché avec un message dans l'instrument combiné.

Si le problème n’est pas rectifié, la fonction AEB sera désactivée ou sera limitée.

Si la caméra est obstruée, il peut s'avérer suffisant d'activer les essuie-glaces. Assurez-vous qu’elle n’est pas obstruée par la saleté, la neige et la glace.

  1. Capteur de distance obstrué
  2. Caméra obstruée

AVERTISSEMENT !

L'AEB n'est qu'une aide et dans certaines conditions de circulation, elle peut avoir du mal à identifier les véhicules ou à les repérer correctement. L'AEB peut manquer un risque de collision ou être activée sans qu'il n'y ait de risque de collision.

Différentes conditions de circulation

À l’entrée ou à la sortie des virages, l’AEB peut avoir des difficultés à identifier la route qui s’approche. Par conséquent, l’AEB peut omettre de signaler les véhicules sur la route ou de signaler incorrectement les véhicules sur le côté de la route.

Virages

Dans les sorties ou les bretelles d'autoroute et lorsque les véhicules roulent sur la bande d'arrêt d’urgence, l’AEB peut avoir des difficultés à identifier les véhicules devant.

Dans les sorties, les bretelles et sur la bande d'arrêt d'urgence

Un véhicule qui passe dans votre voie, juste devant votre véhicule, ne peut pas être identifié par l’AEB tant qu'il n’est pas dans la zone d’identification. 

Changement de voie

Instruments d'informations sur le véhicule

Instrument combiné

  1. Compteur
  2. Clignotant
  3. Afficher
  4. Symboles d'avertissement et symboles indicateurs généraux
  5. Compte-tours
  6. Jauge de niveau de carburant
  7. Témoins de contrôle et symboles d'avertissement
  8. Indicateur de température du liquide de refroidissement
  9. L'écran à droite affiche le niveau de réducteur, la température extérieure et l'horloge.

Compte-tours

Le compte-tours affiche le régime du moteur en tours par minute, tr/min.

Il comporte 4 zones :

  • Blanc, 0-2 000 tr/min et 2 200-2 400 tr/min.
  • Bleu, 2 000 -2 400 tr/min. Ici, le frein auxiliaire du moteur est
    le plus puissant.
  • Rouge, au-dessus de 2 400 tr/min. Lorsque le régime moteur se trouve dans la zone rouge, le moteur risque d'être endommagé.

Instrument combiné

Affichages et symboles

De plus amples informations sur l’affichage, les symboles d'avertissement et d’indication généraux et les symboles spéciaux de la superstructure figurent dans les documents suivants : 

Basculement de la cabine

AVERTISSEMENT !

La vanne de pompe doit être en position d'abaissement pendant la conduite. Sinon, les composants hydrauliques peuvent soulever la cabine et provoquer des dommages.

Avant le basculement de la cabine, vous devez couper le moteur, serrer le frein de stationnement et placer le levier de vitesses au point mort.

N'intervenez pas sous la cabine lorsqu'elle se trouve en position intermédiaire. Basculez toujours la cabine entièrement.

N'allez pas devant ou derrière la cabine pendant le basculement.

Le véhicule doit se trouver sur une surface plane pendant le basculement de la cabine. Ne basculez jamais la cabine lorsque le véhicule se trouve sur une pente de plus de 10 pour cent.

Dispositif de basculement de la cabine

Lorsque la cabine est abaissée correctement, elle est verrouillée par 2 verrous mécaniques à ouverture hydraulique lors du basculement.   

Basculement de la cabine (levier)

IMPORTANT !

Les panneaux latéraux de la calandre doivent être ouverts lors du basculement de la cabine.

  1. Serrer le frein de stationnement.
  2. Mettre le levier de vitesses au point mort.
  3. Enlever tous les objets non fixés et équipements lourds de la cabine.
  4. Fermer les portes.
  5. Régler la vanne de pompe sur la position de basculement. Utiliser l’adaptateur ou le levier.
  6. Poser l'adaptateur sur la goupille de pompe. Monter le levier avec l’adaptateur.
  7. Pomper à l'aide du levier et le verrou de cabine s'ouvrira automatiquement.
  8. Pomper jusqu’à ce que la cabine bascule vers l'avant sous l'effet de son propre poids. Continuer à pomper jusqu’à ce qu'une contre-pression soit ressentie dans le levier de pompe et que la cabine ait atteint son angle d'ouverture total.
  1. Pompe de basculement de cabine
  2. Vanne de pompe

Réglage de la vanne de pompe pour le basculement ou l’abaissement de la cabine. L’illustration du haut montre la position de la vanne lors du basculement. L'illustration du bas montre la position de la vanne pendant l'abaissement. Utiliser le levier ou l’adaptateur pour régler la vanne de pompe à la bonne position.

Redressement de la cabine (levier)

AVERTISSEMENT !

Risque de blessures par écrasement lors de l'abaissement de la cabine. La cabine descend librement lors de la dernière étape d'abaissement pour la remettre en place.

  1. Fermer les portes.
  2. Mettre la vanne de pompe dans la position de redressement de la cabine.
  3. Basculer la cabine en arrière en pompant avec le levier jusqu’au basculement de la cabine
    Retour à la zone de mouvement de la position de marche.

Laisser la vanne de pompe en position d'abaissement.

Basculement de la cabine (électroniquement)

IMPORTANT !

Les panneaux latéraux de la calandre doivent être ouverts lors du basculement de la cabine.

  1. Serrer le frein de stationnement.
  2. Mettre le levier de vitesses au point mort.
  3. Appuyer sur le commutateur de basculement de la cabine.
  4. Enlever tous les objets non fixés et équipements lourds de la cabine.
  5. Fermer les portes.
  6. Ouvrir la calandre supérieure et les panneaux latéraux de la calandre. 
  7. Sortir la commande à distance de basculement de cabine. La commande à distance est située sous la calandre. Maintenir enfoncé le bouton d’activation au dos de la commande à distance, appuyer sur le bouton de basculement et continuer à les maintenir enfoncés, jusqu’à ce que la cabine ait basculé vers l’avant sous l’effet de son propre poids. Continuer à maintenir les boutons d’activation et de basculement enfoncés jusqu’à ce que la cabine ait atteint son angle d'ouverture total.  

Commutateur de basculement de la cabine

NOTE !

S’assurer qu’aucune personne non autorisée n’ait accès à la commande à distance de basculement de la cabine.

Redressement de la cabine (électroniquement)

AVERTISSEMENT !

Risque de blessures par écrasement lors de l'abaissement de la cabine. La cabine descend librement lors de la dernière étape d'abaissement pour la remettre en place.

Commande à distance de basculement de la cabine

  1. Fermer les portes.
  2. Sortir la commande à distance de basculement de cabine. La commande à distance est située sous la calandre. Maintenir enfoncé le bouton d’activation au dos de la commande à distance, appuyer sur le bouton d’abaissement et continuer à les maintenir enfoncés, jusqu’à ce que la cabine ait basculé à nouveau à la zone de mouvement de la position de marche.
  3. Réinitialiser le commutateur de basculement de la cabine.
  4. Fermer les panneaux latéraux de la calandre et la calandre supérieure.

Changement de roue

Avertissement !

Couper la tension et désactiver le coupe-batterie avant de changer les roues sur l'essieu porteur.

Ne jamais passer sous un véhicule qui n'est soulevé que par un cric. Pour garantir un maximum de sécurité lors des travaux sous un véhicule relevé, il est nécessaire de sécuriser les suspensions du châssis et de l'essieu mobile pour les empêcher de tomber. Risque important de blessures par écrasement.

Ne jamais passer sous un véhicule à suspension pneumatique qui n'est pas complètement sécurisé contre les chutes, en cas de changement de pression dans les soufflets pneumatiques. Risque important de blessures par écrasement.

Dépose

1. Passer un rapport inférieur et tourner la clé en position verrouillée. Placer le sélecteur de mode de conduite sur la position neutre de la boîte de vitesses automatique.

Avertissement !

Vous devez caler les roues du véhicule afin de l'empêcher de bouger pendant les travaux.

2. Placer des cales devant et derrière les roues qui doivent rester au sol.

3. Desserrer le frein de stationnement de la roue à changer afin que la roue et le tambour de frein reposent bien contre le moyeu lors du serrage.

4. Marquer la position de la jante sur le moyeu.

5. Desserrer les écrous de la roue sans les enlever.

6. Lever le véhicule.

 

Avertissement !

Vérifier que le cric repose fermement sur une surface plane.

IMPORTANT !

Positionner le cric uniquement aux points de levage spécifiés. Un placement dans une autre position peut causer de graves dommages au véhicule.

7. Retirer les écrous de roue et la roue.

IMPORTANT !

Serrez les écrous de roue à 600 Nm après avoir parcouru environ 100 km.

Placer des cales devant et derrière les roues qui doivent rester au sol.

Marquer la position de la jante contre le moyeu.

Repose

1. Nettoyer soigneusement les surfaces de contact. Utiliser une brosse métallique.
Certaines jantes comportent des bagues d'écartement. Les nettoyer également.

NOTE !

Des couches épaisses de peinture, de rouille et de saleté peuvent entraîner un desserrement des écrous de roue et rendre ovales les trous des boulons dans les jantes et le tambour de frein.

2. Nettoyer les filetages des boulons de roue.

NOTE !

Vérifier que le frein de stationnement est desserré pour l'essieu sur lequel l'intervention est effectuée.

3. Remettre la roue dans la même position qu'avant la dépose. Contrôler le marquage.

4. Serrer les écrous de roue dans le bon ordre de serrage comme indiqué sur l'illustration. Ne jamais utiliser un écrou du type volant moteur. Les écrous doivent être serrés au couple de 600 Nm.

IMPORTANT !

Un atelier Scania doit serrer les écrous de roue au couple correct. Un couple trop élevé ou trop faible peut entraîner le desserrage de la roue ou l'ovalisation du tambour de frein.

5. Abaisser le véhicule et retirer les cales de roue.

Pièces devant être nettoyées avant le montage

Ordre de serrage pour le serrage des écrous de roue

Scania recommande de tracer une ligne au-dessus des goujons de roue et des écrous de roue pour déceler plus facilement les écarts éventuels. Utiliser un marqueur. Si un écrou de roue dévie, retirer complètement l'écrou de roue et le remettre en place.

IMPORTANT !

Vérifier et serrer les écrous de roue à 600 Nm après avoir parcouru 100 km environ.

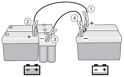
Démarrage assisté

AVERTISSEMENT !

Ne pas se tenir près des batteries lors de l’utilisation de câbles de démarrage. Une batterie peut exploser et provoquer de nombreux dégâts.

Ne pas brancher les batteries ensemble dans un environnement où sont présents des gaz ou des liquides inflammables, tels que l’essence et l’éthanol.

Suivre exactement les instructions pour prévenir les blessures ou les dégâts matériaux.

IMPORTANT !

Les panneaux latéraux de la calandre doivent être ouverts lors du basculement de la cabine.

Si les batteries du véhicule sont déchargées et que vous n'avez pas suffisamment de courant pour démarrer le moteur, vous pouvez les brancher à d'autres batteries.

Les deux systèmes doivent avoir la même tension de batterie, c'est-à-dire 24 V.

Utiliser des câbles de démarrage épais (d'au moins 25 mm²) avec pinces isolées.   

Préparations :

  • Démarrer le moteur du véhicule qui a des batteries chargées.

Procéder comme suit (option 1) :

  1. Brancher un câble à la borne positive de la batterie de service (+) dans le véhicule avec la tension de batterie basse.
  2. Brancher le câble à la borne positive de la batterie (+) dans le véhicule avec la batterie entièrement chargée.
  3. Brancher un câble à la borne négative de la batterie (-) dans le véhicule avec la batterie entièrement chargée.
  4. Brancher le câble à la borne négative de la batterie de service (+) dans le véhicule avec la tension de batterie basse. Ce câble final peut générer des étincelles une fois connecté.
  5. Démarrer le moteur dans le véhicule qui a la tension de batterie basse. Ne pas se tenir près des batteries.
  6. Lorsque le moteur a démarré, débrancher tout d'abord le câble de la borne moins (-) de la batterie dans le véhicule avec la tension de batterie faible, puis les autres câbles.
  7. Si le moteur ne démarre pas, débrancher les câbles conformément à l’étape 6 et répéter tous les points, à une exception près. Lors de l’étape 1, brancher un câble à la borne positive (+) de la batterie dans le véhicule avec la tension de batterie basse.

Procéder comme suit lorsque le véhicule fournit une assistance au démarrage :

  1. Brancher un câble à la borne positive de la batterie (+) dans le véhicule avec la tension
    de batterie basse.
  2. Brancher le câble à la borne positive de la batterie de service (+) dans le véhicule avec la batterie entièrement chargée.
  3. Brancher le câble à la borne négative de la batterie de service (-) dans le véhicule avec la batterie entièrement chargée.
  4. Brancher le câble à la borne négative de la batterie de service (-) dans le véhicule avec la tension de batterie basse. Ce câble final peut générer des étincelles une fois connecté.
  5. Démarrer le moteur dans le véhicule qui a la tension de batterie basse. Ne pas se tenir près des batteries.
  6. Lorsque le moteur a démarré, débrancher tout d'abord le câble de la borne moins (-) de la batterie dans le véhicule avec la tension de batterie faible, puis les autres câbles.

NOTE !

Si la peinture de protection sur le cadre est endommagée, elle doit être retouchée immédiatement.

IMPORTANT !

Conseil lorsque le moteur a des difficultés à démarrer :
Le démarreur est bloqué automatiquement au bout de 35 secondes. 
Faire tourner le démarreur pendant 30 secondes maximum. Si le moteur ne démarre pas à la première tentative : remettre la clé à la position radio et attendre environ 30 secondes pour que le démarreur récupère.
Si le moteur n’a pas démarré au bout de 2 tentatives, laisser impérativement le démarreur reposer pendant au moins 5 minutes avant d’effectuer 2 nouvelles tentatives. Chercher s’il y a une autre anomalie, par exemple un défaut dans le circuit d'alimentation en carburant. 

Groupe hydraulique de superstructure

Ajustement de la pression dans le système hydraulique

La pression dans le système hydraulique peut être réglée sur 150 ou 220 bars avec 2 positions fixes. Vérifier quelle pression est requise pour que l’équipement hydraulique soit connecté au système et régler la pression avec le bouton. Le bouton fait un clic aux fins de course et ne doit pas être réglé dans une position intermédiaire.

IMPORTANT !

Toujours vérifier que la pression définie dans le système ne dépasse pas la pression maximum indiquée pour l'équipement hydraulique avant la connexion pour éviter d'endommager l'équipement.

Régler la pression dans le système hydraulique à l’aide du bouton.

Prise de mouvement EG

La prise de mouvement entraînée par boîte de vitesses transfère la puissance de la boîte de vitesses à l’équipement externe. Elle est montée sur la boîte de vitesses et est entraînée par l’arbre intermédiaire de la boîte de vitesses ; normalement, elle n’est pas enclenchée. Avant d'activer la prise de mouvement EG, vous devez mettre la clé de contact dans la position de marche et la pression d'air doit être supérieure à 5 bars.

Le carrossier peut sélectionner d’autres exigences applicables.

IMPORTANT !

Après avoir conduit, faire tourner le moteur au ralenti pendant environ 1 minute avant de le couper. Sinon, il existe un risque de dommage sur le turbocompresseur.

Le véhicule doit être équipé de plusieurs prises de mouvement.

Vous pouvez contrôler le régime moteur sur la prise de mouvement EG en appuyant sur + ou - sur le commutateur du régulateur de vitesse.

IMPORTANT !

Lorsque vous utilisez la prise de mouvement EG à vitesse élevée, le véhicule doit se trouver sur une surface aussi plane que possible. Il ne peut se trouver sur une pente que pendant de courtes périodes de fonctionnement.

Pour les boîtes de vitesses à démultiplication, 2 vitesses différentes peuvent être données à la prise de mouvement avec le même régime moteur, selon l’engagement en petite vitesse ou en vitesse élevée lorsque la boîte de vitesses est au point mort.  

Le mode de vitesse se change manuellement à l'aide du levier de frein auxiliaire en rapprochant le levier ou en l'éloignant de soi. 

Lorsque la prise de mouvement EG est enclenchée, tout changement de vitesse est bloqué pendant que le véhicule est en marche. Toutefois, vous pouvez changer de vitesse lorsque le véhicule est stationnaire. Si le véhicule est conduit avec une prise de mouvement EG activée, un message s'affiche dans l’instrument combiné.

Enclenchement

IMPORTANT !

Enclencher et désengager la prise de mouvement uniquement lorsqu'elle n'est pas sous charge. Changer uniquement de vitesse lorsque la prise de mouvement n'est pas sous charge, sinon la boîte de vitesses pourrait être endommagée.

  1. S’assurer que le véhicule est stationnaire.
  2. Appuyer sur la pédale d'embrayage si le moteur tourne ou passer le point mort.
  3. Appuyer sur le commutateur.
  4. Attendre jusqu’à ce que le symbole de prise de mouvement apparaisse dans l’instrument combiné.
  5. Relâcher lentement l’embrayage (boîte de vitesses manuelle), si le moteur tourne.

NOTE !

Si aucun symbole ne s'affiche au bout de 10 secondes, relâcher lentement l'embrayage afin que les vitesses se retrouvent dans la position correcte. Ne pas appuyer à nouveau sur le commutateur.

IMPORTANT !

S'il y a un bruit anormal venant de la boîte de vitesses automatique, appuyer immédiatement sur le commutateur. La prise de mouvement se désengage ensuite automatiquement.

NOTE !

Si le symbole de prise de mouvement (boîte de vitesses automatique) ne s’est pas affiché dans l’instrument combiné au bout de 20 à 30 secondes, répéter les étapes 3 et 4.

Désenclenchement

  1. Appuyer sur la pédale d'embrayage si le moteur tourne ou passer le point mort.
  2. Appuyer sur le commutateur de la prise de mouvement.
  3. Attendre jusqu’à ce que le symbole de prise de mouvement disparaisse.
  4. Relâcher lentement l’embrayage (boîte de vitesses manuelle), si le moteur tourne.

Commutateur de prise de mouvement EG

Prise de mouvement EK

La prise de mouvement est un axe externe permettant de transférer la puissance du moteur aux accessoires externes. La prise de mouvement EK est montée entre le moteur et la boîte de vitesses et entraînée par le moteur. Normalement, la prise de mouvement n’est pas enclenchée.

Vous pouvez contrôler le régime moteur vers la prise de mouvement EK en appuyant sur + ou - sur le commutateur du régulateur de vitesse.

IMPORTANT !

Il faut couper le moteur avant d'enclencher la prise de mouvement.

Enclenchement

  1. Couper le moteur.
  2. Mettre la vitesse au point mort.
  3. Mettre la clé en position de marche.
  4. Activer le commutateur.
  5. Démarrer le moteur.

Désenclenchement

  1. S’assurer que la prise de mouvement n’est pas chargée.
  2. Désactiver le commutateur.

Commutateur de prise de mouvement EK

Prise de mouvement ED

La prise de mouvement transfère l’alimentation du moteur vers les accessoires externes. La prise de mouvement ED est entraînée directement par la distribution et tourne lorsque le moteur a été démarré. Le commutateur active les éléments hydrauliques et fournit de la pression au système.

Le carrossier peut sélectionner d’autres exigences applicables.

Vous pouvez contrôler le régime moteur sur la prise de mouvement ED en appuyant sur + ou - sur le commutateur du régulateur de vitesse.

Enclenchement

  • Activer le commutateur.

Désenclenchement

  • Désactiver le commutateur.

Commutateur de prise de mouvement ED

Commutateur EXT

Le commutateur EXT est une fonction de sécurité qui permet de contrôler certaines des fonctions du véhicule depuis l’extérieur du véhicule. Les fonctions que vous pouvez contrôler dépendent de l'équipement du véhicule et des éléments logiques qui ont été créés dans le système de superstructure du véhicule. 

Lorsque vous appuyez sur le commutateur EXT, le symbole EXT s’allume dans l'instrument combiné.

Le commutateur EXT. Activez ce commutateur lorsque vous avez besoin de contrôler certaines des fonctions du véhicule depuis l'extérieur.