Otteita Kuljettajan käsikirjasta

Seuraavissa välilehdissä on ajoneuvon kuljettajan käsikirjasta peräisin olevia otteita, joista voi olla apua päällirakentajalle. 

HUOM! Tiedot voivat vaihdella ajoneuvon erittelyjen mukaan.

Kuljettajan käsikirja on saatavana myös Android- ja iOS-laitteille.

Lataa kuljettajan käsikirja napsauttamalla alla olevaa linkkiä laitteessasi

Mäkijarru

TÄRKEÄÄ!

Mäkijarrua ei saa käyttää talvikeleillä, koska ajoneuvo voi joutua luisuun pyörät lukkiutuneina.

Käytä mäkijarrua mäkilähtöjen helpottamiseksi.

Mäkijarrun käyttäminen:

  • Kytke ajoneuvon virta.
  • Paina kytkintä, joka syttyy mäkijarrun ollessa aktivoituna.
  • Kun nyt painat jarrupoljinta, kuuluu naksahdus, jonka jälkeen järjestelmä säilyttää jarrupaineen, jotta voit vapauttaa jarrupolkimen. Mitä voimakkaammin jarrupoljinta painetaan, sitä voimakkaammin mäkijarru on kytkettynä.

Mäkijarru on aktivoituna, kunnes toiminto kytketään pois päältä kytkimellä. Jos toiminto on aktivoituna, kun ajoneuvon sammutetaan, mäkijarru aktivoituu, kun ajoneuvo käynnistetään seuraavan kerran.

HUOM!

Mäkijarru ei aktivoidu, jos jarrupaine on liian alhainen tai jos ABS on ollut aktiivisena jarrutuksen lopussa.

Mäkijarrun kytkin

VAROITUS!

Kytke seisontajarru aina ennen kuljettajan tilasta poistumista.

Mäkijarru vapautuu muutaman sekunnin kuluttua, jos vapautat polkimet kokonaan ja ajoneuvo lähtee liikkeelle. Varoitusäänimerkki kuuluu ja varoitusteksti tulee näyttöön, ennen kuin mäkijarru vapautuu.

Mäkijarru vapautuu heti, kun kytket vaihteen, vapautat jarrut ja kiihdytät hieman.

Automaattinen hätäjarrutus

AEB on edistynyt hätäjarrutusjärjestelmä, joka käyttää etusuunnan kameraa ja etäisyysanturia ja voi lieventää edellä ajaviin ajoneuvoon kohdistuvien törmäysten vaikutuksia.

VAROITUS!

AEB on ainoastaan apuväline. AEB ei säätele toimintaansa ajo-olosuhteiden tai sään mukaan. Kuljettaja vastaa aina siitä, että ajoneuvolla ajetaan turvallisesti.
Ajoneuvon nopeussignaalin manipulointi saattaa aiheuttaa AEB:n toimintahäiriön tai sen aktivoitumisen väärin. 

HUOM!

Etusuunnan kamera on kalibroitava tuulilasin vaihdon jälkeen.

Törmäysvaroitus

Kun AEB havaitsee törmäysvaaran, järjestelmä aktivoidaan kolmessa vaiheessa:

  1. Punainen varoitusteksti näytetään mittaristossa ja äänimerkki kuuluu.
  2. Jos kuljettaja ei reagoi ja riski on edelleen olemassa, AEB jarruttaa ajoneuvoa kevyesti.
  3. Jos lisätoimenpiteitä ei tehdä ja riski on edelleen olemassa, AEB jarruttaa ajoneuvoa täydellä teholla.

Kuljettaja voi aina peruuttaa varoituksen tai jarrutuksen

  • painamalla kojetaulun AEB-kytkintä
  • painamalla kaasupoljinta jämäkästi ja nopeasti
  • painamalla kaasupolkimen pakkovaihtoasentoon (kickdown).

Varhaisessa vaiheessa kuljettaja voi peruuttaa varoituksen myös

  • painamalla jarrupoljinta
  • käyttämällä suuntavilkkuja.

Kuljettaja voi aina ottaa jarrutuksen hallintaansa painamalla jarrupoljinta. Tämä peruuttaa varoituksen ja automaattisen jarrutuksen. Mitä kriittisempi tilanne, sitä voimakkaammin jarrupoljinta on painettava.

Jos sopeutuva vakionopeussäädin on käytössä, se voi antaa
törmäysvaroituksen ja yrittää lievittää tilannetta, ennen kuin AEB antaa varoituksen.

Kun ajoneuvoa on jarrutettu täydellä teholla ja se on paikallaan, jarrut pitävät ajoneuvon muutamia sekunteja paikallaan estääkseen sitä liikkumasta. Jarrut vapautetaan, jos kuljettaja painaa jarru- tai kaasupoljinta.

Törmäysvaaran symboli

Aktivointi ja käytettävyys

AEB aktivoidaan automaattisesti, kun jännite kytketään päälle. Kytkimen valo syttyy vihreänä.

AEB voidaan passivoida kytkimellä. Kytkimen valo syttyy keltaisena. Kytkin on jousikuormitteinen, ja sama kytkin nollaa AEB:n.

AEB on käytettävissä, kun

  • ajonopeus ylittää 15 km/h.

AEB-toimintoa voidaan rajoittaa tai passivoida, kun

  • etäisyysanturi on peitetty tai viallinen
  • kamera on peitetty tai viallinen
  • ajoneuvon tai perävaunun jarrujärjestelmässä on vika
  • ajoneuvon ilmajousitus on asetettu kauas normaalista
    ajoasennosta
  • ajoneuvolla ajetaan pimeässä.

AEB-kytkin, edistynyt hätäjarrutus

Kun AEB on rajoitettu, mittaristossa näytetään keltainen symboli ja viesti. 

Seuraavat viestit voidaan näyttää:

Järjestelmävika

  • AEB passivoidaan etäisyysanturin vian vuoksi.

Rajoitettu toiminta

  • AEB on rajoitettu ja edelleen osittain aktiivinen. AEB ei ehkä jarruta tai varoita törmäyksestä ajoissa. 

Rajoitetun AEB:n symboli

Kun etäisyysanturi tai kamera on peitetty esimerkiksi lian, lumen tai jään vuoksi, mittaristossa näytetään vastaava symboli ja viesti.

Jos ongelmaa ei korjata, AEB:n toiminta passivoidaan tai rajoitetaan.

Jos kamera on peitetty, se saattaa riittää tuulilasinpyyhkimien aktivointiin. Varmista, että se on puhdas liasta, lumesta ja jäästä.

  1. Peittynyt etäisyysanturi
  2. Peittynyt kamera

VAROITUS!

AEB on ainoastaan apuväline, ja tietyissä liikenneolosuhteissa sen voi olla vaikea tunnistaa ajoneuvoja tai paikallistaa niitä oikein. AEB:ltä saattaa jäädä törmäysvaara huomaamatta, tai se voi aktivoitua ilman, että on olemassa törmäysvaara.

Erilaiset liikenneolosuhteet

Ajettaessa kaarteisiin tai niistä ulos AEB:n voi olla vaikea tunnistaa lähestyvää tietä. Siksi AEB ei ehkä pysty varoittamaa tiellä olevista ajoneuvoista tai se voi varoittaa virheellisesti tien sivussa olevista ajoneuvoista.

Kaarteet

Liittymissä tai liukkailla teillä ja ajoneuvojen liikkuessa moottoritien hätäkaistalla AEB:n voi olla vaikea tunnistaa edessä olevia ajoneuvoja.

Liittymissä tai liukkailla teillä ja moottoritien hätäkaistalla

AEB ei pysty tunnistamaan ajoneuvoa, joka vaihtaa kaistallesi juuri edessäsi, ennen kuin se tulee tunnistusvyöhykkeelle. 

Kaistan vaihto

Mittaristo ajoneuvon tiedoille

Mittaristo

  1. Nopeusmittari
  2. Suuntavilkku
  3. Näyttö
  4. Yleiset varoitus- ja ilmaisinsymbolit
  5. Kierroslukumittari
  6. Polttoainemittari
  7. Merkkivalot ja varoitussymbolit
  8. Moottorin jäähdytysnesteen lämpömittari
  9. Oikealla oleva näyttö näyttää pelkistyslisäaineen tason, ulkolämpötilan ja kellon.

Kierroslukumittari

Kierroslukumittari näyttää moottorin kierrosluvun kierroksina minuutissa, r/min.

Mittarissa on neljä kenttää:

  • Valkoinen, 0-2 000 r/min ja 2 200-2 400 r/min.
  • Sininen, 2 000-2 400 r/min. Tässä moottorin lisäjarru on
    tehokkaimmillaan.
  • Punainen, yli 2 400 r/min. Kun moottorin kierrosluku on punaisessa kentässä, on olemassa moottoririkon vaara.

Mittaristo

Näyttö ja symbolit

Lisätietoja näytöstä, yleisistä varoitus- ja ilmaisinsymboleista ja päällirakenteen symboleista on annettu seuraavissa asiakirjoissa: 

Ohjaamon kallistus

VAROITUS!

Pumppuventtiilin on oltava laskuasennossa ajon aikana. Muussa tapauksessa hydrauliikka saattaa pumpata ohjaamon ylös ja aiheuttaa vaurioita.

Pysäytä moottori, kytke seisontajarru päälle ja aseta vaihdevipu vapaa-asentoon ennen ohjaamon kallistamista.

Älä työskentele ohjaamon alla, kun se on keskiasennossa. Kallista ohjaamo aina kokonaan.

Älä jää ohjaamon eteen tai taakse ohjaamon kallistuksen ajaksi.

Ajoneuvon pitää seistä tasaisella alustalla. Älä koskaan kallista ohjaamoa ajoneuvon ollessa mäessä, jonka kaltevuus on yli 10 %.

Ohjaamon kallistuslaite

Kun ohjaamo kallistetaan alas oikein, se lukitaan kahdella mekaanisella lukolla, jotka avataan hydraulisesti kallistuksen yhteydessä.   

Ohjaamon kallistus (käyttövipu)

TÄRKEÄÄ!

Etuluukun sivulevyjen on oltava auki, kun ohjaamo kallistetaan.

  1. Kytke seisontajarru päälle.
  2. Aseta vaihdevipu vapaa-asentoon.
  3. Poista kaikki irtoesineet ja raskaat laitteet ohjaamosta.
  4. Sulje ovet.
  5. Aseta pumppuventtiili kallistusasentoon. Käytä sovitinta tai käyttövipua.
  6. Aseta sovitin pumpun tappiin. Asenna käyttövipu sovittimeen.
  7. Pumppaa käyttämällä käyttövipua, jolloin ohjaamolukko aukeaa automaattisesti.
  8. Pumppaa, kunnes ohjaamo kallistuu eteenpäin omalla painollaan. Jatka pumppaamista, kunnes pumpun vivussa tuntuu vastapaine ja ohjaamo on saavuttanut täyden avautumiskulman.
  1. Ohjaamon kallistuspumppu
  2. Pumppuventtiili

Pumppuventtiilin asettaminen ohjaamon kallistamista tai laskemista varten. Ylemmässä kuvassa on esitetty venttiilin asento kallistuksen yhteydessä. Alemmassa kuvassa on esitetty venttiilin asento laskun aikana. Käytä sovitinta tai käyttövipua pumppuventtiilin asettamiseksi oikeaan asentoon.

Kallista ohjaamo takaisin (käyttövipu)

VAROITUS!

Ohjaamoa laskettaessa on ruhjoutumisvammojen riski. Ohjaamo putoaa vapaasti laskemisen loppuvaiheessa.

  1. Sulje ovet.
  2. Aseta pumppuventtiili ohjaamon kallistusasentoon.
  3. Pumppaa ohjaamoa takaisin käyttövivulla, kunnes se putoaa
    takaisin ajoasennon liikevyöhykkeelle.

Jätä pumppuventtiili laskuasentoon.

Ohjaamon kallistaminen (sähköisesti)

TÄRKEÄÄ!

Etuluukun sivulevyjen on oltava auki, kun ohjaamo kallistetaan.

  1. Kytke seisontajarru päälle.
  2. Aseta vaihdevipu vapaa-asentoon.
  3. Paina ohjaamon kallistuskytkintä.
  4. Poista kaikki irtoesineet ja raskaat laitteet ohjaamosta.
  5. Sulje ovet.
  6. Avaa ylempi etuluukku ja etuluukun sivuluukut. 
  7. Ota esille ohjaamon kallistuksen kauko-ohjain. Kauko-ohjain sijaitsee etuluukun alapuolella. Pidä kauko-ohjaimen takana olevaa aktivointipainiketta sekä kallistuspainiketta painettuina, kunnes ohjaamo on kallistunut eteenpäin omalla painollaan. Pidä edelleen aktivointi- ja kallistuspainikkeita painettuina, kunnes ohjaamo on saavuttanut täyden aukeamiskulmansa.  

Ohjaamon kallistuskytkin

HUOM!

Varmista, etteivät sivulliset pääse käsiksi ohjaamon kallistuksen kauko-ohjaimeen.

Kallista ohjaamo (sähköisesti)

VAROITUS!

Ohjaamoa laskettaessa on ruhjoutumisvammojen riski. Ohjaamo putoaa vapaasti laskemisen loppuvaiheessa.

Ohjaamon kallistuksen kauko-ohjain

  1. Sulje ovet.
  2. Ota esille ohjaamon kallistuksen kauko-ohjain. Kauko-ohjain sijaitsee etuluukun alapuolella. Pidä kauko-ohjaimen takana olevaa aktivointipainiketta, paina laskupainiketta ja pidä niitä painettuina, kunnes ohjaamo laskee takaisin ajoasennon liikevyöhykkeelle.
  3. Palauta ohjaamon kallistuskytkin.
  4. Sulje etuluukun sivulevyt ja ylempi etuluukku.

Pyörän vaihto

Varoitus!

Katkaise jännite ja kytke akkupääkatkaisin pois päältä ennen pyörien vaihtamista tukiakselille.

Älä koskaan mene pelkän tunkin varaan nostetun ajoneuvon alle. Maksimaalisen turvallisuuden varmistamiseksi nostetun ajoneuvon alla työskenneltäessä sekä alusta että liikkuvat akselijousitukset on varmistettava niin, etteivät ne pääse putoamaan. Tässä on olemassa suuri ruhjoutumisen aiheuttama henkilövahinkojen vaara.

Älä koskaan mene ilmajousitetun ajoneuvon alle, jos sitä ei ole täysin varmistettu putoamiselta ilmapalkeiden ilmanpaineen muuttumisen varalta. Tässä on olemassa suuri ruhjoutumisen aiheuttama henkilövahinkojen vaara.

Irrottaminen

1. Kytke hidas vaihde ja käännä avain lukittuun asentoon. Aseta ajoasentovalitsin vapaa-asentoon automaattivaihteistoissa.

Varoitus!

Ajoneuvon pyörät on kiilattava, ettei ajoneuvo pääse vierimään liikkeelle töiden aikana.

2. Kiilaa maahan jäävät pyörät etu- ja takapuolelta.

3. Vapauta vaihdettavan pyörän seisontajarru. Näin varmistetaan, että pyörä ja jarrurumpu ovat napaa vasten kiristyksen aikana.

4. Merkitse vanteen asento napaan.

5. Löysää pyöränmutterit, mutta älä irrota niitä.

6. Nosta ajoneuvo ylös.

 

Varoitus!

Varmista, että tunkki seisoo tukevasti tasaisella alustalla.

TÄRKEÄÄ!

Sijoita tunkki ainoastaan määritettyihin nostopisteisiin. Muut paikat voivat vahingoittaa ajoneuvoa vakavasti.

7. Irrota pyöränmutterit ja pyörä.

TÄRKEÄÄ!

Kiristä pyöränmutterit uudelleen 600 Nm:iin, kun olet ajanut n. 100 km.

Kiilaa maahan jäävät pyörät etu- ja takapuolelta.

Merkitse vanteen asento napaan.

Asennus

1. Puhdista kosketuspinnat huolellisesti. Käytä teräsharjaa.
Joissakin vanteissa on välirenkaat. Puhdista myös ne.

HUOM!

Paksut maalikerrokset, ruoste ja lika voivat saada pyöränmutterit löystymään ja vanteiden pultinreiät sekä jarrurumpu voivat tulla soikeiksi.

2. Puhdista pyöränpulttien kierteet.

HUOM!

Tarkista, että seisontajarru on hellitetty sillä akselilla, jonka kanssa tehdään töitä.

3. Asenna pyörä takaisin samassa asennossa, jossa se oli ennen irrotusta. Tarkista merkintä.

4. Kiristä pyöränmutterit oikeassa järjestyksessä kuvan mukaisesti. Älä koskaan käytä vauhtipyörätyyppistä mutteriväännintä. Mutterit on kiristettävä tiukkuuteen 600 Nm.

TÄRKEÄÄ!

Scania-korjaamo kiristää pyöränmutterit oikeaan tiukkuuteen. Liian suuri tai pieni tiukkuus voi saada pyörän irtoamaan tai jarrurummun muuttumaan soikeaksi.

5. Laske ajoneuvo alas ja poista pyöräkiilat.

Osat, jotka on puhdistettava ennen asennusta

Pyöränmutterien kiristysjärjestys

Scania suosittelee viivan vetämistä pyöränpulttien ja pyöränmutterien päälle, jolloin poikkeamat on helpompi havaita. Käytä merkintäkynää. Jos pyöränmutteri poikkeaa, irrota se kokonaan ja asenna uudelleen.

TÄRKEÄÄ!

Kiristä pyöränmutterit uudelleen 600 Nm:iin, kun olet ajanut n. 100 km.

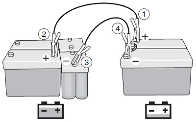
Käynnistys apukaapeleiden avulla

VAROITUS!

Älä seiso akkujen lähellä käynnistyskaapeleita käytettäessä. Akku voi räjähtää ja aiheuttaa laajoja vahinkoja.

Älä kytke akkuja yhteen ympäristössä, jossa on syttyviä kaasuja tai nesteitä, kuten bensiiniä ja etanolia.

Noudata ohjeita tarkasti henkilö- ja materiaalivahinkojen estämiseksi.

TÄRKEÄÄ!

Etuluukun sivulevyjen on oltava auki, kun ohjaamo kallistetaan.

Jos ajoneuvon akut ovat tyhjentyneet eikä niissä ole tarpeeksi virtaa moottorin käynnistämiseen, voit kytkeä ne muihin akkuihin.

Molemmissa järjestelmissä on oltava sama akkujännite eli 24 V.

Käytä paksuja käynnistyskaapeleita (vähintään 25 mm²) ja eristettyjä pihtejä.   

Valmistelutyöt:

  • Käynnistä sen ajoneuvon moottori, jossa on ladatut akut.

Toimi seuraavasti (vaihtoehto 1):

  1. Kytke käyttöakun plusnapaan (+) ajoneuvossa, jossa akkujännite on alhainen.
  2. Kytke akun plusnapaan (+) ajoneuvossa, jossa on täyteen ladattu akku.
  3. Kytke akun miinusnapaan (-) ajoneuvossa, jossa on täyteen ladattu akku.
  4. Kytke käyttöakun miinusnapaan (-) ajoneuvossa, jossa akkujännite on alhainen. Tämä viimeinen kaapeli voi aiheuttaa kipinöintiä kytkettäessä.
  5. Käynnistä sen ajoneuvon moottori, jossa on alhainen akkujännite. Älä seiso akkujen lähellä.
  6. Kun moottori on käynnistynyt, irrota ensin kaapeli akun miinusnavasta (-) ajoneuvossa, jossa akkujännite on alhainen, ja sen jälkeen muut kaapelit.
  7. Jos moottori ei käynnisty. Irrota kaapelit vaiheen 6 mukaisesti ja toista kaikki kohdat yhtä lukuun ottamatta. Kytke vaiheen 1 jälkeen akun plusnapaan (+) sisemmässä akussa ajoneuvossa, jossa akkujännite on alhainen.

Jatka seuraavasti, kun ajoneuvo antaa käynnistysapua:

  1. Kytke akun plusnapaan (+) ajoneuvossa, jossa
    akkujännite on alhainen.
  2. Kytke käyttöakun plusnapaan (+) ajoneuvossa, jossa on täyteen ladattu akku.
  3. Kytke käyttöakun miinusnapaan (-) ajoneuvossa, jossa on täyteen ladattu akku.
  4. Kytke akun miinusnapaan (-) ajoneuvossa, jossa akkujännite on alhainen. Tämä viimeinen kaapeli voi aiheuttaa kipinöintiä kytkettäessä.
  5. Käynnistä sen ajoneuvon moottori, jossa on alhainen akkujännite. Älä seiso akkujen lähellä.
  6. Kun moottori on käynnistynyt, irrota ensin kaapeli akun miinusnavasta (-) ajoneuvossa, jossa akkujännite on alhainen, ja sen jälkeen muut kaapelit.

HUOM!

Jos rungon suojamaali vahingoittuu, se on korjausmaalattava heti.

TÄRKEÄÄ!

Jos moottori on vaikea käynnistää:
Käynnistysmoottori lukitaan automaattisesti 35 sekunnin jälkeen. 
Käytä käynnistysmoottoria enintään 30 sekuntia. Jos moottori ei käynnisty ensimmäisellä yrityksellä: käännä virta-avain takaisin ajoasentoon ja odota noin 30 sekuntia, että käynnistysmoottori ehtii palautua.
Jos moottori ei käynnisty kahdella yrityksellä, käynnistysmoottorin on levättävä vähintään viisi minuuttia ennen kahta uutta käynnistysyritystä. Tutki, onko vika jossakin muualla, esim. polttoainejärjestelmässä. 

Päällirakenteen hydraulijärjestelmä

Hydraulijärjestelmän paineen säätäminen

Hydraulijärjestelmän paineeksi voidaan asettaa 150 tai 220 baaria kahdella kiinteällä asennolla. Tarkista järjestelmään yhdistettävän hydraulilaitteen tarvitsema paine ja aseta paine vääntimellä. Väännin naksahtaa ääriasentoihinsa, eikä sitä saa asettaa väliasentoon.

TÄRKEÄÄ!

Tarkista laitevaurioiden välttämiseksi aina, että järjestelmäpaine ei ylitä hydraulilaitteelle ilmoitettua maksimipainetta.

Aseta hydraulijärjestelmän paine vääntimellä.

EG-voimanotto

Vaihteistolla käytettävä voimanotto, EG, siirtää voiman vaihteistosta ulkoiselle laitteelle. Se on asennettu vaihteistoon ja sitä käytetään vaihteiston sivuakselilla eikä se normaalisti ole kytkettynä. Ennen kuin EG-voimanotto aktivoidaan, virta-avaimen on oltava ajoasennossa ja ilmanpaineen yli 5 bar.

Päällirakentaja voi valita muut sovellettavat vaatimukset.

TÄRKEÄÄ!

Käytä moottoria ajon jälkeen joutokäynnillä noin 1 minuutti ennen sen sammuttamista. Muuten turboahdin saattaa vaurioitua.

Ajoneuvo voidaan varustaa useilla voimanotoilla.

Voit ohjata moottorin kierroslukua EG-voimanotolle painamalla + tai - vakionopeussäätimestä.

TÄRKEÄÄ!

Kun käytät nopeaa EG-voimanottoa, ajoneuvon on oltava mahdollisimman suorassa. Se saa olla alamäessä ainoastaan lyhyitä käyttöaikoja.

Jakajavaihteella varustetuissa vaihteistoissa voimanotolle voidaan antaa 2 eri nopeutta samalla moottorin kierrosluvulla riippuen siitä, onko nopea vai hidas jakaja kytkettynä, kun vaihteisto on vapaa-asennossa.  

Jakajatilaa voidaan vaihtaa manuaalisesti siirtämällä lisäjarruvipua itseä kohti tai itsestä poispäin. 

Kun EG-voimanotto kytketään, kaikki vaihteiden vaihdot on estetty ajon aikana. Vaihdetta voidaan kuitenkin vaihtaa, kun ajoneuvo on paikallaan Jos ajoneuvolla lähdetään liikkeelle EG-voimanoton ollessa aktivoituna, mittaristossa näytetään viesti.

Päällekytkentä

TÄRKEÄÄ!

Kytke voimanotto päälle ja pois ainoastaan silloin, kun se on kuormittamaton. Vaihda vaihdetta ainoastaan silloin, kun voimanotto on kuormittamaton. Muussa tapauksessa vaihteisto voi vaurioitua.

  1. Varmista, että ajoneuvo on paikallaan.
  2. Paina kytkinpoljinta, jos moottori on käynnissä, tai kytke vaihde vapaalle.
  3. Paina virtakytkintä.
  4. Odota, kunnes voimanoton symboli tulee näkyviin näytölle.
  5. Vapauta kytkinpoljin hitaasti (manuaalinen vaihteisto), jos moottori on käynnissä.

HUOM!

Jos symbolia ei näytetä 10 sekunnin kuluttua, vapauta kytkinpoljin hitaasti niin, että hammaspyörät pääset oikeaan asentoon. Älä paina virtakytkintä uudelleen.

TÄRKEÄÄ!

Jos automaattivaihteistosta kuuluu epänormaalia ääntä, paina virtakytkintä välittömästi. Voimanotto kytketään silloin automaattisesti pois päältä.

HUOM!

Jos voimanoton symboli (automaattivaihteisto) ei ole syttynyt mittaristoon 20–30 sekunnin kuluessa, toista vaiheet 3 ja 4.

Poiskytkentä

  1. Paina kytkinpoljinta, jos moottori on käynnissä, tai kytke vaihde vapaalle.
  2. Paina voimanoton virtakytkintä.
  3. Odota, kunnes voimanoton symboli sammuu.
  4. Vapauta kytkinpoljin hitaasti (manuaalinen vaihteisto), jos moottori on käynnissä.

EG-voimanoton kytkin

EK-voimanotto

Voimanotto on ulkoinen akselitappi, joka siirtää voiman moottorista ulkoisille lisälaitteille. EK-voimanotto on asennettu moottorin ja vaihteiston väliin, ja sitä käytetään moottorilla. Normaalisti voimanotto ei ole kytkettynä.

Voit ohjata moottorin kierroslukua EK-voimanotolle painamalla + tai - vakionopeussäätimestä.

TÄRKEÄÄ!

Moottorin on oltava sammutettuna ennen voimanoton kytkemistä.

Päällekytkentä

  1. Sammuta moottori.
  2. Aseta vaihde vapaalle.
  3. Käännä avain ajoasentoon.
  4. Aktivoi kytkin.
  5. Käynnistä moottori.

Poiskytkentä

  1. Varmista, ettei voimanotto ole kuormitettuna.
  2. Passivoi kytkin.

EK-voimanoton kytkin

ED-voimanotto

Voimanotto siirtää voiman moottorista ulkoisille lisälaitteille. ED-voimanottoa käytetään suoraan moottorin jakopyörästöllä, ja se pyörii moottorin käynnistämisestä lähtien. Kytkin aktivoi hydrauliikan ja antaa paineen järjestelmään.

Päällirakentaja voi valita muut sovellettavat vaatimukset.

Voit ohjata moottorin kierroslukua ED-voimanotolle painamalla + tai - vakionopeussäätimestä.

Päällekytkentä

  • Aktivoi kytkin.

Poiskytkentä

  • Passivoi kytkin.

ED-voimanoton kytkin

EXT-kytkin

EXT-kytkin on turvallisuustoiminto, joka mahdollistaa ajoneuvon joidenkin toimintojen ohjaamisen ajoneuvon ulkopuolelta. Ohjattavat toiminnot riippuvat ajoneuvon laitteista ja logiikasta, joka on luotu ajoneuvon päällirakennejärjestelmään. 

Kun painetaan EXT-kytkintä, EXT-symboli syttyy mittaristossa.

EXT-kytkin. Aktivoi kytkin, kun haluat ohjata ajoneuvon toimintoja ajoneuvon ulkopuolelta.