Extractos del Manual del conductor

En las siguientes pestañas encontrará fragmentos del manual del conductor del vehículo que pueden ser de ayuda para el carrocero. 

NOTA: La información puede variar en función de la especificación del vehículo.

El Manual del conductor también se encuentra disponible para dispositivos Android e iOS.

Haga clic en el siguiente enlace de su dispositivo para descargar Manual del conductor

Asistencia en arranques en pendiente

¡IMPORTANTE!

No utilice la asistencia en arranques en pendiente en carreteras con condiciones invernales, debido al riesgo de que el vehículo patine con las ruedas bloqueadas.

Utilice la asistencia en arranques en pendiente para facilitar los arranques en cuestas.

Para utilizar la asistencia en arranques en pendiente:

  • Conecte el encendido del vehículo
  • Pulse el interruptor, que se ilumina cuando se activa la asistencia en arranques en pendiente.
  • Ahora, cuando pise el pedal del freno oirá un clic y, a partir de ahí, se mantendrá la presión de los frenos para que pueda soltar el pedal. Cuanto más fuerte pise el pedal del freno, mayor será la asistencia en arranques en pendiente aplicada.

La asistencia en arranques en pendiente está disponible hasta que desactive la función con el interruptor. Si esta función está activada al apagar el vehículo, la asistencia en arranques en pendiente se activará la próxima vez que lo arranque.

NOTA:

La asistencia en arranques en pendiente no se activa si la presión de los frenos es demasiado baja o si el ABS estaba activo al finalizar la aplicación del freno.

Interruptor de asistencia en arranques en pendiente

¡AVISO!

Aplique siempre el freno de estacionamiento antes de abandonar el puesto del conductor.

La asistencia en arranques en pendiente se libera después de unos segundos si suelta los pedales por completo y el vehículo puede empezar a moverse. Se oye una señal de aviso y aparece un texto de aviso en la pantalla, antes de que se libere la asistencia en arranques en pendiente.

La asistencia en arranques en pendiente se libera directamente cuando selecciona una marcha, suelta los frenos y acelera ligeramente.

Función automática de frenado de emergencia

El AEB es un sistema avanzado de frenado de emergencia que, mediante una cámara de visión frontal y un sensor de distancia, puede reducir las consecuencias de accidentes con cualquier vehículo que vaya por delante.

¡AVISO!

El AEB es solo una ayuda. El AEB no se ajusta a las condiciones de conducción ni al clima. El conductor es siempre responsable de conducir el vehículo de manera segura.
Si se manipula la señal de velocidad del vehículo, el AEB podría activarse o funcionar incorrectamente. 

NOTA:

La cámara de visión frontal debe calibrarse después de sustituir el parabrisas.

Aviso de colisión

Cuando el AEB detecta un riesgo de colisión, el sistema se activa en tres pasos:

  1. En el cuadro de instrumentos, aparece un aviso de color rojo con una señal acústica.
  2. Si el conductor no reacciona y continúa el riesgo, el AEB frenará ligeramente el vehículo.
  3. Si no se realiza ninguna respuesta adicional y el riesgo persiste, el AEB frenará el vehículo con toda la fuerza.

El conductor siempre puede cancelar el aviso o el frenado, del siguiente modo:

  • Pulsando el interruptor del AEB en el salpicadero
  • Pisando de forma clara y rápida el pedal del acelerador
  • Pisando el pedal del acelerador hasta la posición de kickdown

En una fase temprana, el conductor también puede cancelar el aviso:

  • Pisando el pedal del freno
  • Activando los intermitentes

El conductor siempre puede controlar la aplicación del freno pisando el pedal del freno. Esto cancela el aviso y el frenado automático. Cuanto más crítica sea la situación, con más fuerza debe pisarse el pedal del freno.

Si el programador de velocidad adaptativo está activado, puede proporcionar un
aviso de colisión e intentar mitigar la situación antes del aviso del AEB.

Después de que el vehículo se frene con toda la fuerza y esté parado, los frenos lo mantendrán detenido durante unos segundos para evitar que se mueva. Los frenos se sueltan si el conductor pisa el pedal del freno o del acelerador.

Símbolo de riesgo de colisión

Activación y disponibilidad

El AEB se activa automáticamente cuando se conecta la tensión. La lámpara del interruptor se ilumina en verde.

El AEB se puede desactivar utilizando el interruptor. La lámpara del interruptor se ilumina en amarillo. El interruptor está accionado por muelle y el mismo interruptor restablece el AEB.

El AEB está disponible cuando:

  • La velocidad del vehículo sobrepasa los 15 km/h

El AEB puede limitarse o desactivarse cuando:

  • El sensor de distancia está bloqueado o es defectuoso
  • La cámara está bloqueada o es defectuosa
  • Hay un fallo en el sistema de frenos del vehículo o del remolque
  • La suspensión neumática del vehículo está alejada de la
    posición de conducción normal
  • El vehículo se conduce en condiciones de oscuridad

Interruptor del AEB, función avanzada de frenado de emergencia

Cuando el AEB está limitado, aparece un símbolo amarillo junto con un mensaje en el cuadro de instrumentos. 

Pueden aparecer los siguientes mensajes:

Anomalía del sistema

  • El AEB se desactiva debido a un fallo del sensor de distancia.

Funcionalidad reducida

  • El AEB está limitado y aún está parcialmente activo. El AEB puede que no frene o avise de una colisión a tiempo. 

Símbolo de AEB limitado

Cuando se bloquea el sensor de distancia o la cámara, por ejemplo, con suciedad, nieve o hielo, se muestra el símbolo respectivo junto con un mensaje en el cuadro de instrumentos.

Si no se corrige el problema, la función del AEB se desactivará o se limitará.

Si la cámara está bloqueada, puede ser suficiente con activar los limpiaparabrisas. Asegúrese de mantenerla limpia de suciedad, hielo y nieve.

  1. Sensor de distancia bloqueado
  2. Cámara bloqueada

¡AVISO!

El AEB solamente sirve de ayuda y, en determinadas condiciones de tráfico, puede tener dificultades para identificar los vehículos o localizarlos correctamente. El AEB puede no detectar un riesgo de colisión o activarse sin que se produzca ningún riesgo de colisión.

Diferentes condiciones de tráfico

Al entrar o salir de las curvas puede que al AEB le resulte difícil identificar el tramo de carretera que se aproxima. Por lo tanto, puede que no avise de los vehículos que hay en la carretera o que avise incorrectamente sobre estos.

Curvas

En las salidas o vías de acceso, y cuando los vehículos se mueven por el arcén, puede que al AEB le resulte difícil identificar los vehículos que se encuentran por delante.

En las salidas o vías de escape y en el arcén

El AEB no puede identificar un vehículo que se cambia a su carril justo delante de su vehículo hasta que entre en la zona de identificación. 

Cambio de carril

Instrumentos de información del vehículo

Cuadro de instrumentos

  1. Velocímetro
  2. Intermitente
  3. Mostrar
  4. Símbolos indicadores y símbolos de aviso generales
  5. Cuentarrevoluciones
  6. Indicador de nivel de combustible
  7. Indicadores y símbolos de aviso
  8. Indicador de temperatura del refrigerante del motor
  9. La pantalla derecha muestra el nivel de reductor, la temperatura exterior y el reloj.

Cuentarrevoluciones

El cuentarrevoluciones muestra el régimen de giro del motor en revoluciones por minuto, rpm.

El medidor tiene 4 campos:

  • Blanco, 0-2000 rpm y 2200-2400 rpm.
  • Azul, 2000-2400 rpm. Aquí, el freno auxiliar del motor es
    más potente.
  • Rojo, por encima de 2400 rpm. Cuando el régimen del motor está en el campo rojo, existe el riesgo de que se produzcan daños al motor.

Cuadro de instrumentos

Pantalla y símbolos

Encontrará más información sobre la pantalla, los símbolos generales de aviso y de indicación, y los símbolos especiales de la carrocería, en los siguientes documentos: 

Basculamiento de la cabina

¡AVISO!

La válvula de la bomba debe estar en la posición de descenso mientras se circula. De lo contrario, el sistema hidráulico puede bombear la cabina y producir daños.

Antes del basculamiento de la cabina debe apagar el motor, aplicar el freno de estacionamiento y colocar la palanca de cambios en punto muerto.

No trabaje debajo de la cabina cuando esté en la posición intermedia. Bascule siempre la cabina por completo.

No se ponga delante ni detrás de la cabina mientras se bascula.

El vehículo debe mantenerse nivelado durante el basculamiento de la cabina. No bascule nunca la cabina si el vehículo se encuentra en una pendiente con una inclinación superior al 10 por ciento.

Dispositivo de basculamiento de la cabina

Cuando la cabina desciende correctamente, se bloquea mediante 2 cerraduras mecánicas que se abren hidráulicamente durante el basculamiento.   

Basculamiento de la cabina (palanca)

¡IMPORTANTE!

Los revestimientos laterales de la calandra deben abrirse durante el basculamiento de la cabina.

  1. Aplique el freno de estacionamiento.
  2. Ponga la palanca de cambios en punto muerto.
  3. Retire todos los objetos sueltos y el equipo pesado de la cabina.
  4. Cierre las puertas.
  5. Coloque la válvula de bomba en la posición de basculamiento. Utilice el adaptador o la palanca.
  6. Fije el adaptador en el pasador de la bomba. Ensamble la palanca con el adaptador.
  7. Al bombear con la palanca, la cerradura de la cabina se abre automáticamente.
  8. Bombee hasta que la cabina bascule hacia adelante por su propio peso. Continúe bombeando hasta que se sienta una contrapresión en la palanca de la bomba y la cabina haya alcanzado su máximo ángulo de apertura.
  1. Bomba de basculamiento de la cabina
  2. Válvula de bomba

Ajuste de la válvula de bomba para bascular o bajar la cabina. La ilustración superior muestra la posición de la válvula durante el basculamiento. La ilustración inferior muestra la posición de la válvula durante el descenso. Utilice la palanca o el adaptador para colocar la válvula de bomba en la posición correcta.

Bascular la cabina a su posición inicial (palanca)

¡AVISO!

Riesgo de lesiones por aplastamiento cuando se baja la cabina. La cabina cae libremente durante la última etapa del descenso hasta su posición inicial.

  1. Cierre las puertas.
  2. Coloque la válvula de bomba en la posición de basculamiento de la cabina a su posición inicial.
  3. Bombee nuevamente la cabina con la palanca hasta que esta
    vuelva a la zona de movimiento de la posición de conducción.

Deje la válvula de bomba en la posición de descenso.

Basculamiento de la cabina (electrónicamente)

¡IMPORTANTE!

Los revestimientos laterales de la calandra deben abrirse durante el basculamiento de la cabina.

  1. Aplique el freno de estacionamiento.
  2. Ponga la palanca de cambios en punto muerto.
  3. Pulse el interruptor de basculamiento de la cabina.
  4. Retire todos los objetos sueltos y el equipo pesado de la cabina.
  5. Cierre las puertas.
  6. Abra la calandra superior y los revestimientos laterales de la calandra. 
  7. Retire el mando a distancia para el basculamiento de la cabina. El mando a distancia se encuentra debajo de la calandra. Mantenga pulsado el botón de activación que hay en la parte posterior del mando a distancia, presione el botón de basculamiento y manténgalo pulsado hasta que la cabina bascule hacia adelante por su propio peso. Continúe pulsando los botones de activación y basculamiento hasta que la cabina haya alcanzado su máximo ángulo de apertura.  

Interruptor de basculamiento de cabina

NOTA:

Asegúrese de que ninguna persona no autorizada tenga acceso al mando a distancia para el basculamiento de la cabina.

Bascular la cabina a su posición inicial (electrónicamente)

¡AVISO!

Riesgo de lesiones por aplastamiento cuando se baja la cabina. La cabina cae libremente durante la última etapa del descenso hasta su posición inicial.

Mando a distancia para el basculamiento de la cabina

  1. Cierre las puertas.
  2. Retire el mando a distancia para el basculamiento de la cabina. El mando a distancia se encuentra debajo de la calandra. Mantenga pulsado el botón de activación que hay en la parte posterior del mando a distancia, presione el botón de descenso y manténgalo pulsado hasta que la cabina caiga hacia atrás hasta la zona de movimiento de la posición de conducción.
  3. Restablezca el interruptor de basculamiento de la cabina.
  4. Cierre los revestimientos laterales de la calandra y la calandra superior.

Cambio de rueda

¡Aviso!

Desconecte la tensión y el interruptor de batería antes de cambiar las ruedas del eje portador.

No se coloque nunca debajo de un vehículo levantado únicamente mediante un gato. Para lograr la máxima seguridad al trabajar debajo de un vehículo elevado, tanto el chasis como las suspensiones del eje deben estar aseguradas para que no caigan. Existe un gran riesgo de sufrir daños personales por aplastamiento.

Nunca pase por debajo de un vehículo suspendido neumáticamente que no esté completamente sujeto para que no caiga en caso de que haya un cambio de presión en los fuelles neumáticos. Existe un gran riesgo de sufrir daños personales por aplastamiento.

Desmontaje

1. Ponga una marcha baja y gire la llave hasta la posición de bloqueo. En el caso de una caja de cambios automática, coloque el selector de modo de conducción en punto muerto.

¡Aviso!

Calce las ruedas de los vehículos para evitar que el vehículo se mueva durante los trabajos.

2. Calce las ruedas delanteras y traseras que vayan a estar apoyadas en el suelo.

3. Suelte el freno de estacionamiento de la rueda que desea cambiar para asegurarse de que la rueda y el tambor de freno descansen sobre el cubo al apretarlos.

4. Marque la posición de la llanta en el cubo.

5. Afloje las tuercas sin quitarlas.

6. Eleve el vehículo.

 

¡Aviso!

Asegúrese de que el gato esté firmemente apoyado sobre el suelo.

¡IMPORTANTE!

Coloque el gato solo en los puntos de elevación especificados. Colocarlo en otra posición puede provocar daños importantes en el vehículo.

7. Retire las tuercas y la rueda.

¡IMPORTANTE!

Vuelva a apretar las tuercas de las ruedas a 600 Nm después de conducir aprox. 100 km.

Calce las ruedas delanteras y traseras que vayan a estar apoyadas en el suelo.

Marque la posición de la llanta contra el cubo.

Montaje

1. Limpie a conciencia las superficies de contacto. Utilice un cepillo de alambres.
En algunas llantas hay anillos separadores, límpielos también.

NOTA:

La acumulación de pintura, óxido y suciedad puede causar que las tuercas de las ruedas se aflojen y que los orificios de los tornillos de las llantas y el tambor de freno queden ovalados.

2. Limpie las roscas de los tornillos de las ruedas.

NOTA:

Compruebe que el freno de estacionamiento del eje sobre el que esté trabajando esté liberado.

3. Vuelva a colocar la rueda en la misma posición en la que estaba antes de quitarla. Compruebe la marca.

4. Apriete las tuercas de las ruedas siguiendo la secuencia de apriete correcta, tal y como se muestra en la ilustración. Nunca utilice un aprietatuercas tipo volante. Las tuercas se deben apretar a un par de 600 Nm.

¡IMPORTANTE!

Un taller Scania debe apretar las tuercas de las ruedas con el par correcto. Un par de torsión demasiado elevado o bajo podría causar que la rueda se afloje o que el tambor de freno quede ovalado.

5. Baje el vehículo y retire los calzos.

Limpie las piezas antes de colocarlas

Secuencia de apriete de las tuercas de las ruedas

Scania recomienda dibujar una línea sobre los clavos y las tuercas de las ruedas para detectar más fácilmente cualquier posible desviación. Utilice un rotulador permanente. Si una tuerca se desvía, retírela totalmente y vuelva a colocarla.

¡IMPORTANTE!

Asegúrese de que las tuercas estén bien ajustadas a 600 Nm después de conducir 100 km aproximadamente.

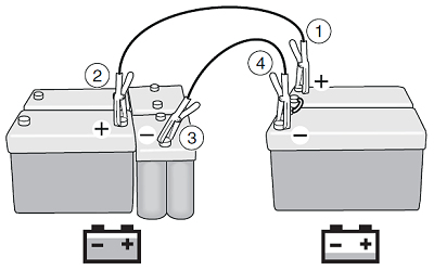
Arranque de emergencia

¡AVISO!

No permanezca cerca de las baterías cuando utilice los cables de arranque. Una batería puede explotar y causar serios daños como consecuencia.

No conecte juntas las baterías en un entorno donde haya gases o fluidos inflamables, como la gasolina y el etanol.

Siga las instrucciones de manera precisa para evitar lesiones personales o daños materiales.

¡IMPORTANTE!

Los revestimientos laterales de la calandra deben abrirse durante el basculamiento de la cabina.

Si las baterías del vehículo están descargadas y no tienen suficiente corriente para arrancar el motor, puede conectarlas a otras baterías.

Ambos sistemas deben tener la misma tensión de la batería, es decir, 24 V.

Utilice cables de arranque gruesos (de al menos 25 mm²) con abrazaderas aisladas.   

Preinstalación:

  • Arranque el motor en el vehículo que tiene las baterías cargadas.

Proceda de la siguiente manera (opción 1):

  1. Conecte al polo positivo de la batería para consumidores (+) en el vehículo con la batería con poca carga.
  2. Conecte al polo positivo de la batería (+) en el vehículo con la batería completamente cargada.
  3. Conecte al polo negativo de la batería (-) en el vehículo con la batería completamente cargada.
  4. Conecte al polo negativo de la batería para consumidores (-) en el vehículo con la batería con poca carga. Este cable final puede generar una chispa cuando se conecta.
  5. Arranque el motor en el vehículo con la batería con poca carga. No permanezca cerca de las baterías.
  6. Cuando el motor haya arrancado, primero desconecte el cable del polo negativo de la batería (-) en el vehículo con la batería con poca carga y después los demás cables.
  7. Si el motor no arranca. Desconecte los cables según el paso 6 y repita todos los puntos, pero con una excepción. En el paso 1, conecte al polo positivo (+) de la batería interna del vehículo con la batería con poca carga.

Proceda de la siguiente manera cuando el vehículo proporcione asistencia al arranque:

  1. Conecte al polo positivo de la batería (+) en el vehículo con la
    batería con poca carga.
  2. Conecte al polo positivo de la batería para consumidores (+) en el vehículo con la batería completamente cargada.
  3. Conecte al polo negativo de la batería para consumidores (-) en el vehículo con la batería completamente cargada.
  4. Conecte al polo negativo de la batería (+) en el vehículo con la batería con poca carga. Este cable final puede generar una chispa cuando se conecta.
  5. Arranque el motor en el vehículo con la batería con poca carga. No permanezca cerca de las baterías.
  6. Cuando el motor haya arrancado, primero desconecte el cable del polo negativo de la batería (-) en el vehículo con la batería con poca carga y después los demás cables.

NOTA:

Si se daña la pintura de protección del bastidor, debe arreglarse inmediatamente.

¡IMPORTANTE!

Consejos para cuando resulta difícil arrancar el motor:
El motor de arranque se bloquea automáticamente después de 35 segundos. 
Haga funcionar el motor de arranque durante un máximo de 30 segundos. Si el motor no arranca en el primer intento, gire la llave de encendido de vuelta a la posición de radio y espere unos 30 segundos para que el motor de arranque se recupere.
Si el motor no arranca después de 2 intentos, el motor de arranque debe descansar al menos 5 minutos antes de realizar 2 nuevos intentos. Compruebe si hay algún otro fallo, por ejemplo, en el sistema de combustible. 

Kit hidráulico

Ajuste de la presión del sistema hidráulico

La presión del sistema hidráulico puede ajustarse a 150 o 220 bares, con 2 posiciones fijas. Compruebe qué presión se necesita para que el equipo hidráulico se conecte al sistema y ajuste la presión con el mando. El mando giratorio hace clic en las posiciones finales y no se debe establecer en una posición intermedia.

¡IMPORTANTE!

Compruebe siempre que la presión del sistema no supere la presión máxima indicada para el equipo hidráulico antes de realizar la conexión para evitar daños en el equipo.

Establezca la presión en el sistema hidráulico utilizando el mando giratorio.

Toma de fuerza EG

La caja de cambios accionada por toma de fuerza EG, transfiere la tensión desde la caja de cambios hasta el equipo externo. Va equipada en la caja de cambios, se acciona mediante el contraeje de la caja de cambios y normalmente no está acoplada. Antes de activar la toma de fuerza EG, la llave de encendido debe estar en la posición de conducción y la presión de aire por encima de 5 bares.

El carrocero puede seleccionar que se apliquen otros requisitos.

¡IMPORTANTE!

Después de la conducción, haga funcionar el motor al ralentí durante aproximadamente 1 minuto antes de apagarlo. De lo contrario, el turbocompresor podría sufrir daños.

El vehículo puede estar equipado con varias tomas de fuerza.

Puede controlar el régimen del motor a la toma de fuerza EG, pulsando + o - en el interruptor del programador de velocidad.

¡IMPORTANTE!

Cuando utilice la toma de fuerza EG de alta velocidad, el vehículo debe estar lo más nivelado posible. Puede permanecer sobre una pendiente descendente solo durante cortos períodos de tiempo.

Para las cajas de cambios con mecanismo de split, se pueden proporcionar 2 velocidades diferentes a la toma de fuerza con el mismo régimen del motor, en función de si se activa un split alto o bajo, cuando la caja de cambios está en punto muerto.  

El modo de split se cambia manualmente moviendo la palanca del freno auxiliar hacia dentro o hacia fuera. 

Cuando se activa la toma de fuerza EG, todo el cambio de marchas se bloquea durante la conducción. Sin embargo, puede cambiar la marcha mientras está parado. Si el vehículo se conduce con una toma de fuerza EG activada, aparece un mensaje en el cuadro de instrumentos.

Activación

¡IMPORTANTE!

Active y desactive la toma de fuerza únicamente cuando esté descargada. Cambie de marcha únicamente cuando la toma de fuerza esté descargada, o de lo contrario la caja de cambios podría dañarse.

  1. Asegúrese de que el vehículo esté parado.
  2. Pise el pedal del embrague, si el motor está en marcha, o engrane el punto muerto.
  3. Pulse el interruptor.
  4. Espere hasta que aparezca el símbolo de la toma de fuerza en el cuadro de instrumentos.
  5. Suelte lentamente el embrague (caja de cambios manual), si el motor está en marcha.

NOTA:

Si no aparece ningún símbolo después de 10 segundos, suelte lentamente el embrague para que las marchas queden en la posición correcta. No vuelva a pulsar el interruptor.

¡IMPORTANTE!

Si hay ruido extraño en la caja de cambios automática, pulse inmediatamente el interruptor. La toma de fuerza se desconecta automáticamente.

NOTA:

Si el símbolo de toma de fuerza (caja de cambios automática) no se activa en el cuadro de instrumentos después de 20 o 30 segundos, repita los pasos 3 y 4.

Desactivación

  1. Pise el pedal del embrague, si el motor está en marcha, o engrane el punto muerto.
  2. Pulse el interruptor de la toma de fuerza.
  3. Espere hasta que se apague el símbolo de la toma de fuerza.
  4. Suelte lentamente el embrague (caja de cambios manual), si el motor está en marcha.

Interruptor de toma de fuerza EG

Toma de fuerza EK

La toma de fuerza es un muñón de eje externo para transferir la tensión desde el motor hasta los accesorios externos. La toma de fuerza EK va equipada entre el motor y la caja de cambios y se acciona mediante el motor. Normalmente, la toma de fuerza no está activada.

Puede controlar el régimen del motor a la toma de fuerza EK pulsando + o - en el interruptor del programador de velocidad.

¡IMPORTANTE!

El motor debe apagarse antes de conectar la toma de fuerza.

Activación

  1. Pare el motor.
  2. Coloque la marcha en punto muerto.
  3. Coloque la llave en la posición de conducción.
  4. Active el interruptor.
  5. Arranque el motor.

Desactivación

  1. Asegúrese de que la toma de fuerza no esté cargada.
  2. Desactive el interruptor.

EK interruptor de la toma de fuerza EK

Toma de fuerza ED

La toma de fuerza transfiere la tensión desde el motor hasta los accesorios externos. La toma de fuerza ED se acciona directamente con la distribución y gira cuando el motor se ha arrancado. El interruptor activa el sistema hidráulico y proporciona presión al sistema.

El carrocero puede seleccionar que se apliquen otros requisitos.

Puede controlar el régimen del motor a la toma de fuerza ED pulsando + o - en el interruptor del programador de velocidad.

Activación

  • Active el interruptor.

Desactivación

  • Desactive el interruptor.

Interruptor de la toma de fuerza ED

Interruptor EXT

El interruptor EXT es una función de seguridad que permite controlar algunas de las funciones del vehículo desde el exterior. Las funciones que puede controlar dependen del equipo del vehículo y de las lógicas que se hayan creado en el sistema de carrocería del vehículo. 

Cuando pulsa el interruptor EXT, el símbolo EXT se ilumina en el cuadro de instrumentos.

El interruptor EXT. Active el interruptor cuando necesite controlar algunas de las funciones del vehículo desde el exterior.