Extracts from the Driver’s Manual

On the tabs below you can find  extracts from the vehicle’s driver’s manual that may be of help to the bodybuilder. 

NOTE! The information may differ depending on the vehicle’s specification.

The driver manual is also available for Android and iOS devices.

Click on the link below on your device to download the driver's manual

Hill Hold

IMPORTANT!

Do not use hill hold if the road conditions are wintry due to the risk of  the vehicle skidding with locked wheels.

Use hill hold to facilitate hill starts.

To use hill hold:

  • Switch on the power in the vehicle
  • Press the switch, which is lit when hill hold is activated.
  • Now, when you depress the brake pedal a click is heard, thereafter the brake pressure is maintained so that you can release the brake pedal. The harder you depress the brake pedal the harder hill hold is applied.

Hill hold is available until you switch off the function by using the switch. If the function was activated when shutting down the vehicle, hill hold will be activated the next time the vehicle is started.

NOTE!

Hill hold is not activated if the brake pressure is too low or if ABS was active at the end of a brake application.

Hill hold switch

WARNING!

Always apply the parking brake before leaving the  driver area.

The hill hold releases after a few seconds if you release the pedals completely and the vehicle can start to move. A warning signal is heard and a warning text is shown in the display before the hill hold releases.

The hill hold releases directly when you engage a gear, release the brakes and accelerate lightly.

Automatic Emergency Braking

AEB is an advanced emergency braking system which, by using a forward looking camera and a distance sensor, can reduce the consequences of accidents with any vehicles in front.

WARNING!

AEB is only an aid. AEB does not adjust itself to driving conditions or weather.  The driver is always responsible for driving the vehicle in a safe way.
Manipulating the vehicle’s speed signal may cause the AEB to malfunction or be activated incorrectly. 

NOTE!

The forward-looking camera must be calibrated after the windscreen has been replaced.

Collision warning

When AEB detects a collision risk, the system is activated in three steps:

  1. A red warning with acoustic signal is displayed in the instrument cluster.
  2. If the driver does not react and the risk remains, AEB will lightly brake the vehicle.
  3. If no additional response is made and the risk still remains, AEB will brake the vehicle with full force.

The driver can always cancel the warning or braking by:

  • Pressing the AEB switch in the instrument panel
  • Distinctly and quickly depressing the accelerator pedal
  • Depressing the accelerator pedal to the kickdown position

At an early stage, the driver can also cancel the warning by:

  • Depressing the brake pedal
  • Activating the direction indicators

The driver can always take over the control of the brake application by depressing the brake pedal. This cancels the warning and the automatic braking. The more critical the situation, the harder the brake pedal must be depressed.

If the adaptive cruise control is activated, it can give a
collision warning and try to alleviate the situation before AEB warns.

After the vehicle has braked with full force and is stationary, the brakes will hold the vehicle for a few seconds to prevent it from moving. The brakes are released if the driver depresses the brake or accelerator pedal.

Symbol for collision risk

Activation and availability

AEB is activated automatically when the voltage is switched on. The lamp in the switch lights up green.

AEB can be deactivated by using the switch. The lamp in the switch lights up yellow. The switch is spring-loaded and the same switch resets AEB.

AEB is available when:

  • The vehicle speed exceeds 15 km/h

AEB can be limited or deactivated when:

  • The distance sensor is blocked or defective
  • The camera is blocked or defective
  • There is fault in the vehicle’s or trailer’s brake system
  • The vehicle’s air suspension is set far out of the normal
    drive position
  • The vehicle is driven in darkness

Switch for AEB, advanced emergency braking

When AEB is limited, a yellow symbol is displayed together with a message in the instrument cluster. 

The following messages may be displayed:

System malfunction

  • AEB is deactivated due to a fault in the distance sensor.

Reduced functionality

  • AEB is limited and is still partially active. AEB might not brake or warn for a collision in time. 

Symbol for limited AEB

When the distance sensor or camera is blocked, for example by dirt, snow or ice, the respective symbol is displayed together with a message in the instrument cluster.

If the problem is not rectified, the AEB function will be deactivated or become limited.

If the camera is blocked, it may be enough to activate the windscreen wipers. Make sure to keep it clean from dirt, snow and ice.

  1. Blocked Distance Sensor
  2. Blocked Camera

WARNING!

AEB is only an aid and may in certain traffic conditions have trouble identifying vehicles or locating them correctly. AEB can miss a collision risk or be activated without any risk of collision being present.

Different traffic conditions

On the way into or out of curves it may be difficult for AEB to identify the approaching road. AEB can therefore miss to warn for vehicles on the road or incorrectly warn for vehicles on the roadside.

Curves

At exits or slip roads and when vehicles are moving on the hard shoulder, it may be difficult for AEB to identify vehicles ahead.

At exits or slip roads, and on the hard shoulder

A vehicle that changes to your lane just in front of your vehicle cannot be identified by AEB until it gets into the identification zone. 

Lane change

Instruments for vehicle information

Instrument cluster

  1. Speedometer
  2. Direction indicator
  3. Display
  4. General warning symbols and indicator symbols
  5. Tachometer
  6. Fuel level gauge
  7. Indicator lamps and warning symbols
  8. Engine coolant temperature gauge
  9. Display right, shows reductant level, outdoor temperature and clock.

Tachometer

The tachometer displays the engine’s rotational speed in revs per minute, rpm.

The gauge has 4 fields:

  • White, 0-2,000 rpm and 2,200-2,400 rpm.
  • Blue, 2,000-2,400 rpm. Here, the engine’s auxiliary brake is
    most powerful.
  • Red, above 2,400 rpm. When the engine speed is in the red field, there is a risk of damage to the engine.

Instrument Cluster

Display and symbols

More information on the display, general warning and indication symbols and special bodywork symbols are found in the following documents: 

Cab Tilting

WARNING!

The pump valve must be in the lowering position when driving. Otherwise the hydraulics may pump up the cab and cause damage.

Before cab tilting, you must switch off the engine, apply the parking brake and put the gear lever in neutral position.

Do not work under the cab when it is in the intermediate position. Always tilt the cab completely.

Do not go in front of or behind the cab during tilting.

The vehicle should be standing level during cab tilting. Never tilt the cab if the vehicle is standing on a hill with an incline greater than 10 per cent.

Cab tilt device

When the cab is lowered correctly it is locked by 2 mechanical locks that are opened hydraulically when tilting.   

Tilting the cab (handle bar)

IMPORTANT!

The side panels of the front grille panel must be open when tilting the cab.

  1. Apply the parking brake.
  2. Put the gear lever in the neutral position.
  3. Remove all loose material objects and heavy equipment from the cab.
  4. Close the doors.
  5. Set the pump valve to tilt position. Use the adapter or handle bar.
  6. Fit the adapter on the pump pin. Assemble the handle bar with the adapter.
  7. Pump using the handle bar and the cab lock will open automatically.
  8. Pump until the cab tilts forward by its own weight. Continue pumping until a counter-pressure is felt in the pump lever and the cab has reached its fully open angle.
  1. Cab tilt pump
  2. Pump valve

Setting  the  pump valve  for  tilting or  lowering the cab. The upper illustration shows the valve position when tilting.   The lower  illustration  shows the valve position when lowering. Use the handle bar or  adapter  to  set  the  pump valve in the correct position.

Tilt back the cab (handle bar)

WARNING!

Risk of crush injuries when the cab is lowered. The cab falls freely during the last stage of lowering the cab back into position.

  1. Close the doors.
  2. Put the pump valve into the position to tilt back the cab.
  3. Pump the cab back with the handle bar until the cab falls
    back to the driving position’s movement zone.

Leave the pump valve in the lowering position.

Tilting the cab (electronically)

IMPORTANT!

The side panels of the front grille panel must be open when tilting the cab.

  1. Apply the parking brake.
  2. Put the gear lever in the neutral position.
  3. Press the cab tilting switch.
  4. Remove all loose material objects and heavy equipment from the cab.
  5. Close the doors.
  6. Open the  upper  front grille panel  and the  side panels  of the front grille panel. 
  7. Take out the remote control for cab tilting. The remote control is located under the front grille panel. Hold in the activation button on the back of the remote control, press the tilting button and keep these depressed until the cab has tilted forward by its own weight. Continue holding the activation and tilting buttons depressed until the cab has reached its fully open angle.  

Cab tilting switch

NOTE!

Make sure that no unauthorised person has access to the remote control for cab tilting.

Tilt back the cab (electronically)

WARNING!

Risk of crush injuries when the cab is lowered. The cab falls freely during the last stage of lowering the cab back into position.

Remote control for cab tilting

  1. Close the doors.
  2. Take out the remote control for cab tilting. The remote control is located under the front grille panel. Hold in the activation button on the back of the remote control, press the lowering button and keep these depressed until the cab falls back to the driving position’s movement zone.
  3. Reset the cab tilting switch.
  4. Close the front grille panel’s side panels and the upper front grille panel.

Wheel change

Warning!

Switch off the voltage and switch off the battery master switch before changing wheels on the tag axle.

Never go under a vehicle which is only lifted by a jack. To obtain maximum safety when working under a raised vehicle, both the chassis and moving axle suspensions must be secured from falling. There is a great risk of personal injury by crushing.

Never go under an air-suspended vehicle that is not completely secured from falling in case there is a pressure change in the air bellows. There is a great risk of personal injury by crushing.

Removal

1. Engage a low gear and turn the key to the locked position. Place the drive mode selector in the neutral position for automatic gearbox.

Warning!

You must chock the vehicle’s wheels to prevent the vehicle from moving while working.

2. Chock in front of and behind the wheels that are to remain on the ground.

3. Release the parking brake for the wheel to be changed to ensure that wheel and brake drum lay against the hub when tightening.

4. Mark the rim’s position to the hub.

5. Slacken the wheel nuts without removing them.

6. Raise the vehicle.

 

Warning!

Make sure the jack stands firmly on level ground.

IMPORTANT!

Only position the jack at the specified lifting points. Placing in another position may cause serious damage to the vehicle.

7. Remove the wheel nuts and the wheel.

IMPORTANT!

Check-tighten the wheel nuts to 600 Nm after driving approx. 100 km.

Chock in front of and behind the wheels that are to remain on the ground.

Marking the rim’s position against the hub.

Fitting

1. Thoroughly clean the contact surfaces. Use a wire brush.
There are spacing rings on some rims. Also clean these.

NOTE!

Thick layers of paint, rust and dirt may cause the wheel nuts to come loose and the bolt holes in the rims and the brake drum to become oval.

2. Clean the threads of the wheel bolts.

NOTE!

Check that the parking brake is released for the axle being worked on.

3. Refit the wheel in the same position it had before removal. Check the marking.

4. Tighten the wheel nuts in the correct tightening sequence as shown in the illustration. Never use a nut runner of the flywheel type. The nuts must be torque tightened to 600 Nm.

IMPORTANT!

A Scania workshop must tighten the wheel nuts to the correct torque. A torque that is too high or low may cause the wheel to come loose or the brake drum to become oval.

5. Lower the vehicle and remove the wheel chocks.

Parts that must be cleaned before fitting

Tightening sequence for tightening the wheel nuts

Scania recommends drawing a line over the wheel studs and wheel nuts to detect any deviations more easily. Use a marker pen. If a wheel nut deviates, remove the wheel nut completely and refit it again.

IMPORTANT!

Check-tighten the wheel nuts to 600 Nm after driving approx. 100 km.

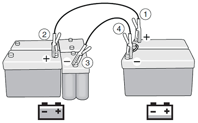
Jump start

WARNING!

Do not stand close to the batteries when using starter cables. A battery can explode with extensive damage as a consequence.

Do not connect batteries together in an environment where there are flammable gases or fluids such as petrol and ethanol.

Follow the instructions exactly to prevent  personal injury or material damage.

IMPORTANT!

The side panels of the front grille panel must be open when tilting the cab.

If the vehicle’s batteries are discharged and do not have enough current to start the engine, you can connect them to other batteries.

Both systems must have the same battery voltage, that is to say 24 V.

Use thick starter cables (at least 25 mm²) with insulated clamps.   

Preparations:

  • Start the engine in the vehicle that has charged batteries.

Proceed as follows (option 1):

  1. Connect to the service battery’s positive pole (+) in the vehicle with low battery voltage.
  2. Connect to the battery’s positive pole (+) in the vehicle with the fully charged battery.
  3. Connect to the battery’s negative pole (-) in the vehicle with the fully charged battery.
  4. Connect to the service battery’s negative pole (-) in the vehicle with low battery voltage. This final cable can cause a spark when connected.
  5. Start the engine in the vehicle with low battery voltage. Do not stand close to the batteries.
  6. When the engine has started, first disconnect the cable from the battery’s minus pole (-) in the vehicle with low battery voltage and thereafter the other cables.
  7. If the engine does not start. Disconnect the cables according to step 6 and repeat all points but with one exception. At step 1, connect to the battery’s plus pole (+) on the inner battery in the vehicle with low battery voltage.

Proceed as follows when the vehicle is giving start assistance:

  1. Connect to the battery’s positive pole (+) in the vehicle with low
    battery voltage.
  2. Connect to the service battery’s positive pole (+) in the vehicle with the fully charged battery.
  3. Connect to the service battery’s negative pole (-) in the vehicle with the fully charged battery.
  4. Connect to the battery’s negative pole (-) in the vehicle with low battery voltage. This final cable can cause a spark when connected.
  5. Start the engine in the vehicle with low battery voltage. Do not stand close to the batteries.
  6. When the engine has started, first disconnect the cable from the battery’s minus pole (-) in the vehicle with low battery voltage and thereafter the other cables.

NOTE!

If the protective paint on the frame gets damaged, it must be touched-up immediately.

IMPORTANT!

Advice when the engine is difficult to start:
The starter motor is blocked automatically after 35 seconds. 
Run the starter motor for max. 30 seconds. If the engine  does not start the first time: turn the starter key back to the radio position and wait approximately 30 seconds to allow the starter motor to recover.
If the engine has not started after 2 attempts, the starter motor must rest for at least 5 minutes before 2 new attempts are made.   Investigate if something else is faulty, for example a fault in the fuel system. 

Wet Kit

Adjusting the pressure in the hydraulic system

The pressure in the hydraulic system can be set to 150 or 220 bar with 2 fixed positions. Check which pressure is required for the hydraulic equipment to be connected to the system and set the pressure with the rotary control. The rotary control clicks to the end positions and must not be set in an intermediate position.

IMPORTANT!

Always check that the set system pressure does not  exceed the maximum stated pressure for  the hydraulic equipment before connecting  to avoid damage to the equipment.

Set the pressure in the hydraulic system using the rotary control.

EG power take-off

The gearbox driven power take-off, EG, transfers power from the gearbox to external equipment.  It is fitted on the gearbox and is driven by the gearbox’s layshaft and is normally not engaged. Before you activate the EG power take-off, the starter key must be in the drive position and the air pressure above 5 bar.

The bodybuilder can select other requirements to apply.

IMPORTANT!

After driving, run the engine at idling for about 1 minute before shutting it down. Otherwise there is a risk of the turbocharger being damaged.

The vehicle might be equipped with several power take-offs.

You can control the engine speed to the EG power take-off by pressing + or - on the cruise control switch.

IMPORTANT!

When you use the high-speed EG power take-off, the vehicle should be standing as level as possible. It may stand on a downhill slope only for short running periods.

For gearboxes with splitter gear, 2 different speeds can be given to the power take-off with the same engine speed, depending on whether low or high split is engaged when the gearbox is in neutral position.  

The split mode is changed manually using the auxiliary brake lever by  moving the lever towards you or away from you. 

When the EG power take-off is engaged, all gear changing is blocked while  driving. However, you can change gear while stationary  If  the vehicle  is  driven away  with  a  EG power take-off  activated ,  a  message  is displayed in the  instrument cluster.

Engaging

IMPORTANT!

Only engage and disengage the power take-off when it is unloaded. Only change gear when the power take-off is unloaded, otherwise the gearbox may be damaged.

  1. Make sure the vehicle is stationary.
  2. Depress the clutch pedal, if the engine is running or engage neutral.
  3. Press the switch.
  4. Wait until the power take-off symbol appears in the instrument cluster.
  5. Slowly release the clutch (manual gearbox), if the engine is running.

NOTE!

If no symbol is displayed after 10 seconds, slowly release the clutch so that the gears end up in the correct position. Do not press the switch again.

IMPORTANT!

If there is abnormal noise from the automatic gearbox, immediately press  the switch. The power take-off is then disengaged  automatically.

NOTE!

If the power take-off symbol (automatic gearbox)  has not come on in the instrument cluster after 20 to 30 seconds, repeat steps 3 and 4.

Disengaging

  1. Depress the clutch pedal, if the engine is running, or engage neutral.
  2. Press the power take-off switch.
  3. Wait until the power take-off symbol goes out.
  4. Slowly release the clutch (manual gearbox), if the engine is running.

EG power take-off switch

EK power take-off

The power take-off is an external shaft journal for transferring power from the engine to external accessories. The EK power take-off is fitted between the engine and gearbox and is driven by the engine. Normally, the power take-off is not engaged.

You can control the engine speed to the EK power take-off by pressing + or - on the cruise control switch.

IMPORTANT!

The engine must be shut down before engaging the  power take-off.

Engaging

  1. Switch off the engine.
  2. Put the gear into neutral.
  3. Set the key to drive position.
  4. Activate the switch.
  5. Start the engine.

Disengaging

  1. Make sure the power take-off is not loaded.
  2. Deactivate the switch.

EK power take-off switch

ED power take-off

The power take-off transfers power from the engine to external accessories. The ED power take-off is driven directly by the timing gear and rotates when the engine has been started. The switch activates the hydraulics and gives pressure out to the system.

The bodybuilder can select other requirements to apply.

You can control the engine speed to the ED power take-off by pressing + or - on the cruise control switch.

Engaging

  • Activate the switch.

Disengaging

  • Deactivate the switch.

ED power take-off switch

EXT switch

The EXT switch is a safety function which makes it possible to control some of the vehicle’s functions from outside of the vehicle. The functions you can control depend on the vehicle’s equipment and the logics that have been created in the vehicle’s bodywork system. 

When you press the EXT switch, the EXT symbol lights in the instrument cluster.

The EXT switch. Activate the switch when you  need to control some of the vehicle’s functions from  outside of the vehicle.