Auszüge aus dem Fahrerhandbuch

Auf den nachstehenden Registerkarten finden Sie Auszüge aus dem Fahrerhandbuch des Fahrzeugs, die möglicherweise hilfreich für den Aufbauhersteller sind. 

HINWEIS! Die Angaben können je nach Fahrzeugspezifikation variieren.

Das Fahrerhandbuch ist auch für Mobilgeräte mit Android und iOS erhältlich.

Um das Fahrerhandbuch herunterzuladen, unten auf Ihrem Gerät den Link anklicken

Berganfahrhilfe

WICHTIG!

Berganfahrhilfe nicht bei winterlichen Straßenverhältnissen verwenden, da die Gefahr des Wegrutschens mit blockierten Rädern besteht.

Die Berganfahrhilfe erleichtert das Anfahren an Steigungen.

Anwendung der Berganfahrhilfe:

  • Fahrzeug starten
  • Schalter drücken, der bei aktivierter Berganfahrhilfe leuchtet.
  • Beim Betätigen des Bremspedals ist ein Klicken zu hören. Danach bleibt der Bremsdruck erhalten, sodass der Fuß vom Bremspedal genommen werden kann. Je stärker das Bremspedal betätigt wird, desto höher ist die Wirkung der Berganfahrhilfe.

Die Berganfahrhilfe ist verfügbar, bis die Funktion über den Schalter deaktiviert wird. Ist die Funktion beim Abstellen des Fahrzeugmotors aktiviert, wird die Berganfahrhilfe beim nächsten Starten des Fahrzeugs aktiviert.

HINWEIS!

Die Berganfahrhilfe wird nicht aktiviert, wenn der Bremsdruck zu niedrig ist oder am Ende eines Bremsvorgangs das ABS aktiv war.

Berganfahrhilfe-Schalter

WARNUNG!

Vor dem Verlassen des Fahrerbereichs immer die Feststellbremse betätigen.

Die Berganfahrhilfe löst sich nach einigen Sekunden, wenn die Pedale komplett losgelassen werden, und das Fahrzeug kann in Bewegung geraten. Bevor sich die Berganfahrhilfe löst, ist ein Warnton zu hören, und es erscheint ein Warnhinweis auf dem Display.

Die Berganfahrhilfe löst sich umgehend, wenn ein Gang eingelegt, die Bremse gelöst und leicht Gas gegeben wird.

Automatische Notbremsfunktion

Das AEB ist ein erweitertes Notbremssystem, das über eine vorwärtsgerichtete Kamera und einen Abstandssensor die Gefahr von Auffahrunfällen reduziert.

WARNUNG!

Das AEB stellt lediglich eine Hilfe dar. Es passt sich nicht selbst den Fahr- oder Wetterverhältnissen an. Der Fahrer ist zu jeder Zeit dafür verantwortlich, das Fahrzeug sicher zu führen.
Manipulationen am Geschwindigkeitssignal des Fahrzeugs können zu Störungen und falschem Auslösen des AEB führen. 

HINWEIS!

Die vorwärtsgerichtete Kamera muss nach dem Austausch der Windschutzscheibe kalibriert werden.

Kollisionswarnung

Wenn das AEB eine Kollisionsgefahr erkennt, wird das System in drei Stufen aktiviert:

  1. Eine rote Warnung wird mit einem akustischen Signal im Kombiinstrument angezeigt.
  2. Reagiert der Fahrer bei fortbestehender Gefahr nicht, bremst das AEB das Fahrzeug leicht.
  3. Bleibt bei weiter fortbestehender Gefahr eine zusätzliche Reaktion aus, bremst das AEB das Fahrzeug mit voller Kraft.

Der Fahrer kann die Warnung bzw. den Bremsvorgang jederzeit auf folgende Weisen abbrechen:

  • Drücken des AEB-Schalters auf der Instrumententafel
  • Deutliches und schnelles Betätigen des Fahrpedals
  • Betätigen des Fahrpedals bis zur Kickdown-Stellung

Zu einem frühen Zeitpunkt kann der Fahrer die Warnung auch wie folgt abbrechen:

  • Betätigen des Bremspedals
  • Aktivieren der Blinkleuchten

Der Fahrer kann zu jedem Zeitpunkt durch Betätigen des Bremspedals die Kontrolle über den Bremsvorgang übernehmen. Dadurch wird die Warnung und die automatische Bremsung abgebrochen. Je kritischer die Situation, desto kräftiger muss das Bremspedal betätigt werden.

Wenn die Abstandsregelung aktiviert ist, kann sie
eine Kollisionswarnung ausgeben und versuchen, die Situation vor dem AEB zu entschärfen.

Nach einer Vollbremsung des Fahrzeugs bis zum Stillstand halten die Bremsen das Fahrzeug noch für einige Sekunden, um jegliche weitere Bewegung zu vermeiden. Die Bremsen werden gelöst, wenn der Fahrer das Brems- oder Fahrpedal betätigt.

Symbol für Kollisionsgefahr

Aktivierung und Verfügbarkeit

Das AEB wird automatisch bei Einschalten der Spannung aktiviert. Die Lampe im Schalter leuchtet grün.

Über den Schalter kann das AEB deaktiviert werden. Die Lampe im Schalter leuchtet gelb. Der Schalter ist federbelastet und dient auch zum Zurücksetzen des AEB.

Das AEB ist verfügbar, wenn:

  • die Geschwindigkeit 15 km/h überschreitet

Das AEB kann begrenzt oder deaktiviert werden, wenn:

  • der Abstandssensor verdeckt oder defekt ist
  • die Kamera verdeckt oder defekt ist
  • ein Fehler im Bremssystem des Fahrzeugs oder Anhängers vorliegt
  • die Luftfederung des Fahrzeugs weit außerhalb der normalen
    Fahreinstellung eingestellt ist
  • das Fahrzeug bei Dunkelheit gefahren wird

Schalter für das AEB (Notbremsfunktion)

Wenn das AEB eingeschränkt ist, wird ein gelbes Symbol zusammen mit einer Nachricht im Kombiinstrument angezeigt. 

Im Display können folgende Nachrichten erscheinen:

Systemfehler

  • Das AEB ist durch einen Fehler des Abstandssensors deaktiviert worden.

Eingeschränkte Funktion

  • Das AEB ist eingeschränkt, aber teilweise aktiv. Das AEB bremst oder warnt möglicherweise nicht rechtzeitig vor einer Gefahr. 

Symbol für eingeschränktes AEB

Wenn Abstandssensor oder Kamera z. B. durch Verschmutzungen, Schnee oder Eis verdeckt sind, wird das entsprechende Symbol zusammen mit einer Nachricht im Kombiinstrument angezeigt.

Wird das Problem nicht behoben, wird die AEB-Funktion deaktiviert oder eingeschränkt.

Ist die Kamera verdeckt, kann ein Betätigen der Scheibenwischer ausreichen. Achten Sie darauf, Schmutz, Schnee und Eis zu entfernen.

  1. Verdeckter Abstandssensor
  2. Verdeckte Kamera

WARNUNG!

Das AEB ist lediglich eine Hilfe und kann unter bestimmten Verkehrsbedingungen Schwierigkeiten dabei haben, Fahrzeuge und deren Position korrekt zu erkennen. Das AEB kann eine Kollisionsgefahr übersehen oder ohne tatsächlich bestehende Kollisionsgefahr aktiviert werden.

Unterschiedliche Verkehrsbedingungen

In Kurvenfahrten kann es für das AEB schwierig sein, den Straßenverlauf zu erkennen. Das AEB kann daher fälschlicherweise vor Fahrzeugen warnen oder nicht warnen.

Kurven

Bei Auf- oder Abfahrten und sich auf dem Seitenstreifen bewegenden Fahrzeugen, kann es für das AEB schwierig sein, vorausfahrende Fahrzeuge zu erkennen.

In Auf- oder Abfahrten und auf dem Seitenstreifen

Wechselt ein Fahrzeug direkt vor Ihnen auf Ihre Fahrspur, kann das AEB es erst erkennen, wenn es in die Erkennungszone gelangt. 

Fahrspurwechsel

Instrumente für Fahrzeuginformationen

Kombiinstrument

  1. Geschwindigkeitsmesser
  2. Blinkleuchte
  3. Anzeigen
  4. Allgemeine Warn- und Anzeigesymbole
  5. Drehzahlmesser
  6. Kraftstoffstandanzeige
  7. Anzeigeleuchten und Warnsymbole
  8. Motorkühlmittel-Temperaturanzeige
  9. Display rechts, zeigt Reduktionsmittelstand, Außentemperatur und Uhrzeit an.

Drehzahlmesser

Der Drehzahlmesser zeigt die Motordrehzahl in Umdrehungen pro Minute (U/min) an.

Die Anzeigeskala besteht aus 4 Bereichen:

  • Weiß, 0-2.000 U/min und 2.200-2.400 U/min.
  • Blau, 2.000-2.400 U/min. Hier wirkt die Zusatzbremse des Motors
    am stärksten.
  • Rot, über 2.400 U/min. Steigt die Motordrehzahl in das rote Feld, besteht die Gefahr von Motorschäden.

Kombiinstrument

Anzeige und Symbole

Weitere Informationen über Anzeigen, allgemeine Warn- und Anzeigesymbole sowie spezielle Aufbausymbole sind in folgenden Dokumenten zu finden: 

Fahrerhauskippmechanismus

WARNUNG!

Beim Fahren muss das Pumpenventil in Absenkstellung stehen. Andernfalls kann das Fahrerhaus durch die Hydraulik nach oben gepumpt werden, was Schäden zur Folge haben kann.

Vor dem Kippen des Fahrerhauses Motor abschalten, Feststellbremse betätigen und Schalthebel in Neutralstellung legen.

Nicht unter dem Fahrerhaus arbeiten, wenn es sich in der Zwischenposition befindet. Fahrerhaus immer vollständig kippen.

Während des Kippvorgangs ist der Aufenthalt vor und hinter dem Fahrerhaus verboten.

Das Fahrzeug muss beim Kippen des Fahrerhauses auf ebenem Untergrund stehen. Kabine keinesfalls kippen, wenn das Fahrzeug auf einer Neigung von mehr als 10 % steht.

Fahrerhauskippvorrichtung

Wurde das Fahrerhaus korrekt abgesenkt, wird es durch 2 mechanische Verriegelungen arretiert, die zum Kippen hydraulisch geöffnet werden.   

Kippen des Fahrerhauses (Hebel)

WICHTIG!

Die Seitenverkleidungen des vorderen Kühlergrills müssen beim Kippen des Fahrerhauses offen sein.

  1. Feststellbremse betätigen.
  2. Getriebe in Leerlauf schalten.
  3. Alle losen Gegenstände und schweren Ausrüstungsgegenstände aus dem Fahrerhaus entfernen.
  4. Türen schließen.
  5. Pumpenventil auf Kippposition stellen. Adapter oder Hebel verwenden.
  6. Adapter auf den Pumpenstift setzen. Hebel auf den Adapter setzen.
  7. Mit Hilfe des Hebels pumpen. Die Fahrerhausverriegelung öffnet sich automatisch.
  8. Pumpen, bis das Fahrerhaus durch sein eigenes Gewicht nach vorne kippt. Weiter pumpen, bis ein Gegendruck im Hebel spürbar wird und das Fahrerhaus den vollen Öffnungswinkel erreicht hat.
  1. Fahrerhaus-Kipppumpe
  2. Pumpenventil

Pumpenventil zum Kippen und Absenken des Fahrerhauses einstellen. Die obere Abbildung zeigt die Ventilposition beim Kippen. Die untere Abbildung zeigt die Ventilposition beim Absenken. Hebel oder Adapter zum Einstellen des Pumpenventils auf die richtige Position verwenden.

Zurückkippen des Fahrerhauses (Hebel)

WARNUNG!

Beim Absenken des Fahrerhauses besteht Quetschgefahr. Das Fahrerhaus fällt in der letzten Absenkphase ungebremst nach unten in seine Normalstellung.

  1. Türen schließen.
  2. Pumpenventil in die Position zum Zurückkippen des Fahrerhauses bringen.
  3. Fahrerhaus mit dem Hebel zurückpumpen, bis es
    in die Bewegungszone der Fahrstellung fällt.

Pumpenventil in Absenkstellung lassen.

Kippen des Fahrerhauses (elektronisch)

WICHTIG!

Die Seitenverkleidungen des vorderen Kühlergrills müssen beim Kippen des Fahrerhauses offen sein.

  1. Feststellbremse betätigen.
  2. Getriebe in Leerlauf schalten.
  3. Schalter für das Kippen des Fahrerhauses drücken.
  4. Alle losen Gegenstände und schweren Ausrüstungsgegenstände aus dem Fahrerhaus entfernen.
  5. Türen schließen.
  6. Oberen vorderen Kühlergrill und dessen Seitenverkleidung öffnen. 
  7. Fernbedienung zum Kippen des Fahrerhauses herausnehmen. Die Fernbedienung befindet sich unter dem Kühlergrill. Aktivierungsschalter auf der Fernbedienungsrückseite und Schalter zum Kippen gleichzeitig drücken und halten, bis das Fahrerhaus durch sein eigenes Gewicht nach vorne gekippt ist. Aktivierungs- und Kippschalter weiter gedrückt halten, bis das Fahrerhaus den vollen Öffnungswinkel erreicht hat.  

Schalter für das Kippen des Fahrerhauses

HINWEIS!

Sicherstellen, dass keine unbefugten Personen Zugriff auf die Fernbedienung zum Kippen des Fahrerhauses erhalten.

Zurückkippen des Fahrerhauses (elektronisch)

WARNUNG!

Beim Absenken des Fahrerhauses besteht Quetschgefahr. Das Fahrerhaus fällt in der letzten Absenkphase ungebremst nach unten in seine Normalstellung.

Fernbedienung zum Kippen des Fahrerhauses

  1. Türen schließen.
  2. Fernbedienung zum Kippen des Fahrerhauses herausnehmen. Die Fernbedienung befindet sich unter dem Kühlergrill. Aktivierungsschalter auf der Fernbedienungsrückseite und Schalter zum Absenken gleichzeitig drücken und halten, bis das Fahrerhaus durch sein eigenes Gewicht in die Bewegungszone der Fahrstellung fällt.
  3. Schalter für das Kippen des Fahrerhauses zurücksetzen.
  4. Seitenverkleidungen des Kühlergrills und oberen Kühlergrill schließen.

Radwechsel

Warnung!

Vor dem Radwechsel an der Nachlaufachse die Spannungsversorgung unterbrechen und den Batterie-Hauptschalter ausschalten.

Nie unter ein Fahrzeug begeben, das nur mit einem Heber abgestützt ist. Für maximale Sicherheit bei Arbeiten unter einem angehobenen Fahrzeug müssen das Fahrgestell und die beweglichen Achsfederungen unbedingt gegen Herabfallen gesichert werden. Es besteht eine erhebliche Verletzungsgefahr durch Einquetschen.

Kriechen Sie nie unter ein luftgefedertes Fahrzeug, das nicht umfassend gegen Herabfallen bei Druckänderungen in den Luftfederbälgen gesichert ist. Es besteht eine erhebliche Verletzungsgefahr durch Einquetschen.

Demontage

1. Einen niedrigen Gang einlegen und den Schlüssel in die Position LOCK drehen. Bei einem Automatikgetriebe die Fahrmodus-Wählvorrichtung in die Neutralstellung schalten.

Warnung!

Unbedingt die Fahrzeugräder verkeilen, um Rollbewegungen des Fahrzeugs während der Arbeiten zu verhindern.

2. Die am Boden aufstehenden Räder von vorn und hinten verkeilen.

3. Die Feststellbremse des zu wechselnden Rads lösen, um sicherzustellen, dass Rad und Bremstrommel beim Festziehen einwandfrei an der Nabe anliegen.

4. Die Position der Felge an der Nabe markieren.

5. Die Radmuttern lockern, jedoch nicht abnehmen.

6. Das Fahrzeug anheben.

 

Warnung!

Sicherstellen, dass die Heber fest auf einer ebenen Standfläche stehen.

WICHTIG!

Die Heber nur an den vorgesehenen Hubpunkten unterstellen. Durch Unterstellen an einer anderen Stelle können schwere Schäden am Fahrzeug entstehen.

7. Die Radmuttern und das Rad abnehmen.

WICHTIG!

Ziehen Sie die Radmuttern nach ca. 100 km Fahrt auf 600 Nm an.

Die am Boden aufstehenden Räder von vorn und hinten verkeilen.

Die Position der Felge zur Nabe markieren.

Montage

1. Die Kontaktflächen gewissenhaft reinigen. Eine Drahtbürste verwenden.
An manchen Felgen sind Distanzringe vorhanden, die ebenfalls zu reinigen sind.

HINWEIS!

Dicke Lack-, Rost- oder Schmutzschichten können bewirken, dass sich die Radmuttern lockern und die Schraubenlöcher in Felgen und Bremstrommel unrund werden.

2. Die Gewinde der Radschrauben reinigen.

HINWEIS!

Sicherstellen, dass die Feststellbremse für die Achse, an der die Arbeiten vorgenommen werden, gelöst ist.

3. Das Rad wieder in derselben Position wie vor dem Ausbau montieren. Die Markierung überprüfen.

4. Die Radmuttern wie in der Abbildung gezeigt in der vorgeschriebenen Anzugsreihenfolge festziehen. Auf keinen Fall einen Schwungrad-Schlagschrauber verwenden. Die Muttern müssen mit einem Drehmoment von 600 Nm angezogen werden.

WICHTIG!

Eine Scania Werkstatt muss die Radmuttern dann mit dem vorgeschriebenen Drehmoment festziehen. Ein zu hohes oder zu niedriges Drehmoment kann bewirken, dass sich das Rad lockert oder die Bremstrommel unrund wird.

5. Das Fahrzeug absenken und die Unterlegkeile entfernen.

Bauteile, die vor der Montage gereinigt werden müssen

Anzugsreihenfolge beim Festziehen der Radmuttern

Scania empfiehlt, einen Strich über die Radbolzen und Radmuttern zu ziehen, um leichter mögliche Abweichungen zu erkennen. Einen Markerstift verwenden. Wenn eine Radmutter abweicht, die Radmutter komplett abschrauben und wieder anschrauben.

WICHTIG!

Nach ca. 100 km Fahrt die Radmuttern auf 600 Nm nachziehen.

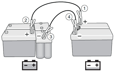
Starthilfe

WARNUNG!

Nicht in der Nähe der Batterien stehen, wenn Anlasserkabel verwendet werden. Batterien können explodieren und umfangreiche Schäden verursachen.

Batterien nicht in Umgebungen mit brennbaren Gasen und Flüssigkeiten wie Benzin und Ethanol zusammenschließen.

Anweisungen genau befolgen, um Verletzungen und Materialschäden zu vermeiden.

WICHTIG!

Die Seitenverkleidungen des vorderen Kühlergrills müssen beim Kippen des Fahrerhauses offen sein.

Sollten die Batterien des Fahrzeugs entladen und somit ein Starten des Fahrzeugs nicht möglich sein, können externe Batterien angeschlossen werden.

Beide Systeme müssen über die gleiche Batteriespannung, also 24 V, verfügen.

Anlasserkabel mit großem Querschnitt (mindestens 25 mm²) und isolierten Klemmen verwenden.   

Vorbereitungen:

  • Motor des Fahrzeugs mit geladenen Batterien starten.

Wie folgt vorgehen (Alternative 1):

  1. Mit dem Pluspol (+) der Verbraucherbatterie im Fahrzeug mit schwacher Batterieladung verbinden.
  2. Mit dem Pluspol (+) der Batterie im Fahrzeug mit voller Batterieladung verbinden.
  3. Mit dem Minuspol (-) der Batterie im Fahrzeug mit voller Batterieladung verbinden.
  4. Mit dem Minuspol (-) der Verbraucherbatterie im Fahrzeug mit schwacher Batterieladung verbinden. Dieses letzte Kabel kann beim Anschluss einen Funken verursachen.
  5. Motor des Fahrzeugs mit schwacher Batterieladung starten. Nicht in der Nähe der Batterien stehen.
  6. Nach dem Starten des Motors zuerst das Kabel vom Minuspol (-) der Batterie im Fahrzeug mit schwacher Batterieladung lösen, und danach die anderen Kabel.
  7. Wenn der Motor nicht startet. Kabel entsprechend Schritt 6 lösen und alle Schritte, jedoch mit einer Ausnahme, wiederholen. Bei Schritt 1: Mit dem Pluspol (+) der inneren Batterie im Fahrzeug mit schwacher Batterieladung verbinden.

Fahren Sie wie folgt fort, wenn das Fahrzeug Starthilfe gibt:

  1. Mit dem Pluspol (+) der Batterie im Fahrzeug mit schwacher
    Batterieladung verbinden.
  2. Mit dem Pluspol (+) der Verbraucherbatterie im Fahrzeug mit voller Batterieladung verbinden.
  3. Mit dem Minuspol (-) der Verbraucherbatterie im Fahrzeug mit voller Batterieladung verbinden.
  4. Mit dem Minuspol (-) der Batterie im Fahrzeug mit schwacher Batterieladung verbinden. Dieses letzte Kabel kann beim Anschluss einen Funken verursachen.
  5. Motor des Fahrzeugs mit schwacher Batterieladung starten. Nicht in der Nähe der Batterien stehen.
  6. Nach dem Starten des Motors zuerst das Kabel vom Minuspol (-) der Batterie im Fahrzeug mit schwacher Batterieladung lösen, und danach die anderen Kabel.

HINWEIS!

Sollte der Schutzlack am Rahmen beschädigt werden, ist er unverzüglich auszubessern.

WICHTIG!

Empfehlung bei Startschwierigkeiten des Motors:
Der Anlasser wird nach 35 Sekunden automatisch blockiert. 
Den Anlasser max. 30 Sekunden laufen lassen. Springt der Motor nicht beim ersten Mal an, Zündschlüssel zurück in die ACC-Position drehen und etwa 30 Sekunden warten, um dem Anlasser eine Ruhephase zu gewähren.
Springt der Motor nach 2 Versuchen nicht an, muss der Anlasser vor weiteren max. 2 Versuchen mindestens 5 Minuten ruhen. Auf andere mögliche Fehler z. B. im Kraftstoffsystem prüfen. 

Hydraulikkit

Einstellen des Hydrauliksystemdrucks

Der Druck im Hydrauliksystem kann mit 2 Fixpositionen auf 150 oder 220 bar eingestellt werden. Den für die anzuschließende Hydraulikausrüstung erforderlichen Druck ermitteln und über den Drehgriff einstellen. Der Drehgriff muss in die entsprechenden Endpositionen einrasten, darf also nicht in eine Mittelposition gestellt werden.

WICHTIG!

Vor dem Verbinden immer kontrollieren, dass der eingestellte Systemdruck nicht den maximal zulässigen Druck der Hydraulikausrüstung überschreitet, um Schäden an der Ausrüstung zu vermeiden.

Druck im Hydrauliksystem über den Drehgriff einstellen.

EG-Nebenantrieb

Der über das Getriebe angeschlossene EG-Nebenantrieb überträgt Kraft vom Getriebe an externe Zubehörteile. Er ist auf das Getriebe aufgesetzt, wird über die Vorgelegewelle des Getriebes angetrieben und ist im Normalfall nicht eingekuppelt. Vor Aktivierung des EG-Nebenantriebs muss sich der Schlüssel in Fahrstellung befinden und der Druck mehr als 5 bar betragen.

Der Aufbauhersteller kann weitere Anforderungen stellen.

WICHTIG!

Nach dem Betrieb den Motor für etwa 1 Minute im Leerlauf weiterlaufen lassen, bevor er abgestellt wird. Andernfalls besteht die Gefahr, dass der Turbolader beschädigt wird.

Das Fahrzeug kann mit mehreren Nebenantrieben ausgestattet sein.

Die Motordrehzahl zum EG-Nebenantrieb kann durch Drücken von + oder - auf dem Schalter der Geschwindigkeitsregelung gesteuert werden.

WICHTIG!

Bei Verwenden des schnellen EG-Nebenantriebs sollte das Fahrzeug möglichst waagerecht stehen. Es darf nur kurzzeitig an einer abschüssigen Stelle stehen.

Ein Split-Getriebe kann den Nebenantrieb bei gleicher Motordrehzahl mit 2 Geschwindigkeiten versorgen, je nachdem, ob eine hohe oder niedrige Übersetzung gewählt wird, während sich das Getriebe in Neutralstellung befindet.  

Der Split-Modus kann manuell durch Bewegen des Zusatzbremshebels zum Körper hin bzw. vom Körper weg gewechselt werden. 

Bei eingekuppeltem EG-Nebenantrieb ist jegliches Wechseln des Ganges beim Fahren blockiert. Stehenderweise ist ein Gangwechsel jedoch möglich. Wird das Fahrzeug mit aktiviertem EG-Nebenantrieb gefahren, erscheint eine Nachricht im Kombiinstrument.

Einkuppeln

WICHTIG!

Ein- und Auskuppeln des Nebenantriebs nur im lastfreien Zustand. Nur schalten, wenn der Nebenantrieb unbelastet ist, um Schäden am Getriebe zu vermeiden.

  1. Sicherstellen, dass das Fahrzeug stillsteht.
  2. Kupplungspedal betätigen, wenn der Motor läuft, oder Neutral einstellen.
  3. Schalter drücken.
  4. Warten, bis das Symbol für den Nebenantrieb im Kombiinstrument erscheint.
  5. Kupplung langsam kommen lassen (manuelles Getriebe), wenn der Motor läuft.

HINWEIS!

Erscheint nach 10 Sekunden kein Symbol, Kupplung leicht kommen lassen, sodass die Zahnräder in die richtige Position kommen. Schalter nicht erneut drücken.

WICHTIG!

Bei anormalen Geräuschen aus dem Automatikgetriebe unmittelbar den Schalter drücken. Der Nebenantrieb wird dann automatisch ausgekuppelt.

HINWEIS!

Erscheint das Nebenantrieb-Symbol (Automatikgetriebe) nach 20 bis 30 Sekunden nicht im Kombiinstrument, Schritte 3 und 4 wiederholen.

Auskuppeln

  1. Kupplungspedal betätigen, wenn der Motor läuft, oder Neutral einstellen.
  2. Nebenantrieb-Schalter drücken.
  3. Warten, bis das Nebenantrieb-Symbol im Kombiinstrument erlischt.
  4. Kupplung langsam kommen lassen (manuelles Getriebe), wenn der Motor läuft.

EG-Nebenantrieb-Schalter

EK-Nebenantrieb

Der Nebenantrieb ist ein externer Wellenzapfen zur Kraftübertragung vom Motor an externe Zubehörteile. Der EK-Nebenantrieb ist zwischen Motor und Getriebe geschaltet und wird vom Motor angetrieben. Im Normalfall ist der Nebenantrieb nicht eingekuppelt.

Die Motordrehzahl zum EK-Nebenantrieb kann durch Drücken von + oder - auf dem Schalter der Geschwindigkeitsregelung gesteuert werden.

WICHTIG!

Der Motor muss vor dem Einkuppeln des Nebenantriebs abgestellt werden.

Einkuppeln

  1. Den Motor abstellen.
  2. Schalthebel auf Neutral stellen.
  3. Schlüssel in Fahrposition stellen.
  4. Schalter aktivieren.
  5. Motor starten.

Auskuppeln

  1. Sicherstellen, dass der Nebenantrieb lastfrei ist.
  2. Schalter deaktivieren.

EK-Nebenantrieb-Schalter

ED-Nebenantrieb

Der Nebenantrieb überträgt Kraft vom Motor an externe Zubehörteile. Der ED-Nebenantrieb wird direkt über die Motorsteuerung betrieben und läuft, sobald der Motor gestartet wurde. Über den Schalter wird die Hydraulik aktiviert und das System unter Druck gesetzt.

Der Aufbauhersteller kann weitere Anforderungen stellen.

Die Motordrehzahl zum ED-Nebenantrieb kann durch Drücken von + oder - auf dem Schalter der Geschwindigkeitsregelung gesteuert werden.

Einkuppeln

  • Schalter aktivieren.

Auskuppeln

  • Schalter deaktivieren.

Schalter ED-Nebenantrieb

EXT-Schalter

Der EXT-Schalter ist eine Sicherheitsfunktion und ermöglicht die Steuerung einiger Fahrzeugfunktionen von außen. Welche Funktionen steuerbar sind, hängt von der Fahrzeugausrüstung und den im Aufbausystem des Fahrzeugs hinterlegten Logiken ab. 

Durch Drücken des EXT-Schalters leuchtet das EXT-Symbol im Kombiinstrument auf.

Der EXT-Schalter. Den Schalter aktivieren, wenn bestimmte Fahrzeugfunktionen von außen gesteuert werden sollen.