Výtahy z příručky řidiče

Na níže uvedených kartách najdete pasáže z příručky řidiče vozidla, které mohou být pro výrobce nástavby užitečné. 

POZNÁMKA! Informace se mohou lišit podle specifikací vozidla.

Příručka řidiče vozidla je k dispozici také pro telefony s operačním systémem Android a iOS:

Kliknutím na následující odkaz stáhnete ve svém zařízení příručku pro řidiče

Asistent rozjezdu do kopce

DŮLEŽITÉ!

Nepoužívejte asistenta rozjezdu do kopce na namrzlých nebo zasněžených vozovkách, neboť by vozidlo mohlo dostat smyk se zablokovanými koly.

Asistenta rozjezdu do kopce používejte k usnadnění rozjezdu do kopce.

Používání asistenta rozjezdu do kopce:

  • Zapněte napájení vozidla
  • Stiskněte spínač, který svítí během aktivace asistenta rozjezdu do kopce.
  • Když sešlápnete brzdový pedál, uslyšíte cvaknutí a poté bude brzdný tlak udržován, takže můžete uvolnit brzdový pedál. Čím více budete brzdový pedál sešlapovat, tím více bude asistent rozjezdu do kopce držet.

Asistent rozjezdu do kopce bude k dispozici, dokud funkci nevypnete pomocí spínače. Pokud byla tato funkce aktivována během vypínání vozidla, pak se asistent rozjezdu do kopce aktivuje při dalším nastartování vozidla.

POZNÁMKA!

Asistent rozjezdu do kopce nebude aktivován, pokud je brzdný tlak příliš nízký, nebo pokud byla funkce ABS aktivní na konci použití brzd.

Spínač asistenta rozjezdu do kopce

VÝSTRAHA!

Před opuštěním prostoru řidiče vždy použijte parkovací brzdu.

Asistent rozjezdu do kopce se uvolní několik sekund poté, co zcela uvolníte pedály a vozidlo se může začít pohybovat. Před uvolněním asistenta rozjezdu do kopce uslyšíte výstražný signál a na displeji se zobrazí výstražný text.

Asistent rozjezdu do kopce se přímo uvolní, pokud zařadíte, uvolníte brzdy a lehce zrychlíte.

Automatické nouzové brzdění

AEB je systém pokročilého nouzového brzdění, který pomocí čelní kamery a snímače vzdálenosti může snížit následky kolize s vozidly vepředu.

VÝSTRAHA!

AEB je jen pomůcka. Systém AEB se nedokáže přizpůsobit jízdním podmínkám ani počasí. Za řízení vozidla bezpečným způsobem vždy odpovídá výhradně sám řidič.
Manipulace se signálem rychlosti vozidla může způsobit závadu AEB nebo jeho nesprávnou aktivaci. 

POZNÁMKA!

Čelní kameru je nutné vždy po výměně čelního skla kalibrovat.

Výstraha kolize

Pokud systém AEB detekuje nebezpečí kolize, aktivuje se ve třech krocích:

  1. Na panelu přístrojů se zobrazí červené varování s akustickým signálem.
  2. Pokud řidič nereaguje a nebezpečí přetrvává, AEB zlehka přibrzdí vozidlo.
  3. Pokud nedojde k žádné odezvě a nebezpečí přetrvává, AEB zabrzdí vozidlo plnou silou.

Řidič může varování nebo brzdění vždy zrušit:

  • Stisknutím spínače AEB v přístrojové desce
  • Výrazným a rychlým sešlápnutím plynového pedálu
  • Sešlápnutím plynového pedálu do pozice kickdown

V rané fázi může řidič výstrahu také zrušit:

  • Sešlápnutím brzdového pedálu
  • Aktivací směrových světel

Řidič může vždy převzít kontrolu nad použitím brzd sešlápnutím brzdového pedálu. Tím se výstraha a automatické brzdění zruší. Čím více je situace kritická, tím silněji je nutné brzdový pedál sešlápnout.

Pokud je aktivovaný adaptivní tempomat, může vydat
výstrahu kolize a pokusit se o zmírnění situace před výstrahou AEB.

Poté, co vozidlo plnou silou zabrzdilo a zastavilo se, brzdy na několik sekund vozidlo přidrží, aby se nehýbalo. Brzdy se uvolní, pokud řidič sešlápne brzdový nebo plynový pedál.

Symbol pro nebezpečí kolize

Aktivace a dostupnost

Systém AEB se automaticky aktivuje při zapnutí napětí. Kontrolka na spínači se rozsvítí zeleně.

AEB lze deaktivovat pomocí tohoto spínače. Kontrolka ve spínači se rozsvítí žlutě. Spínač je typ spínače s pružinou a stejný spínač resetuje AEB.

AEB je k dispozici pokud:

  • Rychlost vozidla překročila 15 km/h

Funkce AEB může být omezená nebo deaktivovaná, pokud:

  • Snímač vzdálenosti je zablokovaný nebo má závadu
  • Kamera je zablokovaná nebo má závadu
  • Brzdový systém vozidla nebo přívěsu má závadu
  • Vzduchové pérování vozidla je nastavené na hodnotu nezvykle převyšující normální
    pozici pro jízdu
  • Vozidlo jede ve tmě

Spínač pro AEB, pokročilé nouzové brzdění

Pokud je funkce AEB omezená, na panelu přístrojů se zobrazí žlutý symbol spolu se zprávou. 

Na displeji mohou být následující zprávy:

Chyba v systému

  • AEB je deaktivován kvůli závadě snímače vzdálenosti.

Snížená funkčnost

  • Funkce AEB je omezená a je stále částečně aktivní. AEB nemusí brzdit nebo varovat před kolizí včas. 

Symbol pro omezenou funkci AEB

Pokud jsou snímač vzdálenosti nebo kamera zablokované, například špínou, sněhem nebo ledem, na panelu přístrojů se objeví odpovídající symbol spolu se zprávou.

Pokud problém nebude napraven, funkce AEB se deaktivuje nebo se omezí.

Pokud dojde k zablokování kamery, může stačit zapnout stěrače čelního okna. Udržujte čelní sklo čisté, beze špíny, sněhu nebo ledu.

  1. Blokovaný snímač vzdálenosti
  2. Zablokovaná kamera

VÝSTRAHA!

Systém AEB je jen pomůcka a v určitých dopravních situacích může mít obtíže s identifikací nebo lokalizací vozidel. Funkce AEB někdy některé riziko nezachytí nebo se někdy aktivuje i v případě, že žádná kolize nehrozí.

Různé dopravní situace

Při jízdě do nebo ze zatáček může být pro AEB obtížné identifikovat blížící se vozovku. Funkce AEB tak nemusí varovat před vozidly na vozovce nebo naopak zbytečně varovat před vozidly na kraji silnice.

Zatáčky

Na výjezdech, objezdech nebo při pohybu vozidel po krajnicích může být pro funkci AEB obtížné identifikovat vozidla vepředu.

Na výjezdech, objezdech a na krajnicích

Vozidlo, které vás těsně předjede, nemusí být systémem AEB identifikováno, dokud se nedostane do identifikační zóny. 

Změna pruhu

Přístroje pro informace o vozidle

Přístrojový panel

  1. Rychloměr
  2. Směrová světla
  3. Displej
  4. Obecné výstražné symboly a symboly ukazatelů
  5. Otáčkoměr
  6. Palivoměr
  7. Kontrolky a výstražné symboly
  8. Ukazatel chladicí kapaliny motoru
  9. Displej vpravo zobrazuje hladinu redukčního činidla, venkovní teplotu a hodiny.

Otáčkoměr

Otáčkoměr zobrazuje počet otáček motoru v otáčkách za minutu – ot/min.

Tento ukazatel má 4 pole:

  • Bílé: 0–2 000 ot/min a 2 200–2 400 ot/min.
  • Modré: 2 000–2 400 ot/min. Zde je pomocná brzda motoru
    nejúčinnější.
  • Červené: nad 2 400 ot/min. Když se otáčky motoru dostanou do červeného pole, hrozí poškození motoru.

Přístrojový panel

Displej a symboly

Více informací o displeji, obecná varování, symboly upozornění a symboly nástavby najdete v následujících dokumentech: 

Sklápění kabiny

VÝSTRAHA!

Za jízdy musí být ventil čerpadla v pozici pro spouštění. Hydraulický systém by jinak mohl naklonit kabinu a způsobit poškození.

Před sklopením kabiny musíte vypnout motor, použít parkovací brzdu a řadicí páku zařadit do polohy neutrálu.

Nikdy nepracujte pod kabinou, pokud je ve střední poloze. Kabinu vždy sklápějte na maximum.

Během sklápění nevcházejte před nebo za kabinu.

Během sklápění kabiny by vozidlo mělo stát na rovině. Nikdy nesklápějte kabinu, pokud vozidlo stojí na kopci se sklonem vyšším než 10 %.

Zařízení sklápění kabiny

Při správném snížení se kabina zajistí pomocí 2 mechanických zámků, které se otevírají hydraulicky při sklápění.   

Sklápění kabiny (tyč sklápění kabiny)

DŮLEŽITÉ!

Boční panel čelní masky musí být při sklápění kabiny otevřený.

  1. Použijte parkovací brzdu.
  2. Umístěte řadicí páku do polohy neutrálu.
  3. Odstraňte všechny uvolněné předměty a těžkou výbavu z kabiny.
  4. Zavřete dveře.
  5. Nastavte ventil čerpadla do pozice pro sklápění. Použijte adaptér nebo tyč sklápění kabiny.
  6. Adaptér namontujte na ložiskový čep čerpadla. Tyč sklápění kabiny sestavte s adaptérem.
  7. Pumpujte pomocí tyče sklápění kabiny a zámek kabiny se automaticky otevře.
  8. Pumpujte, dokud se kabina vlastní vahou nesklopí směrem dopředu. Pokračujte v pumpování, dokud v páce čerpadla neucítíte protitlak a kabina nedosáhne zcela otevřeného úhlu.
  1. Čerpadlo sklápění kabiny
  2. Ventil čerpadla

Nastavení ventilu čerpadla pro sklápění nebo spuštění kabiny. Horní obrázek ukazuje polohu ventilu při sklápění. Dolní obrázek ukazuje polohu ventilu při spouštění. Pomocí tyče sklápění nebo adaptéru nastavte ventil čerpadla do správné polohy.

Zaklopení kabiny (tyč sklápění)

VÝSTRAHA!

Sklopením kabiny by mohlo dojít ke zranění rozdrcením. V poslední fázi spouštění do původní pozice kabina volně padá.

  1. Zavřete dveře.
  2. Umístěte ventil čerpadla do polohy pro zaklopení kabiny.
  3. Pumpováním pomocí tyče sklápění kabiny sklopte kabinu zpět, dokud kabina nezapadne
    zpět do zóny pohybu pozice jízdy.

Ventil čerpadla nechte v pozici pro spuštění.

Sklápění kabiny (elektronické)

DŮLEŽITÉ!

Boční panel čelní masky musí být při sklápění kabiny otevřený.

  1. Použijte parkovací brzdu.
  2. Umístěte řadicí páku do polohy neutrálu.
  3. Stiskněte spínač sklápění kabiny.
  4. Odstraňte všechny uvolněné předměty a těžkou výbavu z kabiny.
  5. Zavřete dveře.
  6. Otevřete horní čelní masku a boční panely čelní masky. 
  7. Vyjměte dálkové ovládání pro sklápění kabiny. Dálkové ovládání se nachází pod čelní maskou. Přidržte aktivační tlačítko na zadní části dálkového ovládání, stiskněte tlačítko sklápění a držte je stisknuté, dokud se kabina nepřeklopí dopředu vlastní vahou. Dále držte tlačítka pro aktivaci a sklápění stisknutá, dokud kabina nedosáhne svého zcela otevřeného úhlu.  

Spínač sklápění kabiny

POZNÁMKA!

Zkontrolujte, že k dálkovému ovládání pro sklápění kabiny nemá přístup žádná neoprávněná osoba.

Zaklopení kabiny (elektronické)

VÝSTRAHA!

Sklopením kabiny by mohlo dojít ke zranění rozdrcením. V poslední fázi spouštění do původní pozice kabina volně padá.

Dálkové ovládání pro zaklopení kabiny

  1. Zavřete dveře.
  2. Vyjměte dálkové ovládání pro sklápění kabiny. Dálkové ovládání se nachází pod čelní maskou. Přidržte aktivační tlačítko na zadní části dálkového ovládání, stiskněte tlačítko spouštění a držte je stisknuté, dokud kabina nespadne nazpět do zóny pohybu polohy jízdy.
  3. Resetujte spínač sklápění kabiny.
  4. Zavřete boční panely čelní masky a horní čelní masku.

Výměna kola

Výstraha!

Před výměnou kol na vlečené nápravě vypněte napětí a odpojovač akumulátorů.

Nikdy nevstupujte pod vozidlo, které je podepřené pouze zvedákem. Pro zajištění maximální bezpečnosti při práci pod zdvihnutým vozidlem musí být jak podvozek, tak i pérování nápravy zajištěny proti pádu. Hrozí významné riziko úrazu částí těla rozdrcením.

V případě změny tlaku ve vzduchovém měchu nikdy nevstupujte pod vozidlo se vzduchovým odpružením, které není zcela zajištěno proti pádu. Hrozí významné riziko úrazu částí těla rozdrcením.

Demontáž

1. Zařaďte nízký rychlostní stupeň a otočte klíčem do zamčené pozice. V případě automatické převodovky nastavte volič režimu jízdy do polohy neutrálu.

Výstraha!

Musíte podložit kola vozidla, aby nedošlo k pohybu vozidla při práci.

2. Podložte zepředu i zezadu kola, která mají zůstat na zemi.

3. Uvolněte parkovací brzdu kola, které chcete měnit, aby kolo a brzdový buben při utahování dosedaly na náboj.

4. Označte si pozici ráfku vůči náboji.

5. Povolte kolové matice, aniž byste je přitom demontovali.

6. Zdvihněte vozidlo.

 

Výstraha!

Zajistěte, aby zvedák stál pevně na rovném podkladu.

DŮLEŽITÉ!

Zvedák umístěte pouze do uvedených zvedacích bodů. V jiné pozici může dojít k vážnému poškození vozidla.

7. Demontujte kolové matice a kolo.

DŮLEŽITÉ!

Po ujetí cca 100 km zkontrolujte utažení matic kol na 600 Nm.

Podložte zepředu i zezadu kola, která mají zůstat na zemi.

Označte si pozici ráfku vůči náboji.

Montáž

1. Důkladně očistěte kontaktní plochy. Použijte drátěný kartáč.
Některé ráfky mají vymezovací kroužky. Ty je rovněž potřeba očistit.

POZNÁMKA!

Silné vrstvy barvy, rzi nebo nečistoty mohou způsobit uvolnění kolových matic a dále oválný tvar otvorů pro šrouby v ráfcích a v brzdovém bubnu.

2. Očistěte závit kolových šroubů.

POZNÁMKA!

Zkontrolujte, zda je parkovací brzda nápravy, na které pracujete, odjištěna.

3. Znovu upevněte kolo ve stejné pozici, v níž bylo před demontáží. Zkontrolujte označení.

4. Utáhněte kolové matice ve správném utahovacím pořadí dle náčrtu. Nikdy nepoužívejte maticový utahovák setrvačníkového typu. Matice musí být utaženy momentem 600 Nm.

DŮLEŽITÉ!

Servis společnosti Scania musí kolové matice utáhnout správným točivým momentem. Příliš vysoký nebo nízký točivý moment může způsobit uvolnění kola nebo nežádoucí oválný tvar brzdového bubnu.

5. Spusťte vozidlo a odstraňte zakládací klíny.

Díly, které je před upevněním nutné očistit

Postup utahování kolových matic

Scania doporučujte nakreslit čáru nad svorníky kola a kolovými maticemi, abyste snáze zjistili případné odchylky. Použijte k tomu účelu permanentní fix. Pokud se kolová matice odchýlí od své původní polohy, zcela ji odšroubujte a znovu přišroubujte.

DŮLEŽITÉ!

Po ujetí přibližně 100 km zkontrolujte a utáhněte kolové matice na 600 Nm.

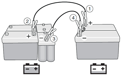
Nouzový start

VÝSTRAHA!

Při používání startovacích kabelů nestůjte v blízkosti akumulátorů. Akumulátor by mohl explodovat a způsobit rozsáhlé škody.

V prostředí, kde se vyskytují hořlavé plyny nebo kapaliny, jako je benzín nebo etanol, nikdy akumulátory nepřipojujte.

Postupujte přesně podle pokynů, aby nedošlo ke zranění osob nebo k materiálním škodám.

DŮLEŽITÉ!

Boční panel čelní masky musí být při sklápění kabiny otevřený.

Pokud jsou akumulátory vozidla vybité a není k dispozici dostatek proudu k nastartování motoru, můžete je připojit k jiným akumulátorům.

Oba systémy musí mít stejné napětí baterie, které je 24 V.

Používejte silné kabely startéru (alespoň 25 mm²) s izolovanými svorkami.   

Přípravy:

  • Nastartujte motor ve vozidle, které má nabité akumulátory.

Postupujte následovně (možnost 1):

  1. Proveďte připojení ke kladnému pólu servisního akumulátoru (+) ve vozidle s nízkým napětím akumulátoru.
  2. Proveďte připojení ke kladnému pólu akumulátoru (+) ve vozidle s plně nabitým akumulátorem.
  3. Proveďte připojení k zápornému pólu akumulátoru (-) ve vozidle s plně nabitým akumulátorem.
  4. Proveďte připojení k zápornému pólu servisního akumulátoru (-) ve vozidle s nízkým napětím akumulátoru. Tento koncový kabel by mohl při připojení způsobit elektrickou jiskru.
  5. Nastartujte motor ve vozidle, které má nízké napětí akumulátoru. Nestůjte v blízkosti akumulátorů.
  6. Po nastartování motoru nejprve odpojte kabel od minusového pólu akumulátoru (-) ve vozidle s nízkým napětím akumulátoru a poté ostatní kabely.
  7. Pokud motor nestartujte. Odpojte kabely podle kroku 6 a opakujte všechny body až na jeden. Jako krok 1 proveďte připojení ke kladnému pólu akumulátoru (+) na vnitřním akumulátoru ve vozidle s nízkým napětím akumulátoru.

Když vozidlo poskytuje pomoc se startováním, postupujte následovně:

  1. Proveďte připojení ke kladnému pólu akumulátoru (+) ve vozidle s nízkým
    napětím akumulátoru.
  2. Proveďte připojení ke kladnému pólu servisního akumulátoru (+) ve vozidle s plně nabitým akumulátorem.
  3. Proveďte připojení k zápornému pólu servisního akumulátoru (-) ve vozidle s plně nabitým akumulátorem.
  4. Proveďte připojení k zápornému pólu akumulátoru (-) ve vozidle s nízkým napětím akumulátoru. Tento koncový kabel by mohl při připojení způsobit elektrickou jiskru.
  5. Nastartujte motor ve vozidle, které má nízké napětí akumulátoru. Nestůjte v blízkosti akumulátorů.
  6. Po nastartování motoru nejprve odpojte kabel od minusového pólu akumulátoru (-) ve vozidle s nízkým napětím akumulátoru a poté ostatní kabely.

POZNÁMKA!

Pokud se ochranný lak na rámu poškodí, je nutné jej okamžitě opravit.

DŮLEŽITÉ!

Rada při obtížném startování motoru:
Startér se po 35 sekundách automaticky zablokuje. 
Startér nechte běžet maximálně 30 sekund. Pokud se motor nenastartuje při prvním pokusu, otočte startovací klíč zpět do polohy rádia a vyčkejte asi 30 sekund, aby se startér zregeneroval.
Pokud se motor nenastartuje po 2 pokusech, pak musí motor startéru alespoň 5 minut odpočívat, než bude možné provést další 2 nové pokusy. Prozkoumejte, zda se někde nevyskytla závada, jako například porucha palivového systému. 

Sada pomocného náhonu

Seřízení tlaku v hydraulickém systému

Tlak v hydraulickém systém lze nastavit na 150 nebo 220 barů se 2 pevnými pozicemi. Zkontrolujte, který tlak je vyžadován pro hydraulickou výbavu, která se má připojovat k systému, a nastavte tlak pomocí otočného ovladače. Otočný ovladač se zacvakne do koncových pozic a nesmí se nastavovat do střední pozice.

DŮLEŽITÉ!

Před připojením vždy zkontrolujte, zda nastavený tlak v systému nepřekračuje maximální uvedený tlak na hydraulické výbavě, aby nedošlo k poškození vybavení.

Tlak v hydraulickém systému nastavujte pomocí otočného ovladače.

Pomocný náhon EG

Pomocný náhon poháněný převodovkou (EG) přenáší výstup z převodovky na externí zařízení. Pohon je namontován na převodovce a je poháněn mezilehlým hřídelem převodovky. Za běžných okolností není zapojen. Předtím, než aktivujete pomocný náhon EG, je nutné vložit klíč spínací skříňky do polohy jízdy s tlakem vzduchu nad 5 barů.

Výrobce nástavby může uvést další požadavky.

DŮLEŽITÉ!

Po jízdě nechejte motor před vypnutím běžet ve volnoběžných otáčkách po dobu cca 1 minuty. Jinak by mohlo dojít k poškození turbodmychadla.

Vozidlo také může být vybaveno několika pomocnými náhony.

Otáčky motoru do pomocného náhonu EG můžete ovládat stisknutím tlačítek + nebo - na spínači tempomatu.

DŮLEŽITÉ!

Když používáte vysokorychlostní pomocný náhon EG, mělo by vozidlo stát pokud možno na vodorovném povrchu. Na svažitém povrchu smí stát vždy jen po krátkou dobu.

U převodovek s přídavnou dělicí převodovkou lze pomocným náhonům přidělit 2 různé rychlosti se stejnými otáčkami motoru, podle toho, zda je zapojený nízký nebo vysoký převod přídavné dělicí převodovky, zatímco je převodovka v poloze neutrálu.  

Režim dělení můžete změnit ručně pomocí páčky pomocné brzdy, když s ní budete pohybovat směrem k sobě nebo od sebe. 

Když je pomocný náhon EG zapojený, změna převodů se při jízdě zablokuje. Převod lze nicméně změnit, zatímco vozidlo stojí. Pokud vozidlo odjede s aktivovaným pomocným náhonem EG, na panelu přístrojů se zobrazí zpráva.

Zapojení

DŮLEŽITÉ!

Pomocný náhon zapojujte a odpojujte, jen pokud je nezatížený. Převodový stupeň přeřazujte, jen pokud je pomocný náhon nezatížený, jinak by mohlo dojít k poškození převodovky.

  1. Zkontrolujte, že vozidlo stojí na místě.
  2. Pokud motor právě běží, sešlápněte pedál spojky nebo přeřaďte na neutrál.
  3. Stiskněte spínač.
  4. Počkejte, dokud se na panelu nástrojů neobjeví symbol pomocného náhonu.
  5. Pokud motor běží, pomalu uvolňujte spojku (manuální převodovka).

POZNÁMKA!

Pokud se po 10 sekundách neobjeví žádný symbol, pomalu uvolňujte spojku, aby převody mohly zapadnout do správných pozic. Spínač nestiskejte znovu.

DŮLEŽITÉ!

Pokud z automatické převodovky vychází neobvyklý zvuk, okamžitě stiskněte spínač. Pomocný náhon se poté automaticky odpojí.

POZNÁMKA!

Pokud se symbol pomocného náhonu (automatická převodovka) po 20 až 30 sekundách na panelu přístrojů neobjeví, opakujte kroky 3 a 4.

Odpojení

  1. Pokud motor právě běží, sešlápněte pedál spojky nebo přeřaďte na neutrál.
  2. Stiskněte spínač pomocného náhonu.
  3. Počkejte, dokud symbol pomocného náhonu nezhasne.
  4. Pokud motor běží, pomalu uvolňujte spojku (manuální převodovka).

Spínač pomocného náhonu EG

Pomocný náhon EK

Pomocný náhon je vnější čep hřídele pro přenos energie z motoru do vnějšího příslušenství. Pomocný náhon EK se montuje mezi motor a převodovku a je poháněn motorem. Pomocný náhon se normálně nezapojuje.

Otáčky motoru do pomocného náhonu EK můžete ovládat stisknutím tlačítek + nebo - na spínači tempomatu.

DŮLEŽITÉ!

Před zapojením pomocného náhonu je nutné vypnout motor.

Zapojení

  1. Vypněte motor.
  2. Přeřaďte na neutrál.
  3. Nastavte klíč do polohy jízdy.
  4. Aktivujte spínač.
  5. Nastartujte motor.

Odpojení

  1. Zkontrolujte, že pomocný náhon není zatížený.
  2. Deaktivujte spínač.

Spínač pomocného náhonu EK

Pomocný náhon ED

Pomocný náhon přenáší energii z motoru do vnějšího příslušenství. Pomocný náhon ED je hnán přímo pomocí rozvodů a otáčí se po nastartování motoru. Spínač aktivuje hydrauliku a dodává systému tlak.

Výrobce nástavby může uvést další požadavky.

Otáčky motoru do pomocného náhonu ED můžete ovládat stisknutím tlačítek + nebo - na spínači tempomatu.

Zapojení

  • Aktivujte spínač.

Odpojení

  • Deaktivujte spínač.

Spínač pomocného náhonu ED

Spínač EXT

Spínač EXT je bezpečnostní funkce, která umožňuje ovládání některých funkcí vozidla z vnějšku vozidla. Funkce, které můžete ovládat, závisí na výbavě vozidla a logikách, které byly vytvořeny v systému nástavby vozidla. 

Symbol EXT se po stisknutí spínače EXT rozsvítí na panelu přístrojů.

Spínač EXT. Aktivujte tento spínač, pokud potřebujete ovládat některé funkce vozidla mimo vozidlo.